GM Service Manual Online
For 1990-2009 cars only
Makes
🢒
Chevrolet
🢒
1998
🢒
Chevy P32 RV/Van Chassis
🢒 Cell 8(4 of 4)
Cell 8(4 of 4)
Cell 8(4 of 4)
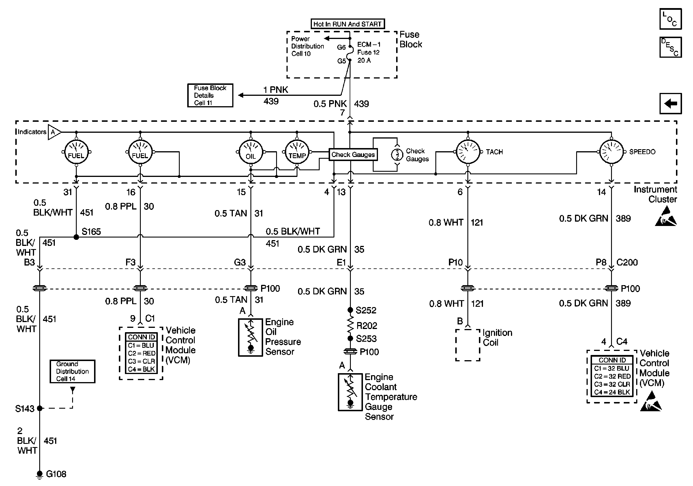
Instrument Cluster Components P32
Instrument Cluster Circuit Description
Cell 81(3 of 4)
Cell 10: Ignition Switch and Fuse Block
Cell 11: ECM-I fuse [L29]
Cell 81(1 of 4)
Handling ESD Sensitive Parts Notice
Cell 14: G108 [L29]
Handling ESD Sensitive Parts Notice