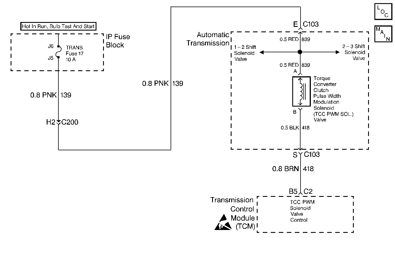
The Torque Converter Clutch Pulse Width Modulation Solenoid Valve (TCC PWM Sol. Valve) controls fluid acting on the converter clutch valve, which then controls TCC apply and release. The TCC PWM Sol. Valve attaches to the control valve body within the transmission. Ignition voltage goes directly to the TCC PWM Sol. Valve. The Transmission Control Module (TCM) controls the TCC PWM Sol. Valve by providing a ground path on circuit 418. The current flows through the TCC PWM Sol. Valve coil according to the duty cycle (percentage of ON time). The TCC PWM Sol. Valve provides a smooth engagement of the torque converter clutch by operating on a duty cycle percent of ON time.
If the TCM detects a continuous open or short to ground in the TCC PWM Sol. Valve circuit or the TCC PWM Sol. Valve, then DTC 83 sets.
| • | The TCM commands the solenoid ON and voltage remains high (B+) or the TCM commands the solenoid OFF and voltage remains low (zero volts). |
| • | All conditions met for 2 seconds. |
| • | The TCM does not illuminate the Malfunction Indicator Lamp (MIL). |
| • | The TCM will inhibit TCC operation. |
| • | The TCM will inhibit 4th gear operation if in hot mode. |
| • | DTC 83 is stored in TCM history. |
| • | The TCM clears the DTC from Current to History when the fault condition(s) no longer exist and the ignition switch is cycled OFF and then ON. |
| • | A scan tool can clear the DTC from Current and History status. The TCM clears the DTC from the TCM history if the vehicle completes 40 ignition cycles without a failure reported. |
| • | The TCM cancels the DTC default actions when the fault no longer exists and the ignition is cycled OFF and then ON. |
The fault condition(s) no longer exist and the ignition switch is cycled OFF long enough to power down the TCM, and then ON.
| • | Inspect the wiring at the TCM, the transmission connector and all other circuit connecting points for the following conditions: |
| - | A bent terminal |
| - | A backed out terminal |
| - | A damaged terminal |
| - | Poor terminal tension |
| - | A chafed wire |
| - | A broken wire inside the insulation |
| - | Moisture intrusion |
| - | Corrosion |
| • | When diagnosing for an intermittent short or open, massage the wiring harness while watching the test equipment for a change. |
| • | First diagnose and clear any engine DTCs or TP Sensor codes that are present. Then inspect for any transmission DTCs that may have reset. |
The numbers below refer to the step numbers on the diagnostic table.
This step tests for voltage to the TCC PWM Sol. Valve.
This step tests circuit 139 power and circuit 418 ground circuit to the TCM connector.
This step tests the resistance of the TCC PWM Sol. Valve and the A/T Wiring Harness Assy.
If the A/T Wiring Harness Assy. is open, do not repair the A/T Wiring Harness Assy. You must replace the Automatic Transmission Wiring Harness Assembly.
Step | Action | Value(s) | Yes | No | ||||
|---|---|---|---|---|---|---|---|---|
1 | Was the Powertrain On-Board Diagnostic (OBD) System Check performed? | -- | ||||||
2 |
Important:: Before clearing the DTC's, record the Current and History DTC's information for reference. The Clear Info function erases the stored Current and History DTC from the TCM. Is the fuse open? | -- | ||||||
3 | Inspect circuit 139, the TCC PWM Sol. Valve, the 1-2 SS Valve or the 2-3 SS Valve and the A/T Wiring Harness Assy. for a short to ground. Refer to General Electrical Diagnosis . Did you find and correct the condition? | -- | Go to Diagnostic Aids | |||||
Is the test lamp on? | -- | |||||||
5 | Repair the open or high resistance located in ignition voltage feed circuit 139 to the TCC PWM Sol. Valve. Refer to Wiring Repairs . Is the repair complete? | -- | -- | |||||
Does the test lamp turn ON when you ground the TCC PWM Sol. Valve Circuit 418, and does the lamp turn OFF when you open the TCC PWM Sol. Valve Circuit 418? | -- | |||||||
7 | Inspect and repair circuit 418 for an open or short to ground. Refer to General Electrical Diagnosis . Did you find the condition? | -- | ||||||
Is the resistance within the specified values? | 10-15ohms | |||||||
9 | Measure the resistance between terminal E and ground, and terminal S and ground. Are both readings greater than the specified value? | 250 kohms | ||||||
10 |
Is the resistance within the specified values? | 10-15ohms | ||||||
11 | Replace the TCM. Refer to DTC 51 PROM Error TCM/PROM Replacement. Is the replacement complete? | -- | -- | |||||
Inspect the A/T Wiring Harness Assy. for an open circuit. Refer to General Electrical Diagnosis . Did you find the condition? | -- | -- | ||||||
13 |
Are both readings greater than the specified value? | 250 kohms | ||||||
14 | Inspect the A/T Wiring Harness Assy. for a short to ground. Refer to General Electrical Diagnosis . Did you find the condition? | -- | -- | |||||
15 | Replace the TCC PWM Sol. Valve. Refer to 4L80-E On-Vehicle Service. Is the replacement complete? | -- | -- | |||||
16 | Replace the Automatic Transmission Wiring Harness Assembly (A/T Wiring Harness Assy). Refer to 4L80-E On-Vehicle Service. Is the replacement complete? | -- | -- | |||||
17 | In order to verify your repair, perform the following procedure:
Is the TCC Duty Cycle and slip speed within the specified values? | 70% Duty Cycle (or more) + 10 - (- 10) RPM slip speed | System OK | Begin Diagnosis again. |