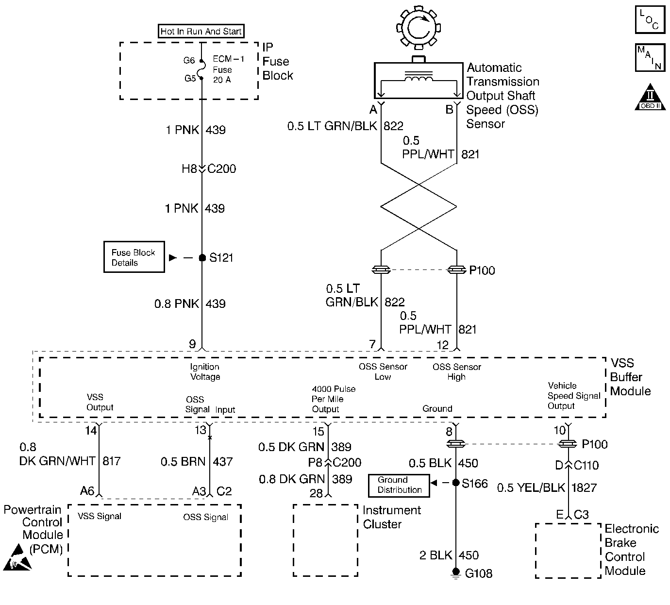
The speed sensor circuit consists of a magnetic induction type sensor, which is the Output Shaft Speed (OSS) Sensor, a Vehicle Speed Sensor (VSS) Buffer Module, and wiring. Gear teeth pressed onto the output shaft carrier assembly induce an alternating voltage into the sensor. This signal transmits to the VSS Buffer Module. The VSS Buffer Module compensates for various final drive ratios. The VSS Buffer Module also converts the AC OSS Sensor signal into a 40 pulse per revolution (PPR) 5-volt DC square wave form signal on circuit 437 to indicate transmission output speed.
When the Powertrain Control Module (PCM) detects a low output speed when the vehicle has a high engine speed in a drive gear range, then DTC P0722 sets. DTC P0722 is a type B DTC.
| • | No MAP DTCs P0106, P0107 or P0108. |
| • | No TFP Val. Position Sw. DTC P1810. |
| • | The APP Angle is greater than 10%. |
| • | The engine torque must be 108-642 N·m (80-475 lb ft). |
| • | Engine speed is greater than 475 RPM for 7 seconds. |
| • | The engine speed is less than 3800 RPM. |
| • | The A/T ISS Sensor speed is greater than 1500 RPM. |
| • | The transmission is not in Park or Neutral. |
| • | System voltage is 9.0-16.0 volts. |
| • | The OSS Sensor speed is less than 200 RPM for at least 3 seconds. |
| • | The PCM illuminates the Malfunction Indicator Lamp (MIL). |
| • | The PCM commands to maximum line pressure. |
| • | The PCM freezes shift adapts. |
| • | The PCM defaults to the calculated output speed value using the Input Shaft Speed Sensor values. |
| • | DTC P0722 is stored in PCM history. |
| • | The PCM turns OFF the MIL after three consecutive trips without a failure reported. |
| • | A scan tool can clear the DTC from the PCM history. The PCM clears the DTC from the PCM history if the vehicle completes 40 warm-up cycles without a failure reported. |
| • | The PCM cancels the DTC default actions when the fault no longer exists and the ignition is OFF long enough in order to power down the PCM. |
| • | Inspect the wiring at the PCM, the A/T OSS and the VSS Buffer Module connectors, and all other circuit connecting points for the following conditions: |
| - | A bent terminal |
| - | A backed out terminal |
| - | A damaged terminal |
| - | Poor terminal tension |
| - | A chafed wire |
| - | A broken wire inside the insulation |
| - | Moisture Intrusion |
| - | Corrosion |
| • | When diagnosing for an intermittent short or open, massage the wiring harness while watching the test equipment for a change. It may be necessary to drive the vehicle. |
| • | Inspect the Speed Sensor wiring for contact with sharp metal edges. |
The numbers below refer to the step numbers on the diagnostic table.
This step verifies the fault condition.
This step tests sensor integrity.
This step verifies power and ground to the VSS Buffer Module.
This step verifies the PCM input controlled by the Speed Buffer.
Step | Action | Value(s) | Yes | No | ||||
|---|---|---|---|---|---|---|---|---|
1 | Was the Powertrain On-Board Diagnostic (OBD) System Check performed? | -- | Go to A Powertrain On Board Diagnostic (OBD) System Check | |||||
Important: Before clearing the DTCs, use the scan tool in order to record the Freeze Frame and Failure Records for reference. Using the Clear Info function erases the stored Freeze Frame and Failure Records from the PCM. Does the Transmission OSS increase with the drive wheel speed? | -- | Cannot verify fault. Exit the DTC table and go to Diagnostic Aids | ||||||
Is the voltage greater than the specified value? | 2.0 volts AC at 2000 RPM | |||||||
4 |
Is the voltage greater than the specified value? | 2.0 volts AC at 2000 RPM | ||||||
5 |
Refer to General Electrical Diagnosis . Did you find the condition? | -- | ||||||
6 |
Refer to General Electrical Diagnosis . Did you find the condition? | -- | Refer to Diagnostic Aids | |||||
7 |
Is the voltage greater than the specified value? | 10.5 volts DC | ||||||
8 | Inspect the ignition feed circuit 39 for high resistance or an open. Refer to General Electrical Diagnosis . Did you find and correct the condition? | -- | -- | |||||
With the key to the RUN position, measure the voltage between terminals 8 and 9 of the VSS Buffer connector. Is the voltage greater than the specified value? | 10.5 volts DC | |||||||
10 | Inspect the VSS Buffer Module ground circuit 451 for high resistance or an open. Refer to General Electrical Diagnosis . Was the condition found and corrected? | -- | -- | |||||
11 | With the connector off of the Speed Buffer and the key in the RUN position, measure the voltage between terminal 13 of the VSS Buffer Harness Connector and a good ground. Is the voltage within the specified value? | 4.8-5.2 volts DC | ||||||
12 | Is the voltage in Step 11 greater than the specified voltage? | 5.2 volts DC | ||||||
13 | Inspect circuit 437 for continuity or short to ground. Refer to General Electrical Diagnosis . Did you find the condition? | -- | ||||||
14 | Inspect circuit 437 for a short to power. Refer to General Electrical Diagnosis . Did you find the condition? | -- | ||||||
Is the voltage within the specified values? | 1.5-3.5 volts DC | |||||||
16 |
Refer to Wiring Repairs . Did you correct the condition? | -- | -- | |||||
17 | Inspect the PCM for faulty or intermittent connections. Did you find the condition? | -- | ||||||
18 | Replace the OSS Sensor. Refer to Vehicle Speed Sensor Replacement . Is the replacement complete? | -- | -- | |||||
19 | Replace the VSS Buffer Module. Refer to Vehicle Speed Signal Buffer Replacement . Is the replacement complete? | -- | -- | |||||
20 | Replace the PCM. Refer to Powertrain Control Module Replacement/Programming . Is the replacement complete? | -- | -- | |||||
21 | In order to verify your repair, perform the following procedure:
Has the test run and passed? | -- | System OK |