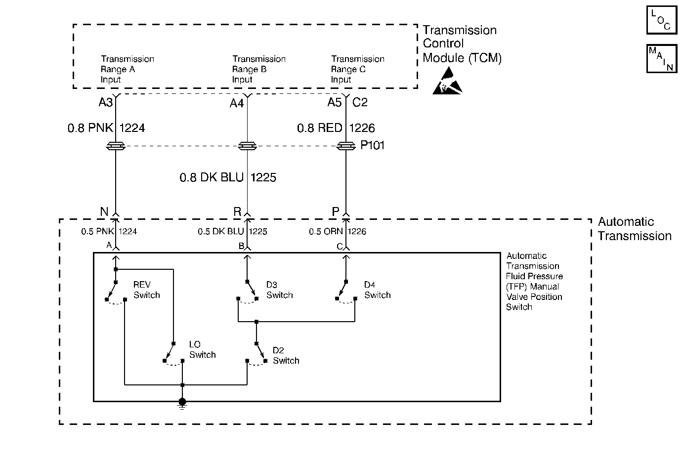
The Automatic Transmission Fluid Pressure Manual Valve Position Switch (TFP Val. Position Sw.) consists of five normally--open pressure switches. The Transmission Control Module (TCM) supplies battery voltage to each range signal. By grounding one or more of these circuits through various combinations of the pressure switches, the TCM detects what manual valve position has been selected and compares the actual voltage combination of the switches to a TFP Val. Position Sw. combination chart stored in memory.
The TFP Val. Position Sw. cannot distinguish between Park and Neutral because the monitored valve body pressures are identical in both cases. With the ignition ON and the engine OFF, D2 is indicated. When the transmission 20-way connector is disconnected, the ground potential for the three range signals to the TCM is removed, and with ignition ON, D2 is indicated.
If the TCM detects an illegal state of the TFP Val. Position Sw. circuit (range signals A and C are both ON), by deciphering the TFP Val. Position Sw. inputs, then DTC 28 sets.
DTC sets if the following condition occurs:
The TCM detects an illegal TFP Val. Position Sw. combination, (both A and C range signals are ON) for greater than 2 seconds.
| • | The TCM does not illuminate the MIL. |
| • | The TCM commands maximum line pressure. |
| • | The TCM assumes D4 for the PRNDL shift pattern. |
| • | The TCM inhibits TCC. |
| • | The TCM inhibits 4th gear if in hot mode. |
| • | DTC 28 is stored in TCM history. |
| • | A scan tool can clear the DTC from the TCM history. The TCM clears the DTC from the TCM history if the vehicle completes 40 ignition cycles without a failure reported. |
| • | The TCM cancels the DTC default actions when the fault no longer exists and the ignition is OFF long enough in order to power down the TCM. |
| • | Refer to the accompanying chart for the normal range signals and the illegal combinations. |
| • | Inspect the wiring at the TCM, the transmission connector and all other circuit connecting points for the following conditions: |
| - | A bent terminal |
| - | A backed out terminal |
| - | A damaged terminal |
| - | Poor terminal tension |
| - | A chafed wire |
| - | A broken wire inside the insulation |
| - | Moisture intrusion |
| - | Corrosion |
| • | When diagnosing for an intermittent short or open, massage the wiring harness while watching the test equipment for a change. |
| • | DTC 28 can be falsely set during a fluid fill procedure. After refilling the fluid, cycle key down then start and run the vehicle for 20 seconds. Key down and allow the TCM to power down, and then restart the vehicle. |
| • | DTC 28 can be set falsely by low pump pressure or a stuck pressure regulator. |
| • | First diagnose and clear any engine DTCs that are present. Then inspect for any transmission DTCs that may have reset. |
| • | Refer to the Range Signal Range Signal table. |
The numbers below refer to the step numbers on the diagnostic table.
This step tests the indicated range signal to the manual valve that is actually selected.
This step tests the voltage from the TCM to the transmission 20-way connector.
Step | Action | Value(s) | Yes | No | ||||||
|---|---|---|---|---|---|---|---|---|---|---|
1 | Was the Powertrain On-Board Diagnostic (OBD) System Check performed? | -- | ||||||||
2 |
Did you perform the inspections? | -- | Go to Transmission Fluid Check | |||||||
Important:: Before clearing the DTC's, use the Scan Tool in order to record the Failure Records for reference. Using the Clear Info function erases the stored Failure Records from the TCM. Does each selected transmission range match the Scan Tool TFP Switch A/B/C display? (Refer to the Range Signal table.) | -- | Go to Diagnostic Aids | ||||||||
Do all three circuits display B +? | -- | |||||||||
5 | Inspect the circuits that did not indicate B + in Step 4 for an open or short to ground condition. Refer to General Electrical Diagnosis . Did you find the condition? | -- | ||||||||
6 | To verify that circuits 1224, 1225 and 1226 are not shorted together, use a fused jumper to ground on each circuit while monitoring the Scan Tool TFP Switch display. When a range signal circuit is grounded, are the other range signal circuits affected? | -- | Refer to Transmission Fluid Pressure Manual Valve Position Switch Resistance Check | |||||||
7 | Replace the TCM. Refer to DTC 51 PROM Error TCM Replacement . Re-use the PROM (Mem-cal.) Is the replacement complete? | -- | -- | |||||||
8 | Repair the affected wiring as needed. Refer to Wiring Repairs . Is the repair complete? | -- | -- | |||||||
9 | In order to verify your repair, perform the following procedure:
Important:: Before performing this test be sure to apply vehicle parking brake.
Does each selected transmission range match the Scan Tool TFP Switch A/B/C display? (Refer to the Range Signal table.) | -- | System OK | Begin the diagnosis again. |