GM Service Manual Online
For 1990-2009 cars only

Purpose

The function of the fuel metering system is to deliver the correct amount of fuel to the engine under all operating conditions.

Fuel is delivered to the engine by individual fuel injectors mounted in the intake manifold near each cylinder.

Fuel Metering System Components

The fuel metering system consists of the following parts:

    • The fuel pump electrical circuit
    • The fuel supply components (fuel tank, pump, lines)
    • The fuel rail assembly which includes the following components:
       - The fuel injectors
       - The fuel pressure regulator
       - The electrical wiring harness
    • The manifold assembly which includes MAP sensor.
    • The throttle body assembly including the following items:
       - The Idle Air Control (IAC) valve assembly
       - The Throttle Position (TP) sensor

Fuel Supply Components

The fuel supply is stored in the fuel tank. An electric fuel pump, located in the fuel tank with the level sending unit, pumps fuel through an in-line fuel filter to the fuel rail assembly.

The pump provides fuel at a pressure greater than is needed by the injectors. The fuel pressure regulator keeps the fuel to the injectors at a regulated pressure. The unused fuel is returned to the fuel tank via a separate line.

Fuel Pump Electrical Circuit

When the ignition switch is turned to the ON position (before engaging the starter), the VCM energizes the fuel pump relay for 2 seconds causing the fuel pump to pressurize the fuel system. If the VCM does not receive the ignition reference pulses (engine cranking or running) within 2 seconds, the control module shuts off the fuel pump relay, causing the fuel pump to stop. The VCM will also turn the fuel pump ON for 2 seconds when the ignition switch is turned to the OFF position.

Fuel Rail Assembly


Object Number: 13123  Size: MH
(1)Fuel Rail Assembly
(2)Regulator Retainer Clip
(3)Fuel Pressure Regulator Assembly
(4)Back-up Ring
(5)Regulator Seal O-ring
(6)Regulator Filter
(7)Regulator Seal O-ring
(8)Fuel Injector Wiring Harness
(9)Wiring Harness Retainer Clip
(10)SFI Fuel Injector Retainer Clip
(11)SFI Fuel Injector Upper O-ring
(12)SFI Fuel Injector Assembly
(13)Back-up O-ring
(14)SFI Fuel Injector Lower O-ring
(15)Fuel Pressure Connection Cap
(16)Fuel Pressure Connection Core Assembly

The fuel rail assembly is made up of a single in-line composite rail which delivers fuel to the fuel injectors. Unused fuel returns to the fuel tank via the fuel pressure regulator assembly. The fuel rail is mounted to the lower section of the intake manifold and distributes fuel to the cylinders through the individual fuel injectors. Fuel is delivered from the fuel pump through the fuel feed line to the inlet fitting on the limited recirculation deadheaded fuel rail. From there it is directed to the main plastic supply conduit via an inlet tube. Fuel flows through the main conduit supplying fuel at the same pressure to each of the fuel injectors. Fuel in excess of injector needs, flows immediately back through the pressure regulator assembly via a bypass tube immediately located just pass the inlet fitting on the fuel rail. The pressure regulator assembly maintains correct system pressure. Fuel then flows from the pressure regulator through the fuel return line back to the fuel tank.

Fuel Injector Assembly


Object Number: 13106  Size: SH
(1)SFI Fuel Injector Retainer Clip
(2)SFI Fuel Injector Upper O-ring
(3)SFI Fuel Injector Assembly
(4)Back-up O-ring
(5)SFI Fuel Injector Lower O-ring

Caution: This composite fuel rail design utilizes a unique injector clip design. This clip design does not permit the rail and injector assembly to be pressurized with fuel pump pressure when the rail assembly is not secured in the engine manifold. Pressurizing the rail assembly without the injector secured in the engine manifold may cause high pressure fuel to bypass the upper injector O-ring seal resulting in a fuel leak.

Do Not apply fuel pressure to the fuel rail assembly unless the fuel rail assembly is properly secured in the engine manifold.

The fuel injector assembly is a solenoid-operated device, controlled by the VCM, that meters pressurized fuel to a single engine cylinder. The VCM energizes the injector solenoid, which opens a ball valve, allowing fuel to flow past the ball valve and through a recessed flow director plate. The director plate has machined holes that control the fuel flow, generating a conical spray pattern of finely atomized fuel at the injector tip. Fuel is directed at the intake valve, causing it to become further atomized and vaporized before entering the combustion chamber.

An injector that is stuck partly open would cause loss of pressure after engine shut down, so long cranking times would be noticed on some engines. Dieseling could also occur because some fuel could be delivered to the engine after the ignition is turned OFF.

Fuel Pressure Regulator Assembly


Object Number: 13105  Size: SH
(1)Regulator Retainer Clip
(2)Fuel Pressure Regulator Assembly
(3)Back-up Ring
(4)Regulator Seal O-ring
(5)Regulator Filter
(6)Regulator Seal O-ring

The fuel pressure regulator is a diaphragm-operated cartridge relief valve with the fuel pump pressure on one side and the regulator spring pressure and intake manifold vacuum on the other. A retainer holds the fuel pressure regulator.

The regulator's function is to maintain a constant pressure differential across the injectors at all times. The pressure regulator compensates for engine load by increasing the fuel pressure as engine vacuum drops.

With the ignition ON leaving the engine off (zero vacuum), the fuel pressure at the pressure test connection should be 379-427 kPa (55-62 psi). If the pressure is too low, poor performance could result. If the pressure is too high, excessive odor may result. The Fuel System Diagnosis has information on diagnosing fuel pressure conditions. Refer to Fuel System Diagnosis .

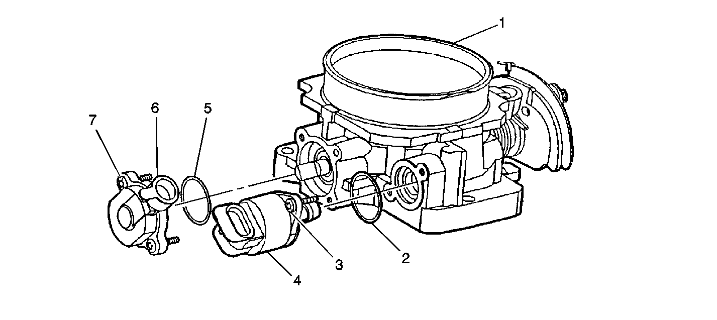
Throttle Body Assembly


Object Number: 13111  Size: SF
(1)Throttle Body Assembly
(2)IAC Valve Assembly O-ring
(3)IAC Valve Assembly Attaching Screw
(4)Idle Air Control (IAC) Valve Assembly
(5)TP Sensor O-ring
(6)Throttle Position (TP) Sensor
(7)TP Sensor Attaching Screw

The throttle body assembly is mounted on the intake manifold plenum, and is used to control air flow into the engine, thereby controlling engine output. The throttle valve within the throttle body is opened by the driver through the accelerator controls. During engine idle, the throttle valve is almost closed, and air flow control is handled by the Idle Air Control (IAC) valve.

The throttle body also provides the location for mounting the Throttle Position (TP) sensor and for sensing changes in engine vacuum due to throttle valve position. Vacuum ports are located at, above, or below the throttle valve to generate vacuum signals needed by various components.

Idle Air Control (IAC) Valve Assembly

The purpose of the IAC valve assembly is to control the engine idle speed while preventing engine stalls due to changes in the engine load.

The IAC valve, mounted in the throttle body assembly, controls the bypass air around the throttle valve. By moving a conical valve known as a pintle IN toward the seat (in order to decrease the air flow), or OUT away from the seat (in order to increase the air flow), a controlled amount of air moves around the throttle valve.

If the engine speed is too low, more air is bypassed around the throttle valve in order to increase the RPM. If the engine speed is too high, less air is bypassed around the throttle valve in order to decrease the RPM.

The VCM moves the IAC valve in small steps, called counts which can be measured by using a scan tool connected to the Data Link Connector (DLC).

During idle, the proper position of the IAC valve is calculated by the VCM. This position is based on the battery voltage, the engine coolant temperature, the engine load, and the engine RPM. If the RPM drops below specification and the throttle valve is closed, the VCM senses a near stall condition, and then the VCM calculates a new valve position in order to prevent stalling.

If the IAC valve is disconnected and reconnected while the engine is running, the resulting idle RPM may be wrong. This will require the resetting of the IAC valve.

After running the engine, the IAC valve will reset when the ignition is turned OFF. The IAC valve should only be disconnected or connected with the ignition OFF.

If the VCM is without battery power for any reason, the programmed position of the IAC valve pintle is lost. The control module replaces the lost position with a default value. In order to return the IAC valve pintle to the correct position, see the Idle Learn Procedure.

The IAC valve affects the idle characteristics of the vehicle. A fully retracted valve allows too much air into the manifold causing a high idle speed. A valve which is stuck closed allows too little air in the manifold, causing a low idle speed. If the valve is stuck part way open, the idle may be rough, and the idle will not respond to the engine load changes.

Throttle Position (TP) Sensor

The non-adjustable TP sensor is mounted on the throttle body assembly opposite the throttle lever. The TP sensor senses the throttle valve angle and relays that information to the VCM. Knowledge of throttle angle is one of the inputs needed by the VCM to generate the required injector control signals (pulses).