GM Service Manual Online
For 1990-2009 cars only
Figure 1:

Upper Control Arm and Components (Independent Suspension)


Object Number: 175324  Size: LF
(1)Upper Ball Joint
(2)Upper Ball Joint Rivet
(3)Upper Ball Joint Grease Fitting
(4)Upper Ball Joint Nut
(5)Cotter Pin
(6)Upper Control Arm Front Seal Grease Fitting
(7)Upper Control Arm Front Bushing
(8)Upper Control Arm Front Seal
(9)Upper Control Arm
(10)Upper Control Arm Pivot Shaft Nuts
(11)Upper Control Arm Rear Seal
(12)Upper Control Arm Rear Bushing
(13)Upper Control Arm Rear Seal Grease Fitting
(14)Upper Control Arm Pivot Shaft Spacer
(15)Shim Pack
(16)Upper Control Arm Frame Bracket
(17)Upper Control Arm Pivot Shaft Bolt
(18)Reinforcement to Frame Washer
(19)Reinforcement to Frame Bolt
(20)Reinforcement
(21)Frame Bracket Washer
(22)Frame bracket Nut
(23)Shim Pack
(24)Upper Control Arm Pivot Shaft Spacer
(25)Upper Control Arm Pivot Shaft
Figure 2:

Lower Control Arm and Components (Independent Suspension)


Object Number: 175323  Size: LF
(1)Bumper
(2)Steering Knuckle
(3)Coil Spring
(4)Air Cylinder
(5)Lower Ball Joint Nut
(6)Cotter Pin
(7)Lower Control Arm
(8)Lower Ball Joint
(9)Lower Ball Joint Grease Fitting
(10)Stabilizer Shaft to Lower Control Arm Clamp Nut
(11)Stabilizer Shaft Bushing
(12)Stabilizer Shaft to Lower Control Arm Clamp
(13)Stabilizer Shaft to Lower Control Arm Clamp Bolt
(14)Lower Control Arm Seal Grease Fitting
(15)Lower Control Arm Rear Bushing
(16)Pivot Shaft Seal
(17)Pivot Shaft U-bolts
(18)Lower Control Arm Pivot Shaft
(19)Pivot Shaft Brackets
(20)Pivot Shaft Seal
(21)Lower Control Arm Front Bushing
(22)Lower Control Arm Seal Grease Fitting
(23)Pivot Shaft Bracket Nut
(24)Pivot Shaft Bracket Rivet
(25)Pivot Shaft Bolt
(26)Pivot Shaft Nut
(27)Pivot Shaft
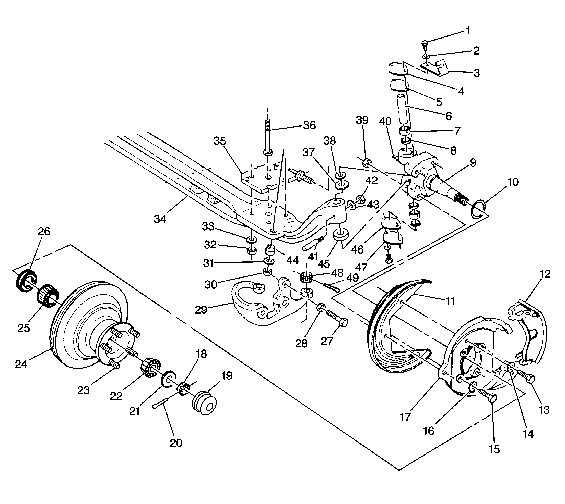
Figure 3:

Front Axle, Steering Knuckle, Hub, and Components (I-Beam Suspension)


Object Number: 175322  Size: LF
(1)Brake Hose Bracket Bolt
(2)Brake Hose Bracket Washer
(3)Brake Hose Bracket
(4)Steering Knuckle Cap
(5)Steering Knuckle Cap Gasket
(6)Steering Knuckle King Pin
(7)King Pin Bushing
(8)King Pin Spacer
(9)Steering Knuckle
(10)Steering Knuckle Spindle Gasket
(11)Splash Shield
(12)Brake Caliper
(13)Anchor Plate to Steering Knuckle Nut
(14)Anchor Plate to Steering Knuckle Washer
(15)Anchor Plate to Steering Knuckle Nut
(16)Anchor Plate to Steering Knuckle Nut
(17)Anchor Plate
(18)Hub/Rotor Nut
(19)Retainer Cap
(20)Cotter Pin
(21)Hub/Rotor Washer
(22)Outer Wheel Bearing
(23)Wheel Hub Bolt
(24)Wheel Hub/Rotor
(25)Inner Wheel Bearing
(26)Bearing Seal
(27)Steering Arm Bolt
(28)Steering Arm Bolt
(29)Steering Arm
(30)Stabilizer Shaft Link to Axle Nut
(31)Stabilizer Shaft Link to Axle Retainer
(32)Leaf Spring U-bolt Nut
(33)Leaf Spring U-bolt Washer
(34)Front Axle
(35)Spring Spacer
(36)Spring Spacer Bolt
(37)Steering Knuckle to Front Axle Shim
(38)Steering Knuckle to Front Axle Dust Seal
(39)Anchor Plate to Steering Knuckle Nut
(40)Grease Fitting
(41)Lock Pin
(42)Lock Pin Nut
(43)Lock Pin Washer
(44)Stabilizer Shaft Link Insulator
(45)Steering Knuckle to Front Axle Thrust Bearing
(46)Steering Knuckle Cap Gasket
(47)Steering Knuckle Cap
(48)Steering Arm Nut
(49)Cotter Pin
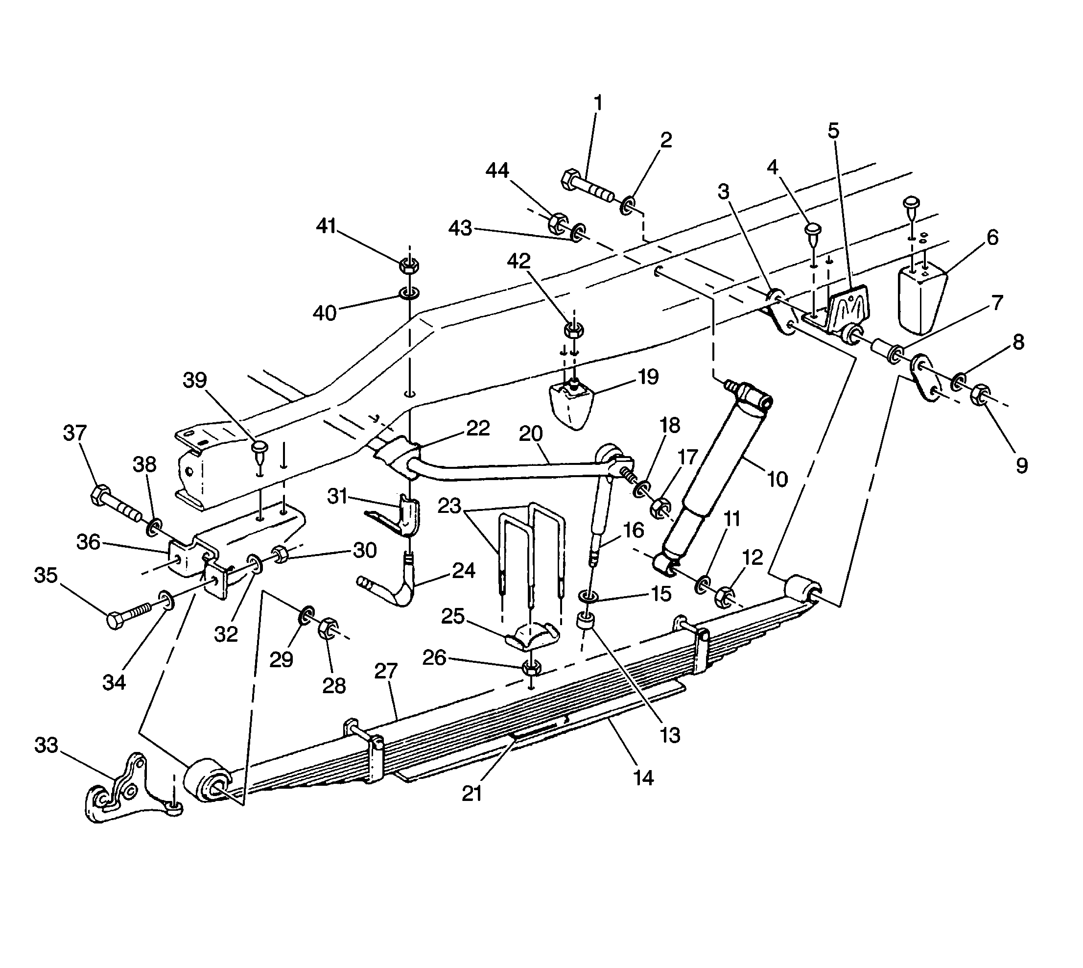
Figure 4:

Leaf Spring and Components (I-Beam Suspension)


Object Number: 175321  Size: LF
(1)Spring to Spring Hanger Bolt
(2)Spring to Spring Hanger Washer
(3)Spring Shackle
(4)Spring Hanger to Frame Rivet
(5)Spring Hanger
(6)Spring Stop
(7)Spring Hanger Bushing
(8)Spring to Spring Hanger Washer
(9)Spring to Spring Hanger Nut
(10)Shock Absorber
(11)Shock Absorber to Spring Spacer Washer
(12)Shock Absorber to Spring Spacer Nut
(13)Stabilizer Shaft Link Insulator
(14)Leaf Spring
(15)Stabilizer Shaft Link Retainer
(16)Stabilizer Shaft Link
(17)Stabilizer Shaft Link Nut
(18)Stabilizer Shaft Link Washer
(19)Bumper
(20)Stabilizer Shaft
(21)Spacer
(22)Stabilizer Shaft Insulator
(23)Leaf Spring to Axle U-bolts
(24)Stabilizer Shaft to Frame Bolt
(25)Leaf Spring Spacer
(26)Spacer to Leaf Spring Nut
(27)Front Spring
(28)Spring to Spring Hanger Nut
(29)Spring to Spring Hanger Washer
(30)Spring Hanger Nut
(31)Stabilizer Shaft to Frame Clamp
(32)Spring Hanger Washer
(33)Steering Arm
(34)Spring Hanger Washer
(35)Spring Hanger Bolt
(36)Spring Hanger
(37)Spring to Spring Hanger Bolt
(38)Spring to Spring Hanger Washer
(39)Spring Hanger to Frame Rivet
(40)Stabilizer Shaft to Frame Washer
(41)Stabilizer Shaft to Frame Nut
(42)Bumper to Frame Nut
(43)Shock Absorber to Frame Washer
(44)Shock Absorber to Frame Nut