GM Service Manual Online
For 1990-2009 cars only

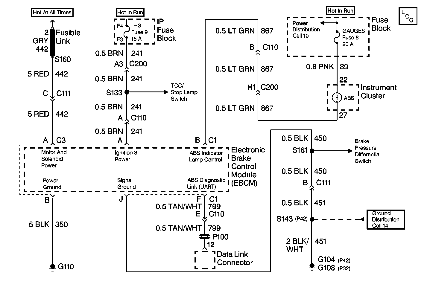
ABS Indicator Inoperative P32


Object Number: 191458  Size: MF
ABS Components P32
Antilock Brake System Schematics P32

Circuit Description

The EBCM controls the ANTILOCK indicator lamp illumination by supplying a ground to the EBCM 10-way terminal B. When the vehicle is started or the ignition is turned to the RUN position, the ANTILOCK indicator should illuminate for two seconds and turn off.

Diagnostic Aids

If the ABS indicator lamp is off constantly, an open or short to voltage in the lamp circuit is present between the instrument panel and the ABS indicator relay ground (this includes the ABS indicator relay contacts). Also check for an open instrument cluster fuse or an open ABS indicator lamp.

Test Description

The numbers below refer to the steps in the diagnostic table:

  1. This step manually (with fused jumper) turns on the ABS indicator lamp.

  2. This step checks for a short to ground in CKT 39.

  3. This step checks for an open in CKT 867.

  4. This step checks for ignition voltage at the instrument cluster.

Step

Action

Value(s)

Yes

No

1

Was the Diagnostic System Check performed?

--

Go to Step 2

Go to Diagnostic System Check - ABS

2

  1. Turn the ignition to OFF.
  2. Disconnect the 10-way EBCM harness connector from the EBCM.
  3. Using the J 36169-A Fused Jumper Wire with a 3 amp fuse, connect terminal B of the 10-way EBCM harness connector to ground.
  4. Turn the ignition to RUN.

Does the ABS indicator lamp turn on?

--

Go to Step 9

Go to Step 3

3

Inspect the J 36169-A Fused Jumper Wire fuse.

Is the fuse open?

--

Go to Step 11

Go to Step 4

4

Inspect the GAUGES fuse 8.

Is the fuse open?

--

Go to Step 5

Go to Step 6

5

  1. Turn the ignition to OFF.
  2. Replace the GAUGES fuse 8
  3. Disconnect the Instrument Cluster harness connector from the instrument cluster.
  4. Turn the ignition to RUN.
  5. Remove and inspect the 10 amp GAUGES fuse 8

Is the GAUGES Fuse 8 open?

--

Go to Step 15

Go to Step 6

6

Remove and inspect the ABS indicator lamp. Refer to Instrument Cluster.

Is the ABS indicator lamp open?

--

Go to Step 12

Go to Step 7

7

  1. Turn the ignition to OFF.
  2. Using the J 39200 , measure the resistance between the 10-way EBCM connector terminal B and the Instrument Cluster terminal 27.

Is the resistance measurement within the specified range?

0-2 ohms

Go to Step 8

Go to Step 13

8

  1. Turn the ignition to RUN
  2. Using the J 39200 , measure the voltage between the Instrument Cluster terminal 22 and ground.

Is the voltage measurement equal to or greater than the specified range?

10.0 V

Go to Wiring Systems for Instrument Cluster Diagnosis

Go to Step 14

9

Malfunction is intermittent, perform the following:

  1. Inspect the 10-way EBCM harness connector for poor terminal contact or corrosion. Inspect CKT 867 for damage which may result in an open circuit.
  2. Reconnect all the connectors.
  3. Clear all DTCs using the Scan Tool .
  4. Test drive the vehicle above 16 km/h (10 mph).

Is the ABS indicator lamp off constantly?

--

Go to Step 10

Go to Diagnostic Aids

10

Replace the EBCM. Refer to Electronic Brake Control Module Replacement .

Is the repair complete?

--

Go to Diagnostic System Check - ABS

--

11

Repair the short to voltage in CKT 867. Refer to Wiring Repairs .

Is the repair complete?

--

Go to Diagnostic System Check - ABS

--

12

Replace the ABS indicator lamp.

Is the repair complete?

--

Go to Diagnostic System Check - ABS

--

13

Repair the open or the high resistance in CKT 867. Refer to Wiring Repairs .

Is the repair complete?

--

Go to Diagnostic System Check - ABS

--

14

Repair the open in CKT 39. Refer to Wiring Repairs .

Is the repair complete?

--

Go to Diagnostic System Check - ABS

--

15

Repair the short to ground in CKT 39. Refer to Wiring Repairs .

Is the repair complete?

--

Go to Diagnostic System Check - ABS

--

ABS Indicator Inoperative P42


Object Number: 396516  Size: MF
ABS Components P42
Antilock Brake System Schematics P42

Circuit Description

The EBCM controls the ANTILOCK indicator lamp illumination by supplying a ground to the EBCM 10-way terminal B. When the vehicle is started or the ignition is turned to the RUN position, the ANTILOCK indicator should illuminate for two seconds and turn off.

Diagnostic Aids

If the ABS indicator lamp is off constantly, an open or short to voltage in the lamp circuit is present between the instrument panel and the ABS indicator relay ground (this includes the ABS indicator relay contacts). Also check for an open instrument cluster fuse or an open ABS indicator lamp.

Test Description

The numbers below refer to the steps in the diagnostic table:

  1. This step manually (with fused jumper) turns on the ABS indicator lamp.

  2. This step checks for a short to ground in CKT 39.

  3. This step checks for an open in CKT 867.

  4. This step checks for ignition voltage at the instrument cluster.

Step

Action

Value(s)

Yes

No

1

Was the Diagnostic System Check performed?

--

Go to Step 2

Go to Diagnostic System Check - ABS

2

  1. Turn the ignition to OFF.
  2. Disconnect the 10-way EBCM harness connector from the EBCM.
  3. Using the J 36169-A Fused Jumper Wire with a 3 amp fuse, connect terminal B of the 10-way EBCM harness connector to ground.
  4. Turn the ignition to RUN.

Does the ABS indicator lamp turn on?

--

Go to Step 9

Go to Step 3

3

Inspect the J 36169-A Fused Jumper Wire fuse. Is the fuse open?

--

Go to Step 11

Go to Step 4

4

Inspect the GAUGES fuse 8.

Is the fuse open?

--

Go to Step 5

Go to Step 6

5

  1. Turn the ignition to OFF.
  2. Replace the GAUGES fuse 8
  3. Disconnect the Instrument Cluster harness connector from the instrument cluster.
  4. Turn the ignition to RUN.
  5. Remove and inspect the 10 amp GAUGES fuse 8

Is the GAUGES Fuse 8 open?

--

Go to Step 15

Go to Step 6

6

Remove and inspect the ABS indicator lamp. Refer to Instrument Cluster.

Is the ABS indicator lamp open?

--

Go to Step 12

Go to Step 7

7

  1. Turn the ignition to OFF.
  2. Using the J 39200 , measure the resistance between the 10-way EBCM connector terminal B and the Instrument Cluster terminal 27.

Is the resistance measurement within the specified range?

0-2 ohms

Go to Step 8

Go to Step 13

8

  1. Turn the ignition to RUN
  2. Using the J 39200 , measure the voltage between the Instrument Cluster terminal 22 and ground.

Is the voltage measurement equal to or greater than the specified range?

10.0 V

Go to Wiring Systems for Instrument Cluster Diagnosis

Go to Step 14

9

Malfunction is intermittent, perform the following:

  1. Inspect the 10-way EBCM harness connector for poor terminal contact or corrosion. Inspect CKT 867 for damage which may result in an open circuit.
  2. Reconnect all the connectors.
  3. Clear all DTCs using the Scan Tool .
  4. Test drive the vehicle above 16 km/h (10 mph).

Is the ABS indicator lamp off constantly?

--

Go to Step 10

Go to Diagnostic Aids

10

Replace the EBCM. Refer to Electronic Brake Control Module Replacement .

Is the repair complete?

--

Go to Diagnostic System Check - ABS

--

11

Repair the short to voltage in CKT 867. Refer to Wiring Repairs .

Is the repair complete?

--

Go to Diagnostic System Check - ABS

--

12

Replace the ABS indicator lamp.

Is the repair complete?

--

Go to Diagnostic System Check - ABS

--

13

Repair the open or the high resistance in CKT 867. Refer to Wiring Repairs .

Is the repair complete?

--

Go to Diagnostic System Check - ABS

--

14

Repair the open in CKT 39. Refer to Wiring Repairs .

Is the repair complete?

--

Go to Diagnostic System Check - ABS

--

15

Repair the short to ground in CKT 39. Refer to Wiring Repairs .

Is the repair complete?

--

Go to Diagnostic System Check - ABS

--