GM Service Manual Online
For 1990-2009 cars only
Makes
🢒
Chevrolet
🢒
1999
🢒
Chevy P32 RV/Van Chassis
🢒
Body and Accessories
🢒
Lighting Systems
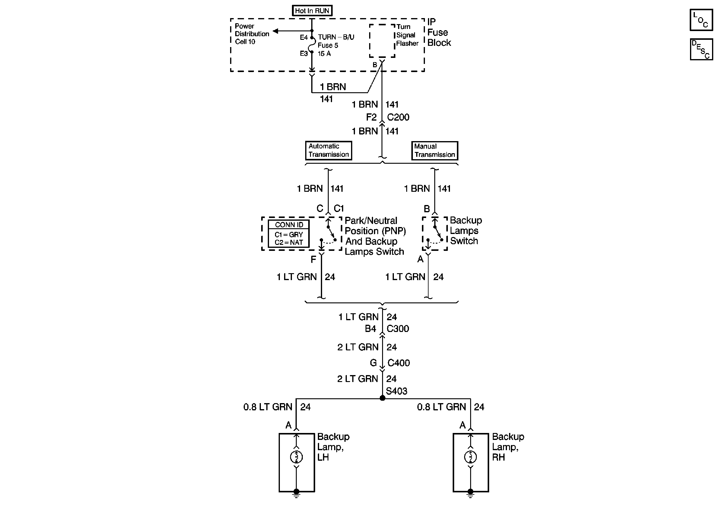
🢒 Backup Lamp Schematics
Backup Lamp Schematics P 32
Cell 112
Lighting Systems Components P32
Exterior Lights Circuit Description P32
Cell 10: Ignition Switch and Fuse Block
Cell 41: AUTO PARK Warning Circuit
Cell 138: P32 BTSI Circuit
Cell 41: Park Brake Pump Control
Cell 41: Park Brake Pump Control
Backup Lamp Schematics P 42
Cell 112
Lighting Systems Components P42
Exterior Lights Circuit Description P42
Cell 10: Ignition Switch and Fuse Block