GM Service Manual Online
For 1990-2009 cars only
Makes
🢒
Chevrolet
🢒
1999
🢒
Chevy P32 RV/Van Chassis
🢒 Cell 90
Cell 90
Cell 90
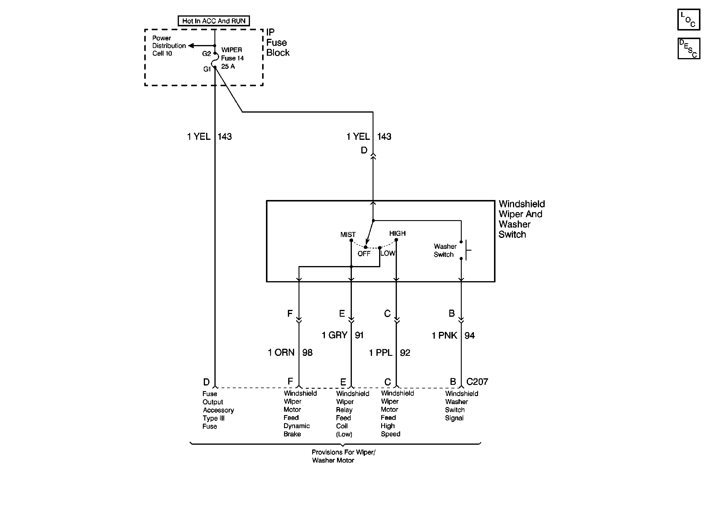
Wiper/Washer System Components
Wiper/Washer System Circuit Description P42
Cell 10: Ignition Switch and Fuse Block