GM Service Manual Online
For 1990-2009 cars only

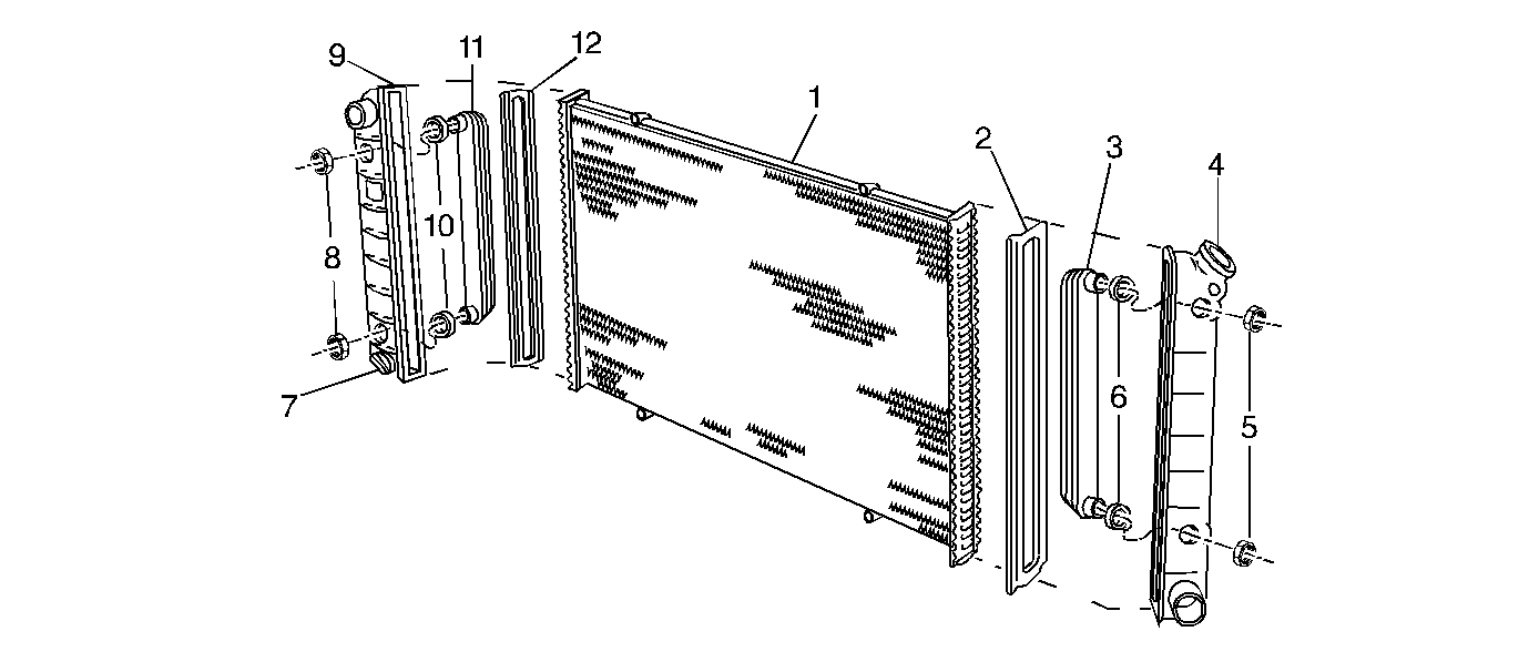
Object Number: 47015  Size: SF

The radiator is a crossflow and center type. The radiator utilizes an aluminum core (1) with plastic side tanks (9,4).

Shrouds direct air flow through the radiator core. The shrouds also serve as a fan guard. A coolant recovery reservoir prevents overflow and reduces the need for frequent refills. This provides for coolant expansion.

A transmission oil cooler (3) is built into the right tank of the radiator, with inlet and outlet fittings for transmission fluid circulation. Vehicles that are equipped with air conditioning use a radiator with extra cooling capacity for greater cooling demands. There is an optional engine cooler (11) available. The optional engine is built into the left tank with inlet and outlet fittings for engine oil circulation.