GM Service Manual Online
For 1990-2009 cars only

Removal Procedure

  1. Remove the air cleaner assembly from the vehicle.

  2. Object Number: 388616  Size: SH
  3. Disconnect the cruise control cable (2) from the throttle lever (1).

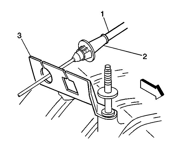
  4. Object Number: 388626  Size: SH
  5. Remove the cruise control cable conduit (2) from the engine bracket (3).

  6. Object Number: 7388  Size: SH
  7. Remove the cable housing from the cruise control module.

  8. Object Number: 7384  Size: SH
  9. Disconnect the cable bead from the buckle on the end of the ribbon.
  10. Remove the cable from the vehicle.

Installation Procedure

  1. Route the cruise control cable from the cruise control module to the throttle lever.

  2. Object Number: 7384  Size: SH
  3. Install the cable bead to the buckle on the end of the ribbon on the cruise control module.

  4. Object Number: 388609  Size: SH
  5. Pull the engine end fitting (4) of the cruise control cable (1) until the cable is taut.

  6. Object Number: 7388  Size: SH
  7. Install the cable housing to the cruise control module.

  8. Object Number: 388626  Size: SH
  9. Install the cruise control cable conduit (2) to the engine bracket (3).

  10. Object Number: 388616  Size: SH
  11. Connect the cruise control cable (2) to the throttle lever (1).
  12. Install the air cleaner assembly to the vehicle.