GM Service Manual Online
For 1990-2009 cars only
Table 1: Camshaft Position (CMP) Sensor
Table 2: Clutch Pedal Position (CPP) Switch
Table 3: Crankshaft Position (CKP) Sensor
Table 4: Engine Coolant Temperature (ECT) Sensor
Table 5: Evaporative Emissions (EVAP) Canister Purge Valve
Table 6: Evaporative Emissions (EVAP) Canister Vent Valve
Table 7: Exhaust Gas Recirculation (EGR) Valve
Table 8: Fuel Tank Pressure Sensor
Table 9: Fuel Pump Module
Table 10: Fuel Pump Relay
Table 11: Heated Oxygen Sensor (HO2S) Bank 1 Sensor 1
Table 12: Heated Oxygen Sensor (HO2S) Bank 2 Sensor 1
Table 13: Heated Oxygen Sensor (HO2S) Bank 1 Sensor 2
Table 14: Heated Oxygen Sensor (HO2S) Bank 2 Sensor 2
Table 15: Idle Air Control (IAC) Valve
Table 16: Ignition Coil
Table 17: Ignition Control Module (ICM)
Table 18: Intake Air Temperature (IAT) Sensor
Table 19: Manifold Absolute Pressure (MAP) Sensor
Table 20: Mass Air Flow (MAF) Sensor
Table 21: Park/Neutral Position (PNP) and Backup Lamps Switch C1
Table 22: Park/Neutral Position (PNP) and Backup Lamps Switch C2
Table 23: Throttle Position (TP) Sensor
Table 24: Transmission Input Speed Sensor (TISS)
Table 25: Transmission Output Speed Sensor (TOSS)
Table 26: Vehicle Speed Sensor (VSS)

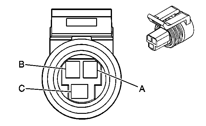
Camshaft Position (CMP) Sensor


Object Number: 68730  Size: CH

Connector Part Information

    • 12110293
    • 3 Way F Metri-Pack 150 Series (BLK)

Pin

Wire Color

Circuit No.

Function

A

PNK/BLK

632

Camshaft Position Sensor Return

B

BRN/WHT

633

Camshaft Position Sensor Signal

C

PNK

539

Fuse Output-Ignition 1-Type III Fuse

Clutch Pedal Position (CPP) Switch


Object Number: 39667  Size: CH

Connector Part Information

    • 12129136
    • 4 Way F Metri-Pack 280 Series, Flexlock (BLK)

Pin

Wire Color

Circuit No.

Function

A

DK BLU /WHT

805

Ignition Switch Output-Run/Heat/Crank

B

PPL

420

Brake Pedal Switch Output-Torque Converter Clutch

C

PPL

806

Fuse Output-Crank-Type III Fuse

D

BRN/WHT

379

Cruise Control Clutch Pedal Switch Output

Crankshaft Position (CKP) Sensor


Object Number: 62453  Size: CH

Connector Part Information

    • 12059595
    • 3 Way F Metri-Pack 150 Series (BLK)

Pin

Wire Color

Circuit No.

Function

A

PNK

439

Fuse Output-Ignition 1-Type III Fuse

B

PPL

574

Crankshaft Position Sensor Return

C

YEL

573

Crankshaft Position Sensor Signal

Engine Coolant Temperature (ECT) Sensor


Object Number: 232831  Size: CH

Connector Part Information

    • 12162194
    • 2 Way F Metri-Pack 150.2 Series P2S (BLK)

Pin

Wire Color

Circuit No.

Function

A

BLK

452

Sensor Return

B

YEL

410

Coolant Temperature Sensor Signal

Evaporative Emissions (EVAP) Canister Purge Valve


Object Number: 35437  Size: CH

Connector Part Information

    • 12052643
    • 2 Way F Metri-Pack 150 Series (RED)

Pin

Wire Color

Circuit No.

Function

A

PNK

539

Fuse Output-Ignition 1-Type III Fuse

B

DK GRN /WHT

428

Canister Purge Solenoid Output

Evaporative Emissions (EVAP) Canister Vent Valve


Object Number: 35437  Size: CH

Connector Part Information

    • 12052643
    • 2 Way F Metri-Pack 150 Series (RED)

Pin

Wire Color

Circuit No.

Function

A

PNK

539

Fuse Output-Ignition 1-Type III Fuse

B

WHT

1310

Canister Vent Valve Solenoid Output

Exhaust Gas Recirculation (EGR) Valve


Object Number: 68773  Size: CH

Connector Part Information

    • 12186057
    • 5 Way F Metri-Pack 150.2 Series P2S (BLK)

Pin

Wire Color

Circuit No.

Function

A

RED

257

Exhaust Gas Recirculation Vent Solenoid Output

B

BLK

470

Sensor Return

C

BRN

1456

Exhaust Gas Recirculation Solenoid Position Signal

D

GRY

474

Reference Voltage Feed-5 Volt Reference

E

RED

1676

Exhaust Gas Recirculation Solenoid Feed

Fuel Tank Pressure Sensor


Object Number: 62453  Size: CH

Connector Part Information

    • 12059595
    • 3 Way F Metri-Pack 150 Series (BLK)

Pin

Wire Color

Circuit No.

Function

A

BLK

470

Sensor Return

B

DK GRN

890

Fuel Tank Pressure Sensor Signal

C

GRY

474

Reference Voltage Feed-5 Volt Reference

Fuel Pump Module


Object Number: 258300  Size: CH

Connector Part Information

    • 12160482
    • 4 Way F Metri-Pack 150 Series (BLK)

Pin

Wire Color

Circuit No.

Function

A

PPL

1589

Fuel Gauge Sensor Signal

B

GRY

120

Fuel Pump Motor Feed

C

BLK

150

Ground

D

BLK

470

Sensor Return

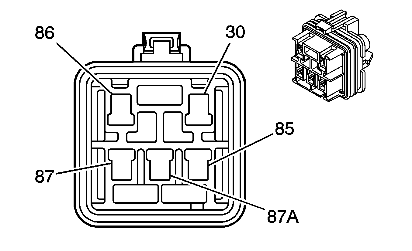
Fuel Pump Relay


Object Number: 39685  Size: CH

Connector Part Information

    • 12110539
    • 5 Way F Metri-Pack 280 Series, Flexlock (BLK)

Pin

Wire Color

Circuit No.

Function

30

GRY

120

Fuel Pump Motor Feed

85

DK GRN /WHT

465

Fuel Pump Relay Feed-Coil

86

BLK

450

Ground

87

ORN

440

Fuse Output-Battery-Type III Fuse

87A

RED

490

Fuel Pump Relay Feed-N.C. Contact-Prime

Heated Oxygen Sensor (HO2S) Bank 1 Sensor 1


Object Number: 260852  Size: CH

Connector Part Information

    • 12162102
    • 4 Way M Metri-Pack 150 Series (BLK)

Pin

Wire Color

Circuit No.

Function

A

TAN/WHT

1653

Oxygen Sensor Return-Left-Forward of Catalytic Converter

B

PPL/WHT

1665

Oxygen Sensor Signal-Left-Forward of Catalytic Converter

C

BLK

150

Ground

D

PNK

539

Fuse Output-Ignition 1-Type III Fuse

Heated Oxygen Sensor (HO2S) Bank 2 Sensor 1


Object Number: 260852  Size: CH

Connector Part Information

    • 12162102
    • 4 Way M Metri-Pack 150 Series (BLK)

Pin

Wire Color

Circuit No.

Function

A

TAN

1667

Oxygen Sensor Return-Right-Forward of Catalytic Converter

B

PPL

1666

Oxygen Sensor Signal-Right-Forward of Catalytic Converter

C

BLK

150

Ground

D

PNK

539

Fuse Output-Ignition 1-Type III Fuse

Heated Oxygen Sensor (HO2S) Bank 1 Sensor 2


Object Number: 258300  Size: CH

Connector Part Information

    • 12160482
    • 4 Way F Metri-Pack 150 Series (BLK)

Pin

Wire Color

Circuit No.

Function

A

TAN/WHT

1669

Oxygen Sensor Return-Left-Rear of Catalytic Converter

B

PPL/WHT

1668

Oxygen Sensor Signal-Left-Rear of Catalytic Converter

C

BLK

150

Ground

D

PNK

539

Fuse Output-Ignition 1-Type III Fuse

Heated Oxygen Sensor (HO2S) Bank 2 Sensor 2


Object Number: 258300  Size: CH

Connector Part Information

    • 12160482
    • 4 Way F Metri-Pack 150 Series (BLK)

Pin

Wire Color

Circuit No.

Function

A

TAN

1671

Oxygen Sensor Return-Right-Rear of Catalytic Converter

B

PPL

1670

Oxygen Sensor Signal-Right-Rear of Catalytic Converter

C

BLK

150

Ground

D

PNK

539

Fuse Output-Ignition 1-Type III Fuse

Idle Air Control (IAC) Valve


Object Number: 38608  Size: CH

Connector Part Information

    • 12162189
    • 4 Way F Metri-Pack 150.2 Series P2S (BLK)

Pin

Wire Color

Circuit No.

Function

A

LT GRN/BLK

444

Idle Air Control Valve Motor Feed-Coil B Low

B

LT GRN /WHT

1749

Idle Air Control Valve Motor Feed-Coil B High

C

LT BLU /BLK

1748

Idle Air Control Valve Motor Feed-Coil A Low

D

LT BLU /WHT

1747

Idle Air Control Valve Motor Feed-Coil A High

Ignition Coil


Object Number: 68743  Size: CH

Connector Part Information

    • 12146121
    • 3 Way F Metri-Pack 150 Series (BRN)

Pin

Wire Color

Circuit No.

Function

A

PNK

439

Fuse Output-Ignition 1-Type III Fuse

B

WHT

121

Tachometer Signal

C

WHT/BLK

1847

Ignition Coil Output-Bank A

Ignition Control Module (ICM)


Object Number: 38608  Size: CH

Connector Part Information

    • 12162189
    • 4 Way F Metri-Pack 150.2 Series P2S (BLK)

Pin

Wire Color

Circuit No.

Function

A

PNK

439

Fuse Output-Ignition 1-Type III Fuse

B

WHT

423

Electronic Spark Timing Control Signal

C

BLK

450

Ground

D

WHT/BLK

1847

Ignition Coil Output-Bank A

Intake Air Temperature (IAT) Sensor


Object Number: 68719  Size: CH

Connector Part Information

    • 12162198
    • 2 Way F Metri-Pack 150.2 Series P2S (GRY)

Pin

Wire Color

Circuit No.

Function

A

TAN

472

Manifold Absolute Temperature Sensor Signal

B

BLK

470

Sensor Return

Manifold Absolute Pressure (MAP) Sensor


Object Number: 68740  Size: CH

Connector Part Information

    • 12129946
    • 3 Way F Metri-Pack 150 Series (GRY)

Pin

Wire Color

Circuit No.

Function

A

BLK

470

Sensor Return

B

LT GRN

432

Manifold Absolute Pressure Sensor Signal

C

GRY

474

Reference Voltage Feed-5 Volt Reference

Mass Air Flow (MAF) Sensor


Object Number: 62453  Size: CH

Connector Part Information

    • 12059595
    • 3 Way F Metri-Pack 150 Series (BLK)

Pin

Wire Color

Circuit No.

Function

A

YEL

492

Mass Air Flow Sensor Signal

B

BLK

450

Ground

C

PNK

539

Fuse Output-Ignition 1-Type III Fuse

Park/Neutral Position (PNP) and Backup Lamps Switch C1


Object Number: 68780  Size: CH

Connector Part Information

    • 12129840
    • 7 Way F Metri-Pack 150/280 Series (GRY)

Pin

Wire Color

Circuit No.

Function

A

--

--

Not Used

B

YEL

1737

Transmission Mounted Neutral Safety Switch Output-Park/Neutral

C

BRN

141

Fuse Output-Ignition 3-Type III Fuse

D

--

--

Not Used

E

DK BLU /WHT

805

Ignition Switch Output-Run/Heat/Crank

F

LT GRN

24

Backup Lamp Feed

G

PPL

806

Fuse Output-Crank-Type III Fuse

Park/Neutral Position (PNP) and Backup Lamps Switch C2


Object Number: 40412  Size: CH

Connector Part Information

    • 12191757
    • 4 Way F Metri-Pack 150 Series (NAT)

Pin

Wire Color

Circuit No.

Function

A-B

--

--

Not Used

C

BLK

901

PNP Switch

D

BLK

901

PNP Switch

Throttle Position (TP) Sensor


Object Number: 258299  Size: CH

Connector Part Information

    • 12078090
    • 3 Way F Metri-Pack 150 Series P2S (BLK)

Pin

Wire Color

Circuit No.

Function

A

GRY

416

Reference Voltage Feed-5 Volt Reference

B

BLK

452

Sensor Return

C

DK BLU

417

Throttle Position Sensor Signal

Transmission Input Speed Sensor (TISS)


Object Number: 232831  Size: CH

Connector Part Information

    • 12162194
    • 2 Way F Metri-Pack 150.2 Series P2S (BLK)

Pin

Wire Color

Circuit No.

Function

A

DK BLU /WHT

1231

Transmission Input Speed Sensor Return

B

RED/BLK

1230

Transmission Input Speed Sensor Signal

Transmission Output Speed Sensor (TOSS)


Object Number: 232831  Size: CH

Connector Part Information

    • 12162194
    • 2 Way F Metri-Pack 150.2 Series P2S (BLK)

Pin

Wire Color

Circuit No.

Function

A

LT GRN /BLK

822

Vehicle Speed Sensor Return

B

PPL/WHT

821

Vehicle Speed Sensor Signal

Vehicle Speed Sensor (VSS)


Object Number: 38554  Size: CH

Connector Part Information

    • 12124819
    • 2 Way F Metri-Pack 280 Series (BLK)

Pin

Wire Color

Circuit No.

Function

A

LT GRN /BLK

822

Vehicle Speed Sensor Return

B

PPL/WHT

821

Vehicle Speed Sensor Signal