GM Service Manual Online
For 1990-2009 cars only

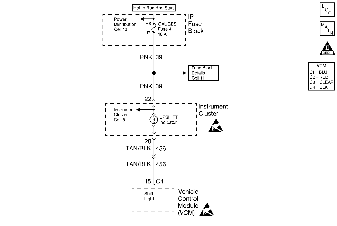
Object Number: 32861  Size: MF
Engine Controls Component Views
Engine Controls Schematics
OBD II Symbol Description Notice
Handling ESD Sensitive Parts Notice
Handling ESD Sensitive Parts Notice

Circuit Description

The control module controls the shift lamp using the following inputs:

    • The Engine Coolant Temperature (ECT) sensor
    • The Throttle Position (TP) sensor
    • The Vehicle Speed sensor (VSS)
    • The Engine RPM

The control module uses the measured RPM and the vehicle speed in order to calculate what gear the vehicle is in. This calculation determines when the shift lamp should be turned ON.

Test Description

The numbers below refer to the step numbers on the diagnostic table.

  1. This step checks the control module's ability to control the shift lamp.

Step

Action

Value(s)

Yes

No

1

Was the Powertrain On-Board Diagnostic (OBD) System Check performed?

--

Go to Step 2

Go to Powertrain On Board Diagnostic (OBD) System Check

2

  1. Turn the ignition OFF.
  2. Install a scan tool.
  3. Turn the ignition ON.
  4. Using the scan tool, command the shift lamp ON.

Is the shift lamp ON?

--

Go to Step 4

Go to Step 3

3

  1. Disconnect the control module connector that contains the shift lamp control circuit.
  2. Turn the ignition ON.
  3. Connect a fused jumper between the shift lamp control circuit and ground.

Is the shift lamp ON?

--

Go to Step 5

Go to Step 6

4

Using the scan tool, command the shift lamp OFF and ON.

Does the shift lamp respond to the scan tool command?

--

System OK

Go to Step 8

5

Check the terminal connect at the control module for the shift lamp control circuit.

Was a problem found?

--

Go to step 7

Go to Step 10

6

Repair the open in the shift lamp circuit.

Is the action complete?

--

Go to Step 11

--

7

Repair as necessary.

Is the action complete?

--

Go to Step 11

--

8

  1. Turn the ignition OFF.
  2. Disconnect the control module connector that contains the shift lamp control circuit.
  3. Turn the ignition ON.

Is the shift lamp ON?

--

Go to Step 9

Go to Step 10

9

Repair the short to ground in the shift lamp control circuit.

Is the action complete?

--

Go to Step 11

--

10

  1. Replace the VCM.
  2. Program the VCM. Refer to VCM Replacement/Programming .
  3. Perform the Crankshaft Variation Learn Procedure. Refer to Crankshaft Position System Variation Learn .

Is the action complete?

--

Go to Step 11

--

11

  1. Allow the engine to idle until normal operating temperature is reached.
  2. Select DTC Failed This Ignition.

Are any additional DTCs displayed?

--

Go to applicable DTC table

Go to Step 12

12

Using the scan tool, select Capture Info, Review Info.

Are any additional DTCs displayed that have not been diagnosed?

--

Go to applicable DTC table

System OK