GM Service Manual Online
For 1990-2009 cars only

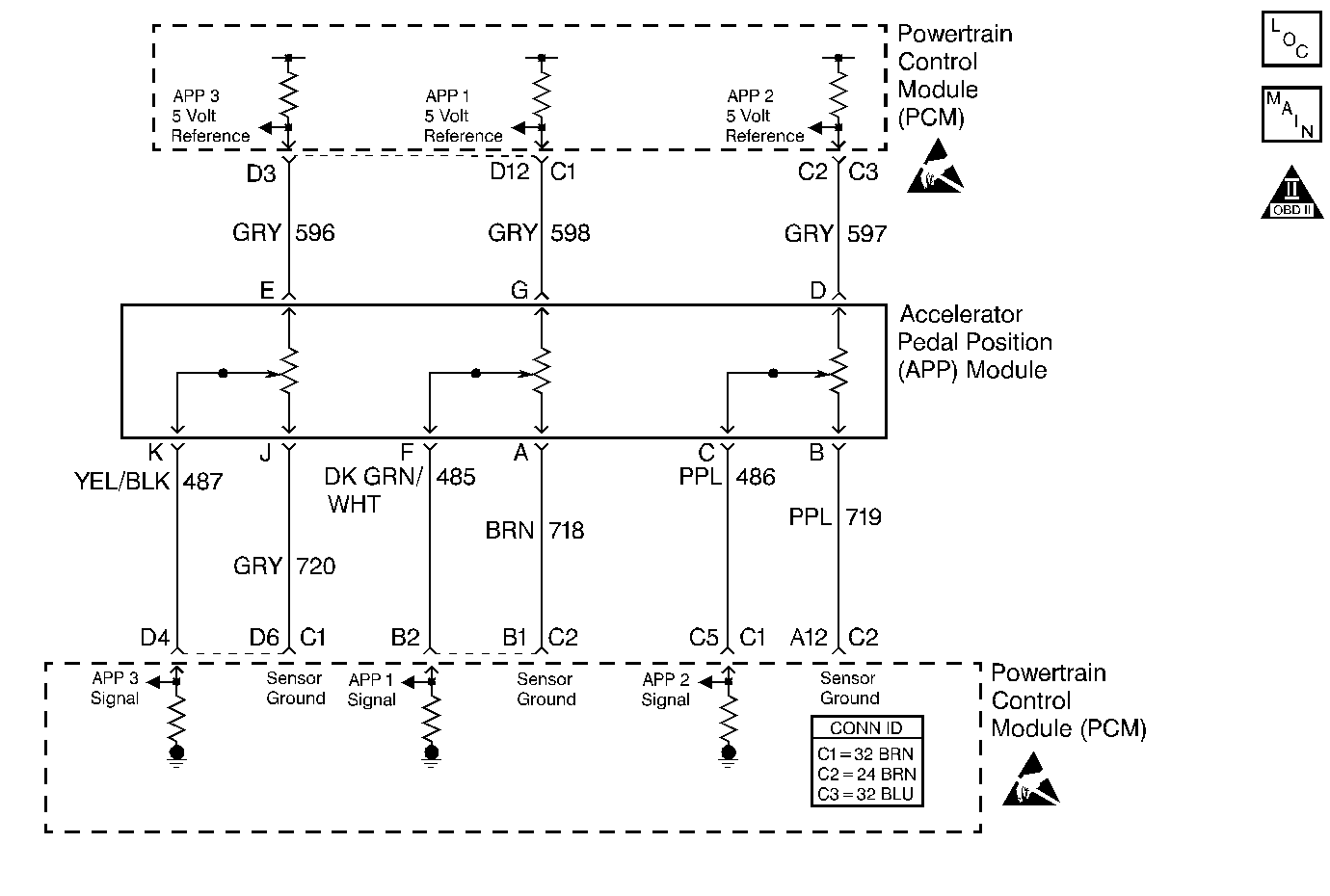
Object Number: 226926  Size: MF
Engine Controls Components
Engine Controls (Cell 22: Fuel Controls 5)
OBD II Symbol Description Notice
Handling ESD Sensitive Parts Notice
Handling ESD Sensitive Parts Notice

Circuit Description

The Accelerator Pedal Position (APP) module provides a voltage signal that changes relative to the accelerator pedal position. There are three sensors located within the APP module that are scaled differently.

Conditions for Setting the DTC

    • The PCM performs this DTC diangostic continuously.
    • The signal voltage on the APP 3 sensor is is less than 0.25 volts.
    • All diagnostic conditions met for 2 seconds.

Action Taken When the DTC Sets

    • The input from APP 3 sensor is ignored.
    • This DTC will not turn on the Servie Throttle Soon lamp by itself.
    • The throttle will operate normally as long as there is only one malfucntion present. If two different APP sensors have a malfunction, the Service Throttle Soon lamp will light and the PCM will limit power. If three APP sensor have a malfucntion present, the Service Throttle Soon lamp will light and the PCM will only allow the engine to operate at idle.

Conditions for Clearing the MIL/DTC

    • A History DTC will clear after forty consecutive warm-up cycles during which the diagnostic does not fail (the coolant temperature has risen 5°C (40°F) from the start up coolant temperature and the engine coolant temperature exceeds 71°C (160°F) during that same ignition cycle).
    • Use of a Scan tool.

Diagnostic Aids

There are no driveability issues associated with the APP module unless a DTC is present. The most likely cause of this DTC are poor connections or the sensor itself. The least likely is a PCM problem.

A scan tool reads the APP 3 position in volts. The scan tool should read about 4.0 volts with the throttle closed and the ignition ON or during idle. The voltage should decrease at a steady rate as the throttle is moved toward a Wide Open Throttle (WOT). Also, 90% pedal travel is acceptable for a correct APP operation. Scan the APP 3 sensor while depressing the accelerator pedal with the engine stopped and the ignition ON. The display should vary from about 4.0 volts when the throttle is closed to about 2.0 volts when the throttle is held at a Wide Open Throttle (WOT) position.

Test Description

The numbers below refer to the step numbers on the Diagnostic Table.

  1. This step will determine if DTC P0227 is the result of a hard failure or an intermittent condition.

  2. This step checks the PCM and the wiring.

Step

Action

Value(s)

Yes

No

1

Important: Before clearing any DTCs, use the Scan Tool Capture Info to save freeze frame and failure records for reference, as the Scan Tool loses data when using the Clear Info function.

Was the Powertrain On-Board Diagnostic (OBD) System Check performed?

--

Go to Step 2

Go to A Powertrain On Board Diagnostic (OBD) System Check

2

  1. Turn the ignition ON with the engine OFF.
  2. With the throttle closed, observe the APP 3 voltage on the Scan Tool.

Is the APP 3 voltage less than or equal to the specified value?

0.25V

Go to Step 4

Go to Step 3

3

The DTC is intermittent. If no additional DTCs are stored, refer to Diagnostic Aids. If any additional DTCs were stored, refer to those tables first.

Are there any additional DTCs stored?

--

Go to the applicable DTC table

Go to Diagnostic Aids

4

  1. Disconnect the APP sensor electrical connector.
  2. Use the J 39200 in order to probe the APP 3, 5 volt reference circuits at the APP harness.

Is the voltage at the specified value?

5V

Go to Step 5

Go to Step 6

5

Use J 39200 in order to probe the APP 3 signal circuit at the APP harness.

Is the voltage at the specified value?

5V

Go to Step 10

Go to Step 8

6

  1. Turn the ignition OFF.
  2. Disconnect the PCM and check the 5 volt reference circuit for an open or short to ground.
  3. If the 5 volt reference circuit is open or shorted to ground, repair as necessary.

Was the 5 volt reference circuit open or shorted to ground?

--

Go to Step 13

Go to Step 7

7

Check the 5 volt reference circuit for a poor connection at the PCM and replace the terminal if necessary. Refer to Wiring Repairs in Wiring Systems.

Did the terminal require a replacement?

--

Go to Step 13

Go to Step 12

8

  1. Turn the ignition OFF.
  2. Disconnect the PCM.
  3. Check the APP 3 signal circuit for an open, short to ground.
  4. If the APP 3 sensor signal circuit is open or shorted to ground, repair as necessary.

Was the APP 3 signal circuit open or shorted to ground?

--

Go to Step 13

Go to Step 9

9

Check the APP 3 sensor signal circuit for a poor connection at the PCM and replace the terminal if necessary. Refer to Wiring Repairs in Wiring Systems.

Did the terminal require a replacement?

--

Go to Step 13

Go to Step 12

10

Check for a poor electrical connection at the APP sensor.

Was a repair performed?

--

Go to Step 13

Go to Step 11

11

Replace the APP module. Refer to APP Module Replacement .

Is the action complete?

--

Go to Step 13

--

12

Important: The new PCM must be programmed.

Replace the PCM. Refer to PCM Replacement/Programming .

Is the action complete?

--

Go to Step 13

--

13

  1. Using the Scan Tool, clear the DTCs.
  2. Start engine and idle at normal operating temperature.
  3. Select DTC, Specific, then enter the DTC number which was set.
  4. Operate the vehicle, within the Conditions for Setting this DTC, until the Scan Tool indicates the diagnostic Ran.

Does the Scan Tool indicate the diagnostic Passed?

--

Go to Step 14

Go to Step 2

14

Does the Scan Tool display any additional undiagnosed DTCs?

--

Go to the applicable DTC table

System OK