GM Service Manual Online
For 1990-2009 cars only

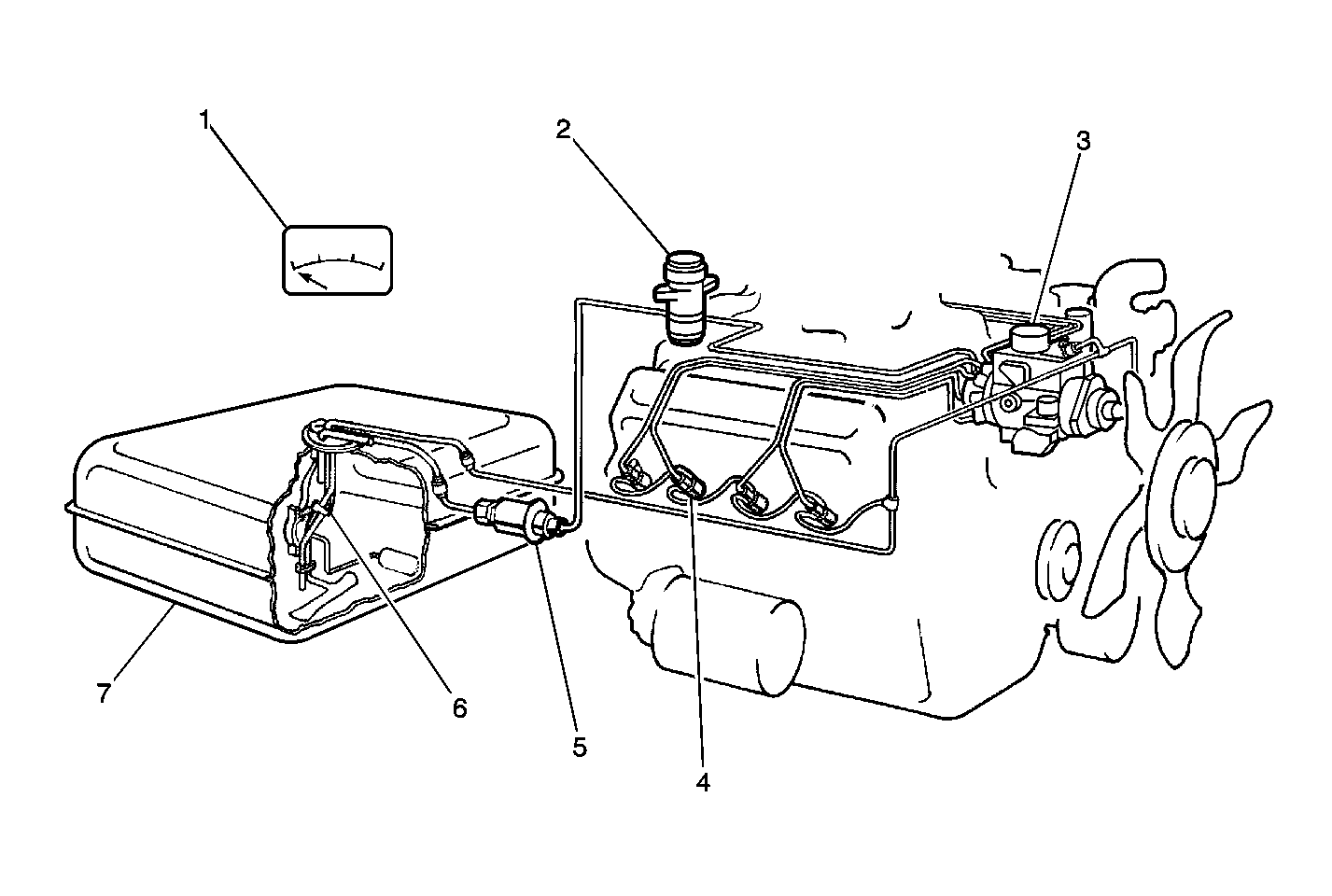
Object Number: 27820  Size: MF
(1)Fuel Gauge
(2)Fuel Filter/Manager
(3)Fuel Injection Pump
(4)Injector
(5)Fuel Lift Pump
(6)Fuel Sender
(7)Fuel Tank

The fuel supply is stored in the fuel tank. Fuel is drawn from the fuel tank by the fuel lift pump. Fuel is then pumped through the fuel manager/filter. The fuel manager/filter is located on the transmission cross-member. The fuel is then transferred to the injection pump. The unused fuel is returned to the fuel tank by a separate line.

Fuel Tank

The fuel tank is held in place by two metal straps and a cross strap attached to the underbody.

Fuel Tank Filler Neck

The fuel tank filler neck is positioned at the left rear quarter panel of the vehicle.

Fuel Filler Cap

The fuel tank filler neck is equipped with a threaded-type cap. The threaded part of the cap requires several turns counterclockwise in order to remove the cap. A built-in torque-limiting device prevents over-tightening. To install, turn the cap clockwise until a clicking noise is heard. This signals that the correct torque has been reached and the cap is fully seated.

The fuel sender is located inside of the fuel tank and is attached to the top of the fuel tank.

The fuel sender has a float, wire float arm, and a rheostat. The fuel level is indicated by the position of the float and the float arm, which operates the 90 ohm rheostat. As the float position changes, the amount of current passing through the rheostat varies, thus changing the gauge reading on the instrument panel.

Fuel Strainer

A woven plastic strainer is located on the lower end of the fuel sender pickup tube in the fuel tank. This strainer prevents dirt and water from entering in the fuel line unless the strainer becomes completely submerged in water.

Fuel Lift Pump


Object Number: 27783  Size: MF
(1)Inlet Port
(2)Pressure Spring
(3)Primary Winding
(4)Secondary Winding
(5)Piston and Valve Assembly
(6)Inlet Valve
(7)Outlet Valve
(8)Cylinder
(9)Teflon Ring

The electric fuel lift pump mounts on the inside of the left frame rail, and is used to deliver fuel at a low pressure (at least 3 psi or 21 kPa) at the rate of 0.24 liter (½ pint) in 15 seconds (15 GPH). The lift pump is controlled by the PCM.

When the key is in turned ON, the PCM energizes the fuel pump relay which sends a voltage to the lift pump. The lift pump remains on during the glow plug cycle. If the engine is not started immediately after the glow plug cycle, the PCM shuts the fuel lift pump OFF and waits until engine RPM is greater than zero and then turns the relay back ON. As a backup system to the fuel pump relay, the fuel lift pump can also be turned ON by the fuel pump/oil pressure switch. When the engine oil pressure reaches 28 kPa (4 psi), the fuel pump/oil pressure switch closes and completes the circuit to run the fuel lift pump.

The fuel manager/filter is an in-line type filter that combines several different functions by acting as a fuel filter, a water separator, a water detector, a water drain, and a fuel heater.

The fuel manager/filter mounts on the frame. The filter housing has an inlet fitting that connects to the pipe/hose from the lift pump, and an outlet fitting that connects to the fuel injection pump with a hose.

The fuel manager/filter has a replaceable element. The element has an air vent valve on its top surface that is used during lift pump diagnosis and during the filter element replacement procedure. The fuel manager/filter also has a water in fuel sensor and a fuel heater.

Fuel Filter

The fuel filter element separates particles larger than 10 microns (0.00039 in) from the fuel moving through it under lift pump pressure. Filter action is very critical to the operation of internal parts of the fuel injection pump.

Water In Fuel Sensor

The design of the fuel manager/filter includes an area where water droplets (as small as one micron) are separated from the fuel and then collected in a lower portion of the housing. The water-in-fuel sensor can detect a certain amount of water in the fuel inside of the filter housing and then turn the Water the Fuel lamp ON in the instrument cluster.

When the ignition switch is first turned to the run position, the Water in Fuel lamp will come ON for 2 to 5 seconds. This action provides a bulb check.

Fuel Heater

The fuel heater operates when the fuel temperature at the inlet of the filter housing is cold enough to cause possible waxing, which can restrict the flow of fuel to the injection pump. A control circuit inside of the fuel heater completes the circuit for the heater element when the fuel heater senses a temperature below 8°C (46°F).

Rubber Fuel Hoses

The fuel feed and return pipes and hoses extend from the fuel sender to the fuel manager/filter. They are secured with clamps and are routed along the frame side member.

Some fuel feed pipes have threaded connections that are sealed with replaceable O-ring seals. These O-ring seals are made of special material, and should only be serviced with the correct service part.