GM Service Manual Online
For 1990-2009 cars only

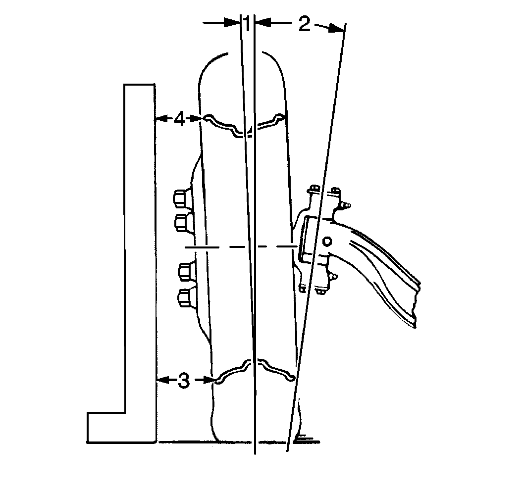
King Pin Inclination


Object Number: 178899  Size: SH

The king pin inclination (2) is the amount that the top of the king pin is inclined toward the center of the vehicle. The inclination is designed into the axle end. The king pins are inclined to assist the front wheel return to the center after a turn is made.

Camber


Object Number: 178899  Size: SH

The camber is the measurement in degrees (1) that the front wheels are tilted inward or outward at the top from the vertical position. The camber offsets the wheel deflection due to wear of the front axle parts and prevents a reverse or negative camber condition. If the camber is extreme or unequal between the wheels, improper steering and excessive tire wear will result.

Toe-In


Object Number: 36485  Size: SH

The toe-in is the adjustment of the front wheels that angles the tires toward each other. The actual amount of toe-in is normally a fraction of a degree. The toe-in is measured from the center of the tire treads or from the inboard side of the tires. The purpose of toe-in is in order to ensure parallel rolling of the front wheels and to offset any small deflections of the wheel support system which occurs when the vehicle is rolling forward. An incorrect toe-in results in excessive tire wear and unstable steering. The toe-in is the last alignment to be set in the front wheel alignment procedure.

Front Axle Caster


Object Number: 178905  Size: SH

The caster is the inclination (tilt) of the king pin from vertical (1) to the frame either forward or rearward. An incorrect caster may result from sagging springs, bent or twisted axle, or uneven tightening of the spring U-bolt nuts. Tighten all of the U-bolts equally. Refer to Fastener Tightening Specifications in Front Suspension and Axle. Generally, if the axle is twisted, the caster will be unequal from the right to the left side.

Frame Angle

The caster, the camber, and the toe-in dimensions are determined for the vehicle at the design load with the frame level. The normal frame angle must be considered when using the alignment equipment. This is most important when making a caster angle check in order to obtain a true setting.