GM Service Manual Online
For 1990-2009 cars only

Steering Linkage Shock Absorber Replacement Motorhome

Removal Procedure


    Object Number: 310071  Size: MH
  1. Remove the shock absorber mounting nuts.
  2. Remove the washer (13) and the grommet (14).
  3. Remove the cotter pin and the castellated nut.
  4. Remove the following components:
  5. • The shock absorber (15)
    • The grommet (14)
    • The washer (13)
  6. Inspect the shock absorber (15) for leaks and damage.
  7. Inspect the grommet (14) for wear.

Installation Procedure


    Object Number: 310071  Size: MH
  1. Install the shock absorber (15) with the washer and the grommet to the frame.
  2. Install the washer and the grommet.
  3. Notice: Use the correct fastener in the correct location. Replacement fasteners must be the correct part number for that application. Fasteners requiring replacement or fasteners requiring the use of thread locking compound or sealant are identified in the service procedure. Do not use paints, lubricants, or corrosion inhibitors on fasteners or fastener joint surfaces unless specified. These coatings affect fastener torque and joint clamping force and may damage the fastener. Use the correct tightening sequence and specifications when installing fasteners in order to avoid damage to parts and systems.

  4. Install the shock absorber mounting nuts.
  5. Tighten the castellated nuts. Advance the castellated nut in order to align the nut slot with the cotter pin hole. Do not back off the nut in order to align the cotter pin hole. Insert a new cotter pin of the correct size.
  6. Tighten

        • Tighten the shock absorber to frame to 11 N·m (8 lb ft).
        • Tighten the shock absorber to idler arm to 62 N·m (46 lb ft).
  7. Install the cotter pin.

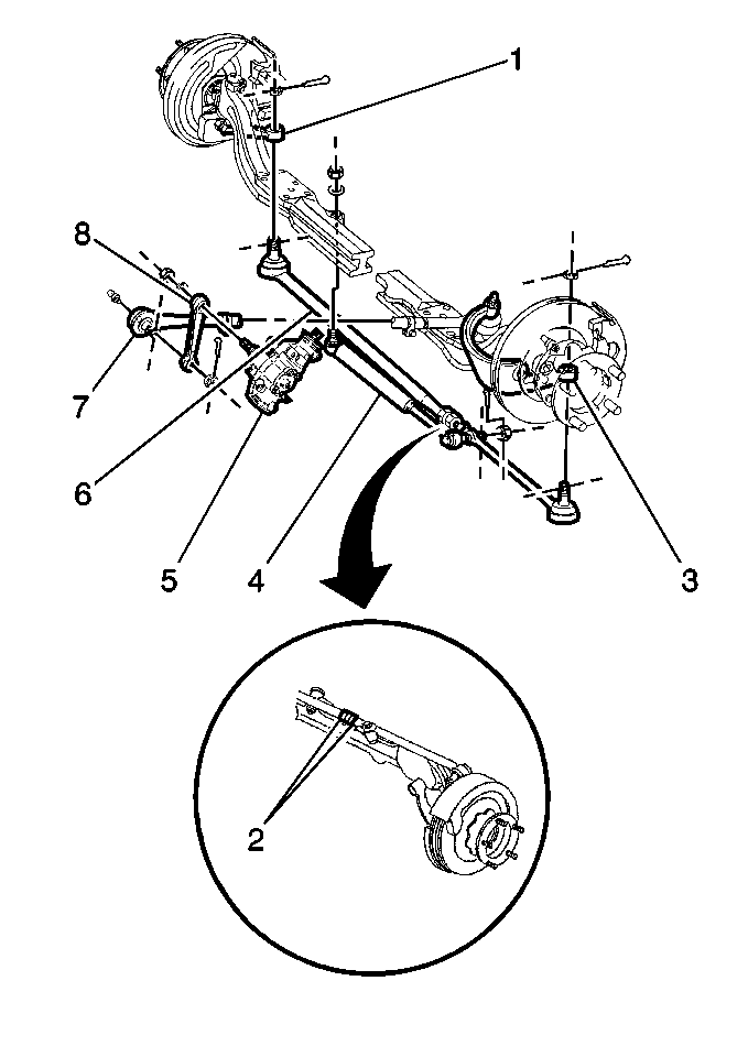
Steering Linkage Shock Absorber Replacement With I-Beam Axle Assembly

Removal Procedure


    Object Number: 310079  Size: MH
  1. Remove the shock absorber mounting nuts and the washers.
  2. Remove the cotter pin and the castellated nut.
  3. Inspect the shock absorber (4) for leaks and damage.
  4. Inspect the shock absorber bushings for wear.
  5. Inspect the grommet for wear.

Installation Procedure


    Object Number: 310079  Size: MH
  1. Install the shock absorber (4) with the bushings to the axle bracket.
  2. Install the shock absorber mounting nuts and the washers.
  3. Notice: Use the correct fastener in the correct location. Replacement fasteners must be the correct part number for that application. Fasteners requiring replacement or fasteners requiring the use of thread locking compound or sealant are identified in the service procedure. Do not use paints, lubricants, or corrosion inhibitors on fasteners or fastener joint surfaces unless specified. These coatings affect fastener torque and joint clamping force and may damage the fastener. Use the correct tightening sequence and specifications when installing fasteners in order to avoid damage to parts and systems.

  4. Tighten the castellated nuts. Advance the castellated nut in order to align the nut slot with the cotter pin hole. Do not back off the nut in order to align the cotter pin hole. Insert a new cotter pin of the correct size.
  5. Tighten

        • Tighten the shock absorber to frame to 47 N·m (35 lb ft).
        • Tighten the shock absorber to tie rod (6) to 62 N·m (46 lb ft).
  6. Install the cotter pins.