GM Service Manual Online
For 1990-2009 cars only

P model trucks use various rear axles. These axles can be identified by ring gear size in inches, by manufacturer (American Axle and Dana), and by the type of axle shaft used (semi-floating or full-floating). American Axle supplies the 10½ inch ring gear, while Dana supplies the 11 inch ring gear.

Axle Identification

In order to find the axle ratio for the vehicle, refer to Service Parts ID Label . Location of the label on P models is determined by the body builder.

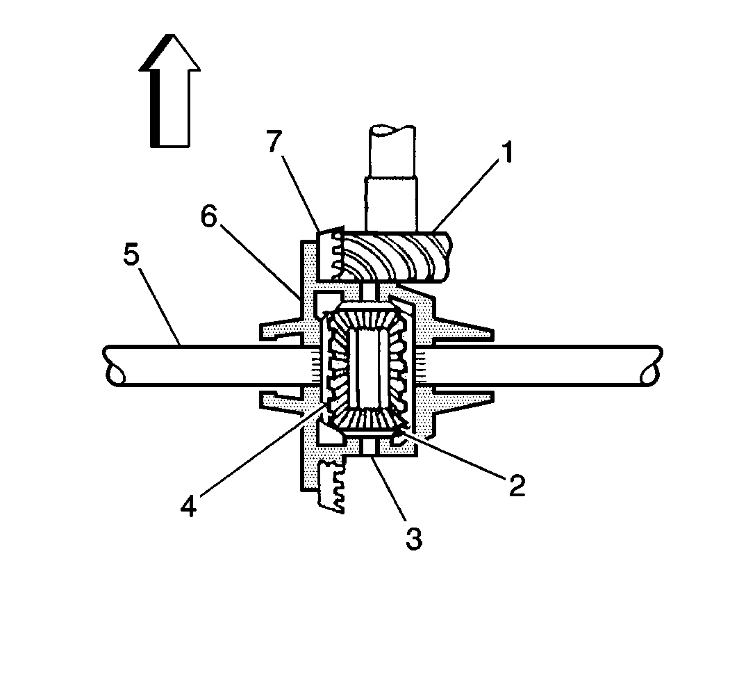
Rear Axle Operation


Object Number: 177270  Size: SH

A basic differential has a set of 4 gears consisting of 2 side gears (4) and 2 pinion gears (2). Each side gear splines to an axle shaft (5). Each axle shaft must turn when the side gear rotates.

The pinion gears mount on the pinion shaft (3). The pinion gears are free to rotate on the pinion shaft. The pinion shaft fits into a bore in the differential case (6). The pinion shaft is at right angles to the axle shafts.

Torque moves through the differential as follows:

  1. The drive pinion gear (1) rotates the ring gear (7).
  2. The ring gear, being bolted to the differential case, rotates the case.
  3. The differential pinion rotates with the case and forces the pinion gears against the side gears.

When both wheels have equal traction, the pinion gears do not rotate on the pinion shaft because the input force on the pinion gear divides equally between the 2 side gears. The pinion gears revolve with the pinion shaft, but the pinion gears do not rotate around the shaft itself. The side gears are splined to the axle shafts and in mesh with the pinion gears and rotate the axle shafts.

If a vehicle is always driven in a straight line, the ring and pinion gears would be sufficient. The axle shaft could then be solidly attached to the ring gear and both driving wheels would turn at equal speed.

However, when turning a corner, the tires would scuff and slide, because the outside wheel would travel farther than the inside wheel. In order to prevent tire scuffing and sliding, the differential allows the axle shafts to rotate at different speeds.

When the vehicle turns a corner, the inner wheel turns more slowly than the outer wheel and slows its axle side gear, because the axle shaft is splined to the side gear. The axle pinion gears will roll around the slowed axle side gear, driving the other axle side gear and wheel faster.

P model trucks use various rear axles. These axles can be identified by ring gear size in inches, by manufacturer (American Axle and Dana), and by the type of axle shaft used (semi-floating or full-floating). American Axle supplies the 10½ inch ring gear, while Dana supplies the 11 inch ring gear.