GM Service Manual Online
For 1990-2009 cars only

Parking Brake Cable Replacement Front Pedal Type

Removal Procedure


    Object Number: 491760  Size: MH
  1. Raise the vehicle and support the vehicle with safety stands. Refer to Lifting and Jacking the Vehicle in General Information.
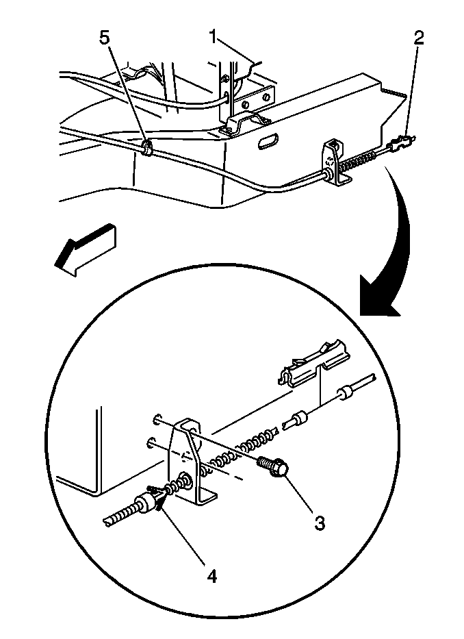
  2. Disconnect the nut from the equalizer.
  3. Remove the connector (2).
  4. Disconnect the cable from the frame bracket. Bend the retaining fingers (4).
  5. Disconnect the cable from the pedal assembly (1).
  6. Remove the retainer clip bolts and the retainer clips (5).

  7. Object Number: 176193  Size: SH
  8. Remove the cable assembly (5). Attach a piece of wire to the cable to help in the installation.

Installation Procedure


    Object Number: 176193  Size: SH
  1. Install the cable assembly (5). Ensure the retaining fingers are completely through the holes. Bend the retainers back into place.

  2. Object Number: 491760  Size: MH

    Notice: Use the correct fastener in the correct location. Replacement fasteners must be the correct part number for that application. Fasteners requiring replacement or fasteners requiring the use of thread locking compound or sealant are identified in the service procedure. Do not use paints, lubricants, or corrosion inhibitors on fasteners or fastener joint surfaces unless specified. These coatings affect fastener torque and joint clamping force and may damage the fastener. Use the correct tightening sequence and specifications when installing fasteners in order to avoid damage to parts and systems.

  3. Install the retainer clips (5) and the retainer clip bolts.
  4. Tighten
    Tighten the retainer clip bolts to 17 N·m (13 lb ft).

  5. Connect the cable (5) to the pedal assembly.
  6. Connect the cable to the frame bracket.
  7. Install the connector (2).
  8. Connect the nut to the equalizer.
  9. Adjust the parking brake. Refer to Park Brake Cable Service/Adjustment .
  10. Lower the vehicle.

Parking Brake Cable Replacement Actuator

Removal Procedure

Important: If the actuator will hold pressure, place the vehicle in neutral and turn the ignition to the ON position. This will release the load on the cable. Disconnect the cable at the relay lever. Shift the vehicle into park and turn the ignition to the OFF position. Proceed with the procedures below.

    CAUTION:: If the actuator will not hold pressure, do not unthread the parking brake cable from the actuator piston. The cable is under tension and unthreading the cable will cause the cable to spring and can result in personal injury.

  1. If the actuator will not hold pressure, move the column shift lever to the park position. If the actuator will hold pressure, move the column shift lever to the neutral position and turn the ignition switch ON.
  2. Raise the vehicle and support the vehicle with safety stands. Refer to Lifting and Jacking the Vehicle in General Information.

  3. Object Number: 176187  Size: SH
  4. Remove the cotter pin and the washers.
  5. Remove the clevis pin and remove cable from relay lever.

  6. Object Number: 176191  Size: SH
  7. Remove the cable from the relay lever (1) and bracket if the actuator holds pressure. Otherwise, cut the parking brake cable with a bolt cutter.
  8. Remove the bolt which secures a cable clip to the frame.

  9. Object Number: 410088  Size: SH
  10. Disconnect the parking brake cable (5) by removing the cable fitting (4) and the jamb nut (3) from the actuator rod (2).

Installation Procedure


    Object Number: 176191  Size: SH
  1. Connect the actuator cable (3) to the relay lever.

  2. Object Number: 176187  Size: SH
  3. Install the clevis pin, the washers and the cotter pin.
  4. Notice: Use the correct fastener in the correct location. Replacement fasteners must be the correct part number for that application. Fasteners requiring replacement or fasteners requiring the use of thread locking compound or sealant are identified in the service procedure. Do not use paints, lubricants, or corrosion inhibitors on fasteners or fastener joint surfaces unless specified. These coatings affect fastener torque and joint clamping force and may damage the fastener. Use the correct tightening sequence and specifications when installing fasteners in order to avoid damage to parts and systems.

  5. Install the frame clip bolt to secure the cable and install the straps to secure the cable.
  6. Tighten
    Tighten the frame clip bolt to 8 N·m (71 lb in).


    Object Number: 410088  Size: SH
  7. Connect the cable (5) to the actuator bracket.
  8. Connect the cable fitting (4) and the jamb nut (3) to the actuator piston rod (2).
  9. Install the jamb nut against the cable fitting to obtain between 30-37 mm (1.20-1.44 in) travel.
  10. Tighten
    Tighten the jamb nut to 45 N·m (33 lb ft).

  11. Adjust the parking brake. Refer to Park Brake Cable Service/Adjustment .
  12. Lower the vehicle. Refer to Lifting and Jacking the Vehicle in General Information.

Parking Brake Cable Replacement Front Lever Type

Removal Procedure

  1. Raise the vehicle and support the vehicle with safety stands. Refer to Lifting and Jacking the Vehicle in General Information.
  2. Remove the nut from the equalizer.

  3. Object Number: 176301  Size: MH
  4. Remove the connector.
  5. Remove the retainer clip bolts and retainer clips.

  6. Object Number: 176162  Size: SH
  7. Disconnect the cable from the lever assembly (1).
  8. Remove the retaining fingers (3).
  9. Remove the cable assembly (4). Attach a piece of wire to the cable to help in the installation.

Installation Procedure


    Object Number: 176162  Size: SH
  1. Install the cable assembly (4).
  2. Install the retaining fingers (3).
  3. Connect the cable to the lever assembly (1).
  4. Notice: Use the correct fastener in the correct location. Replacement fasteners must be the correct part number for that application. Fasteners requiring replacement or fasteners requiring the use of thread locking compound or sealant are identified in the service procedure. Do not use paints, lubricants, or corrosion inhibitors on fasteners or fastener joint surfaces unless specified. These coatings affect fastener torque and joint clamping force and may damage the fastener. Use the correct tightening sequence and specifications when installing fasteners in order to avoid damage to parts and systems.

  5. Install the retainer clips and the retainer clip bolts.
  6. Tighten
    Tighten the retainer clip bolts to 17 N·m (13 lb ft).


    Object Number: 176301  Size: MH
  7. Install the connector.
  8. Install the nut to the equalizer.
  9. Adjust the parking brake. Refer to Park Brake Cable Service/Adjustment .
  10. Lower the vehicle.

Parking Brake Cable Replacement Center

Removal Procedure

  1. Raise the vehicle and support the vehicle with safety stands. Refer to Lifting and Jacking the Vehicle in General Information.
  2. Remove the nut from the equalizer.

  3. Object Number: 176301  Size: MH
  4. Remove the front and rear connectors.
  5. Remove the cable through the guide grommets.

Installation Procedure


    Object Number: 176298  Size: MH
  1. Install the cable through the guide grommets.

  2. Object Number: 176301  Size: MH
  3. Install the connectors.
  4. Install the nut to the equalizer.
  5. Adjust the parking brake. Refer to Park Brake Cable Service/Adjustment .
  6. Lower the vehicle.

Parking Brake Cable Replacement Rear

Removal Procedure

  1. Raise the vehicle and support the vehicle with safety stands. Refer to Lifting and Jacking the Vehicle in General Information.

  2. Object Number: 411342  Size: SH
  3. Mark the position of RH rear cable nut at the equalizer and remove the nut.

  4. Object Number: 176301  Size: MH
  5. Remove the connector.

  6. Object Number: 411342  Size: SH
  7. Disconnect the LH cable from the equalizer and frame bracket, and the RH cable from the frame bracket.

  8. Object Number: 411346  Size: SH
  9. Disconnect the RH cable from the axle brackets.
  10. Remove the RH and LH rear brake hub and drum assemblies and disconnect the parking brake cable from each brake side. Refer to Brake Drum Replacement in Drum Brakes.
  11. Remove the retaining clips.
  12. Remove the cable assemblies.

Installation Procedure


    Object Number: 411346  Size: SH
  1. Install the cable assemblies to each brake side. Make sure all of the retaining fingers are completely through the backing plate.
  2. Install the retaining clips.
  3. Install the hub and drum assembly on each side. Refer to Brake Drum Replacement in Drum Brakes.
  4. Notice: Use the correct fastener in the correct location. Replacement fasteners must be the correct part number for that application. Fasteners requiring replacement or fasteners requiring the use of thread locking compound or sealant are identified in the service procedure. Do not use paints, lubricants, or corrosion inhibitors on fasteners or fastener joint surfaces unless specified. These coatings affect fastener torque and joint clamping force and may damage the fastener. Use the correct tightening sequence and specifications when installing fasteners in order to avoid damage to parts and systems.

  5. Rout the RH rear cable through the clip on the rear axle bracket and tighten the bolt to secure the clip to the bracket.
  6. Tighten
    Tighten the bolt to 31 N·m (23 lb ft).


    Object Number: 411342  Size: SH
  7. Rout and secure the RH and LH cables through the side member bracket and the equalizer.

  8. Object Number: 176301  Size: MH
  9. Install the connector.

  10. Object Number: 411342  Size: SH
  11. Install the RH cable nut at the equalizer to the previously marked position.
  12. Check the parking brake adjustment. Refer to Park Brake Cable Service/Adjustment .
  13. Lower the vehicle.