GM Service Manual Online
For 1990-2009 cars only

Removal Procedure

Important: After installation, calibrate the new EBCM to the tire size that is appropriate to the vehicle. Refer to Tire Size Calibration and to Trim Level Calibration portions of ABS Operation .

    Caution: Unless directed otherwise, the ignition and start switch must be in the OFF or LOCK position, and all electrical loads must be OFF before servicing any electrical component. Disconnect the negative battery cable to prevent an electrical spark should a tool or equipment come in contact with an exposed electrical terminal. Failure to follow these precautions may result in personal injury and/or damage to the vehicle or its components.

  1. Negative Battery Cable.
  2. Raise vehicle and properly support.

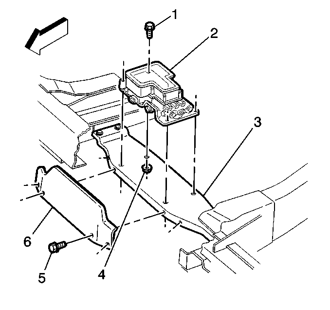
  3. Object Number: 191524  Size: SH
  4. Remove the four EHCU shield bolts (5) and shield (6).
  5. Loosen the four EHCU crossmember nuts.
  6. Remove only the two passenger side crossmember nuts. Allow the crossmember to drop down allowing access to the EHCU.
  7. Remove the four EBCM wiring harness connectors.

  8. Object Number: 184187  Size: SH
  9. Remove the four T-25 Torx® bolts (1) that fasten the EBCM to the BPMV.
  10. Remove the EBCM (2) from the BPMV (4) Removal may require a light amount of force.
  11. Important: Do not use a tool to pry the EBCM from the BPMV. Excessive force will damage the EBCM.

  12. Clean the BPMV with a clean, dry cloth.

Installation Procedure

Important: If the EBCM mounting bolts are corroded or damaged, do not reuse the old mounting bolts. Install new EBCM mounting bolts with the new EBCM.

Important: Do not use RTV or any other type of sealant on the EBCM to BPMV mating surface.


    Object Number: 184187  Size: SH
  1. Install EBCM (2) to BPMV (4).
  2. Notice: Use the correct fastener in the correct location. Replacement fasteners must be the correct part number for that application. Fasteners requiring replacement or fasteners requiring the use of thread locking compound or sealant are identified in the service procedure. Do not use paints, lubricants, or corrosion inhibitors on fasteners or fastener joint surfaces unless specified. These coatings affect fastener torque and joint clamping force and may damage the fastener. Use the correct tightening sequence and specifications when installing fasteners in order to avoid damage to parts and systems.

  3. Install the four EBCM bolts (1).
  4. Tighten
    Tighten the four bolts to 5 N·m (39 lb in) in an X-pattern.

  5. Connect the four electrical connectors to the EBCM.

  6. Object Number: 191524  Size: SH
  7. Install the two passenger side crossmember nuts.
  8. Tighten
    Tighten the two crossmember nuts to 38 N·m (30 lb ft).

  9. Install the EHCU Shield.
  10. Tighten
    Tighten the four bolts to 11 N·m (8 lb ft).

  11. Lower the vehicle
  12. Connect the negative battery cable.
  13. Revise the tire calibration using the Scan Tool .
  14. Return to Diagnostic System Check. Refer to Diagnostic System Check .