GM Service Manual Online
For 1990-2009 cars only
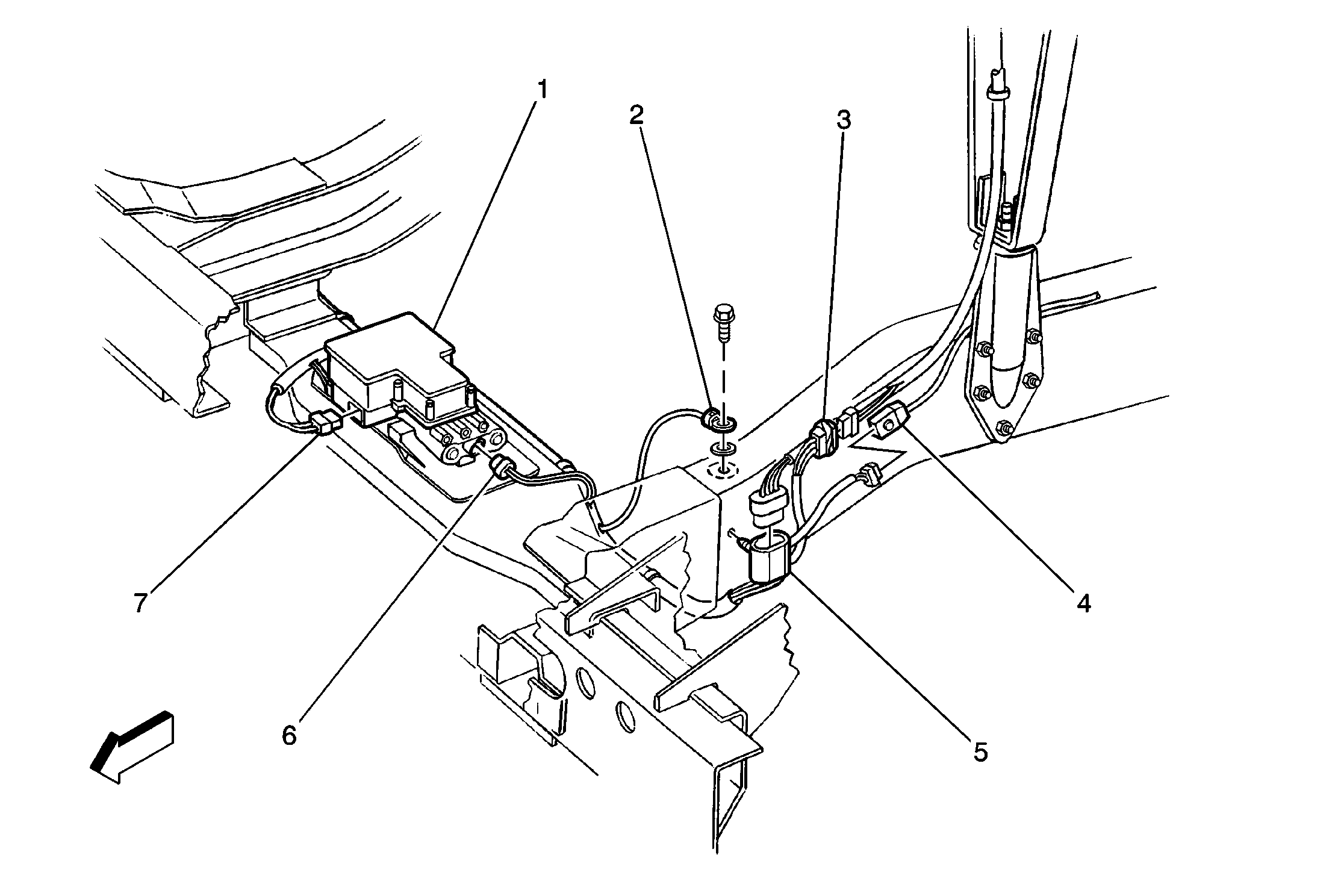
Figure 1:

Electronic Brake Control Module (EBCM)


Object Number: 186166  Size: MF
(1)Electronic Brake Control Module (EBCM)
(2)G110
(3)C111
(4)Wheel Speed Sensor Pigtail
(5)C110
(6)Brake Pressure Differential Switch
(7)C2
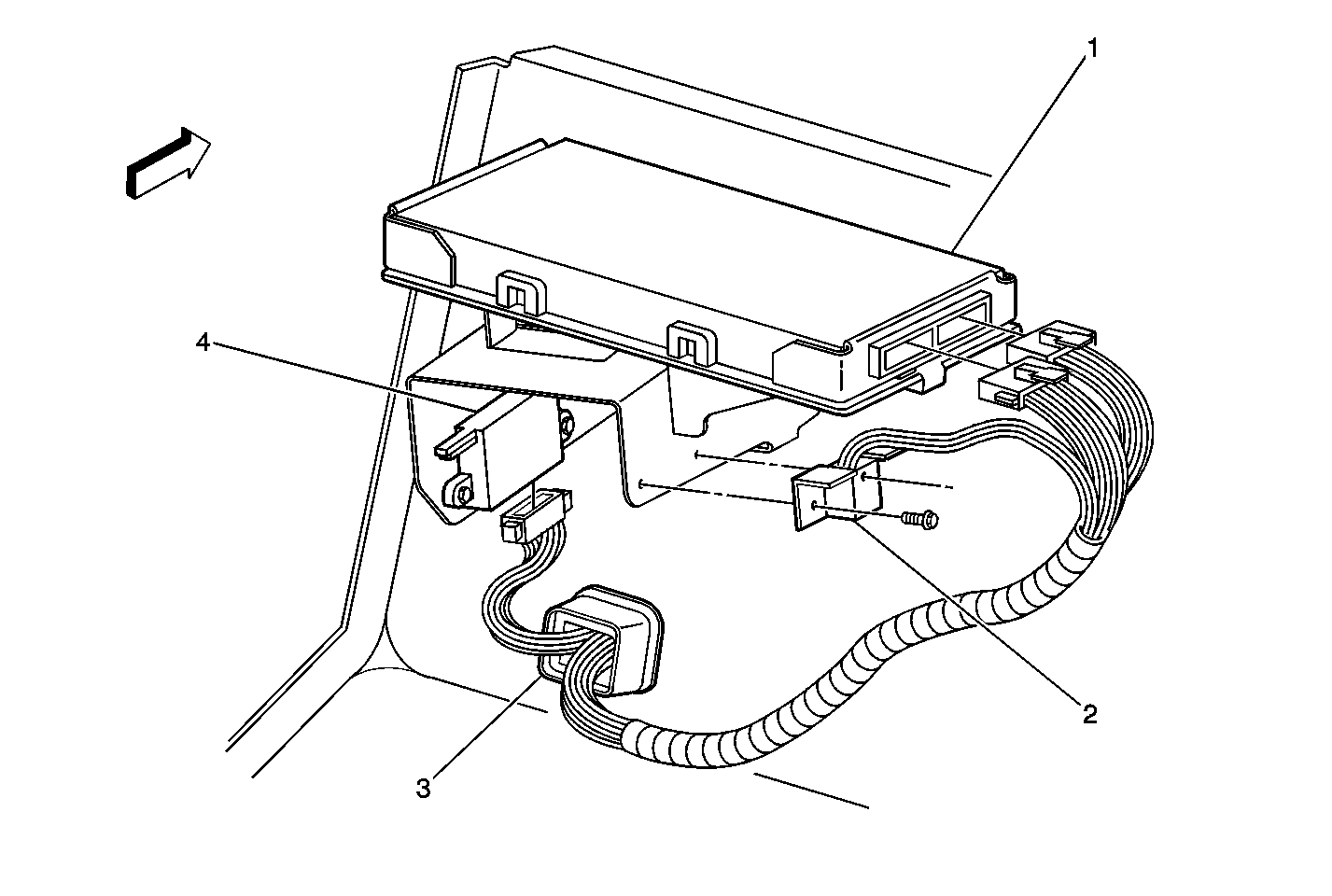
Figure 2:

Electronic Brake Control Module, Rear View


Object Number: 180066  Size: MF
(1)ABS Harness
(2)ABS Ground (G110)
(3)Electronic Brake Control Module (EBCM)
(4)Brake Pressure Differential Switch
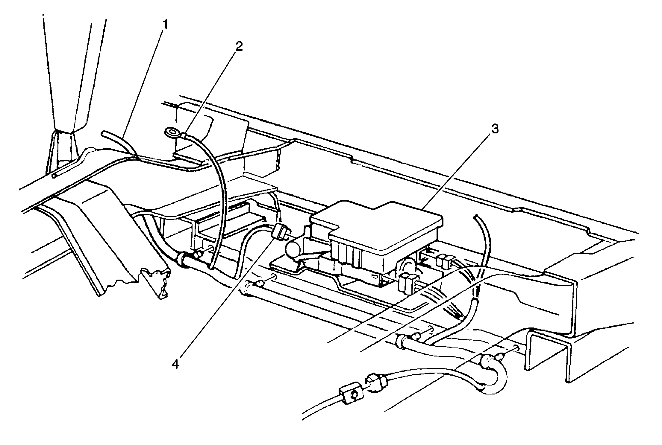
Figure 3:

Engine Wiring- Gasoline Right Hand Forward of Bulkhead


Object Number: 441439  Size: LF
(1)Mass Air Flow Sensor (MAF)
(2)Intake Air Temperature Sensor (IAT)
(3)Wheel Speed Sensor (WSS) (Right Shown, Left Typical)
Figure 4:

IP Side of Engine Wiring--Diesel--Forward View


Object Number: 440934  Size: MF
(1)Powertrain Control Module (EFI Diesel)/Transmission Control Module (MFI Diesel with Auto Trans)
(2)Data Link Connector (DLC)
(3)P100
(4)Vehicle Speed Sensor (VSS) Calibrator
Figure 5:

Engine Wiring Harness to Dash and Steering Column


Object Number: 186174  Size: MF
(1)Turn Signal Switch Connector
(2)Headlamps Dimmer Switch
(3)Data Link Connector (DLC)
(4)Powertrain Control Module (Diesel)
(5)Ignition Switch
(6)Brake Transmission Shift Interlock (BTSI) Solenoid
(7)Daytime Running Lamps (DRL) Relay
(7)Daytime Running Lamps (DRL) Relay
(8)Horn Relay
(8)Horn Relay
(9)Brake Transmission Shift Interlock (BTSI) Relay
(10)Fan Control Relay