| Table 1: | Accelerator Pedal Position (APP) Module |
| Table 2: | Clutch Pedal Position (CPP) Switch |
| Table 3: | Crankshaft Position (CKP) Sensor |
| Table 4: | Engine Coolant Temperature (ECT) Sensor |
| Table 5: | Engine Shut Off (ESO) Solenoid |
| Table 6: | Fuel Heater |
| Table 7: | Fuel Lift Pump |
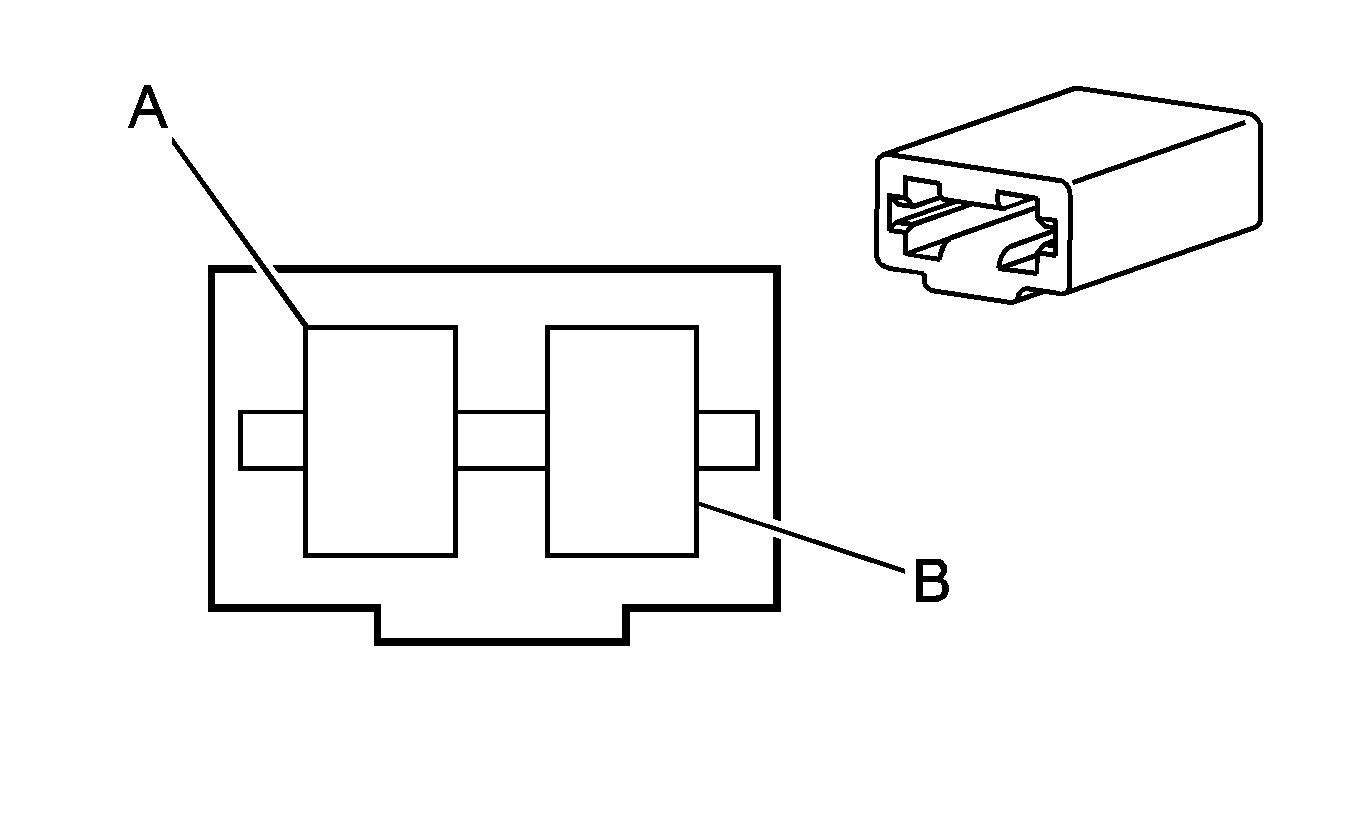
| Table 8: | Fuel Pump Relay |
| Table 9: | Fuel Sender |
| Table 10: | Fuel Solenoid Driver |
| Table 11: | Glow Plug Controller |
| Table 12: | Injection Timing Stepper Motor |
| Table 13: | Intake Air Temperature (IAT) Sensor |
| Table 14: | Manifold Absolute Pressure Sensor |
| Table 15: | Optical Fuel Temperature Sensor |
| Table 16: | Park/Neutral Position (PNP) and Backup Lamps Switch C1 |
| Table 17: | Park/Neutral Position (PNP) and Backup Lamps Switch C2 |
| Table 18: | Transmission Input Speed Sensor (TISS) |
| Table 19: | Transmission Output Speed Sensor (TOSS) |
| Table 20: | Vehicle Speed Sensor (VSS) |
| Table 21: | Vehicle Speed Sensor Calibrator |
| Table 22: | Water In Fuel Indicator Sensor |
| |||||||
|---|---|---|---|---|---|---|---|
Connector Part Information |
| ||||||
Pin | Wire Color | Circuit No. | Function | ||||
A | BRN | 718 | Electronic Throttle-Pedal Position Return 1 | ||||
B | PPL | 719 | Electronic Throttle-Pedal Position Return 2 | ||||
C |
PPL | 486 | Electronic Throttle-Pedal Position Signal 2 | ||||
D | GRY | 597 | Electronic Throttle-Pedal Position 5V Ref 2 | ||||
E | GRY | 596 | Electronic Throttle-Pedal Position 5V Ref 3 | ||||
F | DK GRN | 485 | Electronic Throttle-Pedal Position Signal 1 | ||||
G | GRY | 598 | Electronic Throttle-Pedal Position 5V Ref 1 | ||||
H | -- | -- | Not Used | ||||
J | GRY | 720 | Electronic Throttle-Pedal Position Return 3 | ||||
K | YEL/BLK | 487 | Electronic Throttle-Pedal Position Signal 3 | ||||
| |||||||
|---|---|---|---|---|---|---|---|
Connector Part Information |
| ||||||
Pin | Wire Color | Circuit No. | Function | ||||
A | DK BLU /WHT | 805 | Ignition Switch Output-Run/Heat/Crank | ||||
B | PPL | 420 | Brake Pedal Switch Output-Torque Converter Clutch | ||||
C | PPL | 806 | Fuse Output-Crank-Type III Fuse | ||||
D | BRN/WHT | 379 | Cruise Control Clutch Pedal Switch Output | ||||
| |||||||
|---|---|---|---|---|---|---|---|
Connector Part Information |
| ||||||
Pin | Wire Color | Circuit No. | Function | ||||
A | YEL | 573 | Crankshaft Position Sensor Signal | ||||
B | PPL | 574 | Crankshaft Position Sensor Return | ||||
C | GRY | 416 | Reference Voltage Feed-5 Volt Reference | ||||
| |||||||
|---|---|---|---|---|---|---|---|
Connector Part Information |
| ||||||
Pin | Wire Color | Circuit No. | Function | ||||
A | YEL | 410 | Coolant Temperature Sensor Signal | ||||
B | BLK | 452 | Sensor Return | ||||
| |||||||
|---|---|---|---|---|---|---|---|
Connector Part Information |
| ||||||
Pin | Wire Color | Circuit No. | Function | ||||
A | DK BLU /WHT | 259 | Engine Shutoff Solenoid Output | ||||
B | PNK | 339 | Fuse Output-Ignition 1-Type III Fuse | ||||
| |||||||
|---|---|---|---|---|---|---|---|
Connector Part Information |
| ||||||
Pin | Wire Color | Circuit No. | Function | ||||
A | BLK | 150 | Ground | ||||
B | -- | -- | Not Used | ||||
C | PNK | 539 | Fuse Output-Ignition 1-Type III Fuse | ||||
| |||||||
|---|---|---|---|---|---|---|---|
Connector Part Information |
| ||||||
Pin | Wire Color | Circuit No. | Function | ||||
A | BLK | 150 | Ground | ||||
B | GRY | 120 | Fuel Pump Motor Feed | ||||
| |||||||
|---|---|---|---|---|---|---|---|
Connector Part Information |
| ||||||
Pin | Wire Color | Circuit No. | Function | ||||
30 | GRY | 120 | Fuel Pump Motor Feed | ||||
85 | DK GRN /WHT | 465 | Fuel Pump Relay Feed-Coil | ||||
86 | BLK | 150 | Ground | ||||
87 | ORN | 440 | Fuse Output-Battery-Type III Fuse | ||||
87A | RED | 490 | Fuel Pump Relay Feed-N.C. Contact-Prime | ||||
| |||||||
|---|---|---|---|---|---|---|---|
Connector Part Information |
| ||||||
Pin | Wire Color | Circuit No. | Function | ||||
A | PPL | 30 | Fuel Gauge Sensor Signal | ||||
B-C | -- | -- | Not Used | ||||
D | BLK | 150 | Ground | ||||
| |||||||
|---|---|---|---|---|---|---|---|
Connector Part Information |
| ||||||
Pin | Wire Color | Circuit No. | Function | ||||
A | LT GRN | 260 | Fuel Solenoid Module Feed | ||||
B | BLK | 491 | Fuel Solenoid Return-Closure | ||||
C | PNK | 339 | Fuse Output-Ignition 1-Type III Fuse | ||||
D | RED | 313 | Fuel Solenoid Closure Signal | ||||
| |||||||
|---|---|---|---|---|---|---|---|
Connector Part Information |
| ||||||
Pin | Wire Color | Circuit No. | Function | ||||
A | PNK | 539 | Fuse Output-Ignition 1-Type III Fuse | ||||
B | YEL | 505 | Glow Plug Relay Feed-Coil | ||||
C | BLK | 150 | Ground | ||||
D | -- | -- | Not Used | ||||
| |||||||
|---|---|---|---|---|---|---|---|
Connector Part Information |
| ||||||
Pin | Wire Color | Circuit No. | Function | ||||
A | TAN/BLK | 1030 | Injection Timing Stepper Motor Feed-Coil A-Low | ||||
B | ORN/BLK | 1032 | Injection Timing Stepper Motor Feed-Coil B-Low | ||||
C | YEL/BLK | 1033 | Injection Timing Stepper Motor Feed-Coil B-High | ||||
D | RED/BLK | 1031 | Injection Timing Stepper Motor Feed-Coil A-High | ||||
| |||||||
|---|---|---|---|---|---|---|---|
Connector Part Information |
| ||||||
Pin | Wire Color | Circuit No. | Function | ||||
A | TAN | 472 | Manifold Absolute Temperature Sensor Signal | ||||
B | BLK | 452 | Sensor Return | ||||
| |||||||
|---|---|---|---|---|---|---|---|
Connector Part Information |
| ||||||
Pin | Wire Color | Circuit No. | Function | ||||
A | BLK | 452 | Sensor Return | ||||
B | LT GRN | 432 | Manifold Absolute Pressure Sensor Signal | ||||
C | GRY | 416 | Reference Voltage Feed-5 Volt Reference | ||||
| |||||||
|---|---|---|---|---|---|---|---|
Connector Part Information |
| ||||||
Pin | Wire Color | Circuit No. | Function | ||||
A | GRY | 474 | Reference Voltage Feed-5 Volt Reference | ||||
B | BRN/WHT | 633 | Camshaft Position Sensor Signal | ||||
C | ORN | 1799 | Camshaft Position Sensor Signal-High Resolution | ||||
D | PNK/BLK | 632 | Camshaft Position Sensor Return | ||||
E | YEL | 1578 | Fuel Temperature Signal | ||||
F | PNK/BLK | 632 | Camshaft Position Sensor Return | ||||
| |||||||
|---|---|---|---|---|---|---|---|
Connector Part Information |
| ||||||
Pin | Wire Color | Circuit No. | Function | ||||
A | -- | -- | Not Used | ||||
B | YEL | 1737 | Transmission Mounted Neutral Safety Switch Output-Park/Neutral | ||||
C | BRN | 141 | Fuse Output-Ignition 3-Type III Fuse | ||||
D | -- | -- | Not Used | ||||
E | DK BLU /WHT | 805 | Ignition Switch Output-Run/Heat/Crank | ||||
F | LT GRN | 24 | Backup Lamp Feed | ||||
G | PPL | 806 | Fuse Output-Crank-Type III Fuse | ||||
| |||||||
|---|---|---|---|---|---|---|---|
Connector Part Information |
| ||||||
Pin | Wire Color | Circuit No. | Function | ||||
A-B | -- | -- | Not Used | ||||
C | BLK | 901 | PNP Switch | ||||
D | BLK | 901 | PNP Switch | ||||
| |||||||
|---|---|---|---|---|---|---|---|
Connector Part Information |
| ||||||
Pin | Wire Color | Circuit No. | Function | ||||
A | DK BLU /WHT | 1231 | Transmission Input Speed Sensor Return | ||||
B | RED/BLK | 1230 | Transmission Input Speed Sensor Signal | ||||
| |||||||
|---|---|---|---|---|---|---|---|
Connector Part Information |
| ||||||
Pin | Wire Color | Circuit No. | Function | ||||
A | LT GRN /BLK | 822 | Vehicle Speed Sensor Return | ||||
B | PPL/WHT | 821 | Vehicle Speed Sensor Signal | ||||
| |||||||
|---|---|---|---|---|---|---|---|
Connector Part Information |
| ||||||
Pin | Wire Color | Circuit No. | Function | ||||
A | LT GRN /BLK | 822 | Vehicle Speed Sensor Return | ||||
B | PPL/WHT | 821 | Vehicle Speed Sensor Signal | ||||
| |||||||
|---|---|---|---|---|---|---|---|
Connector Part Information |
| ||||||
Pin | Wire Color | Circuit No. | Function | ||||
7 | LT GRN /BLK | 822 | Vehicle Speed Sensor Return | ||||
8 | BLK/WHT | 451 | Engine Control Module Ground | ||||
9 | PNK | 439 | Fuse Output-Ignition 1-Type III Fuse | ||||
10 | YEL/BLK | 1827 | Vehicle Speed Signal-128000 Pulses Per Mile | ||||
11 | -- | -- | Not Used | ||||
12 | PPL/WHT | 821 | Vehicle Speed Sensor Signal | ||||
13 | BRN | 437 | Vehicle Speed Signal | ||||
14 | DK GRN /WHT | 817 | Vehicle Speed Signal-4000 Pulses Per Mile | ||||
15 | DK GRN | 389 | Vehicle Speed Signal-4000 Pulses Per Mile | ||||
| |||||||
|---|---|---|---|---|---|---|---|
Connector Part Information |
| ||||||
Pin | Wire Color | Circuit No. | Function | ||||
A | PNK | 539 | Fuse Output-Ignition 1-Type III Fuse | ||||
B | YEL/BLK | 508 | Water In Fuel Indicator Lamp Output | ||||
C | BLK | 150 | Ground | ||||
| Table 1: | Barometric Pressure Sensor |
| Table 2: | Clutch Pedal Position (CPP) Switch |
| Table 3: | Cold Advance Solenoid, Engine Coolant Temperature Switch |
| Table 4: | Engine Speed Sensor |
| Table 5: | Fuel Heater |
| Table 6: | Fuel Lift Pump |
| Table 7: | Fuel Pump Relay |
| Table 8: | Fuel Sender |
| Table 9: | Glow Plug Controller |
| Table 10: | Glow Plug Relay |
| Table 11: | Park/Neutral Position (PNP) and Backup Lamps Switch C1 |
| Table 12: | Park/Neutral Position (PNP) and Backup Lamps Switch C2 |
| Table 13: | Throttle Position (TP) Sensor |
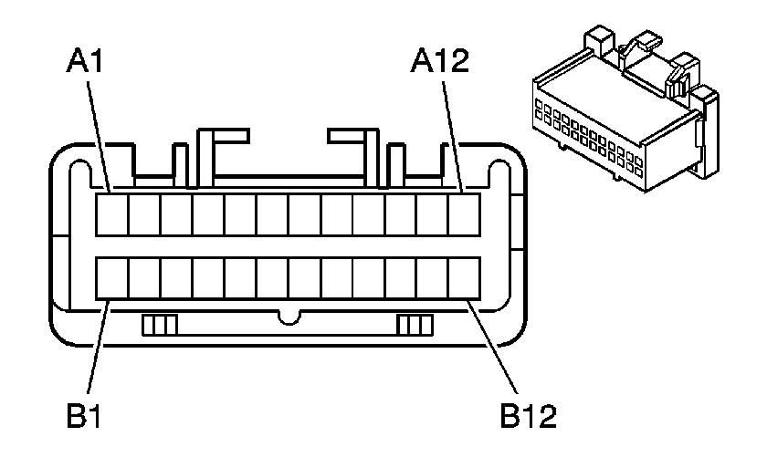
| Table 14: | Transmission Control Module (TCM) C1 |
| Table 15: | Transmission Control Module (TCM) C2 |
| Table 16: | Transmission Input Speed Sensor (TISS) |
| Table 17: | Transmission Output Speed Sensor (TOSS) |
| Table 18: | Vehicle Speed Sensor (VSS) |
| Table 19: | Vehicle Speed Sensor Calibrator |
| Table 20: | Water In Fuel Indicator Sensor |
| |||||||
|---|---|---|---|---|---|---|---|
Connector Part Information |
| ||||||
Pin | Wire Color | Circuit No. | Function | ||||
A | BLK | 452 | Sensor Return | ||||
B | GRY/BLK | 433 | Barometric Pressure Sensor Signal | ||||
C | GRY | 416 | Reference Voltage Feed-5 Volt Reference | ||||
| |||||||
|---|---|---|---|---|---|---|---|
Connector Part Information |
| ||||||
Pin | Wire Color | Circuit No. | Function | ||||
A | DK BLU /WHT | 805 | Ignition Switch Output-Run/Heat/Crank | ||||
B | -- | -- | Not Used | ||||
C | PPL | 806 | Fuse Output-Crank-Type III Fuse | ||||
D | -- | -- | Not Used | ||||
| |||||||
|---|---|---|---|---|---|---|---|
Connector Part Information |
| ||||||
Pin | Wire Color | Circuit No. | Function | ||||
A | PNK | 539 | Fuse Output-Ignition 1-Type III Fuse | ||||
B | LT GRN | 531 | Cold Advance Control Solenoid Feed | ||||
| |||||||
|---|---|---|---|---|---|---|---|
Connector Part Information |
| ||||||
Pin | Wire Color | Circuit No. | Function | ||||
A | WHT | 935 | Transmission Control Module | ||||
B | BLK | 452 | Sensor Return | ||||
| |||||||
|---|---|---|---|---|---|---|---|
Connector Part Information |
| ||||||
Pin | Wire Color | Circuit No. | Function | ||||
A | BLK | 150 | Ground | ||||
B | -- | -- | Not Used | ||||
C | PNK | 539 | Fuse Output-Ignition 1-Type III Fuse | ||||
| |||||||
|---|---|---|---|---|---|---|---|
Connector Part Information |
| ||||||
Pin | Wire Color | Circuit No. | Function | ||||
A | BLK | 150 | Ground | ||||
B | GRY | 120 | Fuel Pump Motor Feed | ||||
| |||||||
|---|---|---|---|---|---|---|---|
Connector Part Information |
| ||||||
Pin | Wire Color | Circuit No. | Function | ||||
30 | GRY | 120 | Fuel Pump Motor Feed | ||||
85 | PNK | 439 | Fuse Output-Ignition 1-Type III Fuse | ||||
86 | BLK/WHT | 451 | Engine Control Module Ground | ||||
87 | ORN | 440 | Fuse Output-Battery-Type III Fuse | ||||
87A | RED | 490 | Fuel Pump Relay Feed-N.C. Contact-Prime | ||||
| |||||||
|---|---|---|---|---|---|---|---|
Connector Part Information |
| ||||||
Pin | Wire Color | Circuit No. | Function | ||||
A | PPL | 30 | Fuel Gauge Sensor Signal | ||||
B-C | -- | -- | Not Used | ||||
D | BLK | 150 | Ground | ||||
| |||||||
|---|---|---|---|---|---|---|---|
Connector Part Information |
| ||||||
Pin | Wire Color | Circuit No. | Function | ||||
A | -- | -- | Not Used | ||||
B | PPL | 806 | Fuse Output-Crank-Type III Fuse | ||||
C | BRN | 104 | Fuse Output-Glow Plug-Type III Fuse | ||||
D | PNK | 539 | Fuse Output-Ignition 1-Type III Fuse | ||||
E | BLK | 150 | Ground | ||||
| |||||||
|---|---|---|---|---|---|---|---|
Connector Part Information |
| ||||||
Pin | Wire Color | Circuit No. | Function | ||||
30 | DK BLU | 507 | Glow Plug Indicator Lamp Signal | ||||
85 | BRN | 104 | Fuse Output-Glow Plug-Type III Fuse | ||||
86 | BLK | 250 | Ground | ||||
87 | BLK | 250 | Ground | ||||
| |||||||
|---|---|---|---|---|---|---|---|
Connector Part Information |
| ||||||
Pin | Wire Color | Circuit No. | Function | ||||
A | -- | -- | Not Used | ||||
B | YEL | 1737 | Transmission Mounted Neutral Safety Switch Output-Park/Neutral | ||||
C | BRN | 141 | Fuse Output-Ignition 3-Type III Fuse | ||||
D | -- | -- | Not Used | ||||
E | DK BLU /WHT | 805 | Ignition Switch Output-Run/Heat/Crank | ||||
F | LT GRN | 24 | Backup Lamp Feed | ||||
G | PPL | 806 | Fuse Output-Crank-Type III Fuse | ||||
| |||||||
|---|---|---|---|---|---|---|---|
Connector Part Information |
| ||||||
Pin | Wire Color | Circuit No. | Function | ||||
A-B | -- | -- | Not Used | ||||
C | BLK | 901 | PNP Switch | ||||
D | BLK | 901 | PNP Switch | ||||
| |||||||
|---|---|---|---|---|---|---|---|
Connector Part Information |
| ||||||
Pin | Wire Color | Circuit No. | Function | ||||
A | GRY | 416 | Reference Voltage Feed-5 Volt Reference | ||||
B | DK BLU | 417 | Throttle Position Sensor Signal | ||||
C | BLK | 452 | Sensor Return | ||||
| |||||||
|---|---|---|---|---|---|---|---|
Connector Part Information |
| ||||||
Pin | Wire Color | Circuit No. | Function | ||||
C1 | BLK/WHT | 451 | Engine Control Module Ground | ||||
C2 | BLK/WHT | 451 | Engine Control Module Ground | ||||
C3 | BLK | 452 | Sensor Return | ||||
C4 | GRY | 416 | Reference Voltage Feed-5 Volt Reference | ||||
C5-C14 | -- | -- | Not Used | ||||
C15 | LT BLU /WHT | 1229 | Transmission Force Motor Return | ||||
C16 | PNK | 439 | Fuse Output-Ignition 1-Type III Fuse | ||||
D1 | -- | -- | Not Used | ||||
D2 | BRN | 437 | Vehicle Speed Signal | ||||
D3 | DK BLU /WHT | 1231 | Transmission Input Speed Sensor Return | ||||
D4 | RED/BLK | 1230 | Transmission Input Speed Sensor Signal | ||||
D5 | -- | -- | Not Used | ||||
D6 | WHT | 935 | Engine Speed Sensor | ||||
D7 | BLK | 452 | Sensor Return | ||||
D8 | DK BLU | 417 | Throttle Position Sensor Signal | ||||
D9-D12 | -- | -- | Not Used | ||||
D13 | YEL/BLK | 1227 | Transmission Temperature Sensor Signal | ||||
D14 | GRY/BLK | 433 | Barometric Pressure Sensor Signal | ||||
D15 | -- | -- | Not Used | ||||
D16 | RED/BLK | 1228 | Transmission Force Motor Feed | ||||
| |||||||
|---|---|---|---|---|---|---|---|
Connector Part Information |
| ||||||
Pin | Wire Color | Circuit No. | Function | ||||
A1-A2 | -- | -- | Not Used | ||||
A3 | PNK | 1224 | Transmission Pressure Switch Signal-Bit 1 | ||||
A4 | DK BLU | 1225 | Transmission Pressure Switch Signal-Bit 2 | ||||
A5 | RED | 1226 | Transmission Pressure Switch Signal-Bit 3 | ||||
A6 | YEL/BLK | 1223 | Shift Solenoid B Output | ||||
A7 | LT GRN | 1222 | Shift Solenoid A Output | ||||
A8 | WHT/BLK | 448 | Diagnostic Enable Signal-Powertrain | ||||
A9-A11 | -- | -- | Not Used | ||||
A12 | ORN | 440 | Fuse Output-Battery-Type III Fuse | ||||
B1-B3 | -- | -- | Not Used | ||||
B4 | PPL | 420 | Brake Pedal Switch Output-Torque Converter Clutch | ||||
B5 | BRN | 418 | Torque Converter Clutch Solenoid Output-Pulse Width Modulated | ||||
B6-B8 | -- | -- | Not Used | ||||
B9 | GRY | 1234 | Do Not Shift Indicator Lamp Output | ||||
B10 | TAN | 800 | Serial Data Signal-UART-8192 BAUD-Primary | ||||
B11-B12 | -- | -- | Not Used | ||||
| |||||||
|---|---|---|---|---|---|---|---|
Connector Part Information |
| ||||||
Pin | Wire Color | Circuit No. | Function | ||||
A | DK BLU /WHT | 1231 | Transmission Input Speed Sensor Return | ||||
B | RED/BLK | 1230 | Transmission Input Speed Sensor Signal | ||||
| |||||||
|---|---|---|---|---|---|---|---|
Connector Part Information |
| ||||||
Pin | Wire Color | Circuit No. | Function | ||||
A | LT GRN /BLK | 822 | Vehicle Speed Sensor Return | ||||
B | PPL/WHT | 821 | Vehicle Speed Sensor Signal | ||||
| |||||||
|---|---|---|---|---|---|---|---|
Connector Part Information |
| ||||||
Pin | Wire Color | Circuit No. | Function | ||||
A | LT GRN /BLK | 822 | Vehicle Speed Sensor Return | ||||
B | PPL/WHT | 821 | Vehicle Speed Sensor Signal | ||||
| |||||||
|---|---|---|---|---|---|---|---|
Connector Part Information |
| ||||||
Pin | Wire Color | Circuit No. | Function | ||||
7 | LT GRN /BLK | 822 | Vehicle Speed Sensor Return | ||||
8 | BLK/WHT | 451 | Engine Control Module Ground | ||||
9 | PNK | 439 | Fuse Output-Ignition 1-Type III Fuse | ||||
10 | YEL/BLK | 1827 | Vehicle Speed Signal-128000 Pulses Per Mile | ||||
11 | -- | -- | Not Used | ||||
12 | PPL/WHT | 821 | Vehicle Speed Sensor Signal | ||||
13 (MT1) | BRN | 437 | Vehicle Speed Signal | ||||
13 MW3)-14 | -- | -- | Not Used | ||||
15 | DK GRN | 389 | Vehicle Speed Signal-4000 Pulses Per Mile | ||||
| |||||||
|---|---|---|---|---|---|---|---|
Connector Part Information |
| ||||||
Pin | Wire Color | Circuit No. | Function | ||||
A | PNK | 539 | Fuse Output-Ignition 1-Type III Fuse | ||||
B | YEL/BLK | 508 | Water In Fuel Indicator Lamp Output | ||||
C | BLK | 150 | Ground | ||||