| Figure 1: |
Batteries, Battery Cables, Starter
|
| Figure 2: |
Electronic Brake Control Module (EBCM)
|
| Figure 3: |
Electronic Brake Control Module, Rear View
|
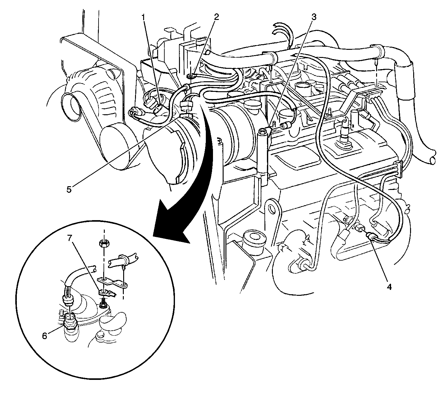
| Figure 4: |
Engine Wiring (Gasoline), LH Front
|
| Figure 5: |
Engine Wiring--4.3L Upper LH Front View
|
| Figure 6: |
Engine Wiring 4.3L, Upper RH Rear
|
| Figure 7: |
Engine Wiring--5.7L Upper LH Forward View
|
| Figure 8: |
Engine Wiring -- Diesel, Upper RH Side View
|
| Figure 9: |
Engine Wiring (Diesel), Upper LH Rear
|
| Figure 10: |
IP Side of Engine Wiring -- All Engines (P42)
|
| Figure 11: |
Remote Battery Access (Jump Start) Terminal Block
|
| Figure 12: |
Rear Lamps Extension, LH Side View
|
| Figure 13: |
Rear Lamps Typical (Body Builder Installed)
|
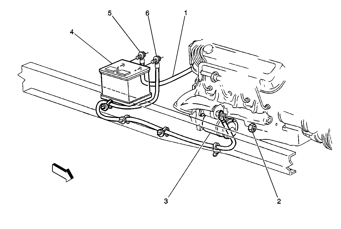
| Figure 14: |
Battery Wiring-Gasoline Engines
|
| Figure 15: |
Engine Wiring Right Side (L29)
|
| Figure 16: |
Engine Wiring Harness Rear (L29)
|