GM Service Manual Online
For 1990-2009 cars only

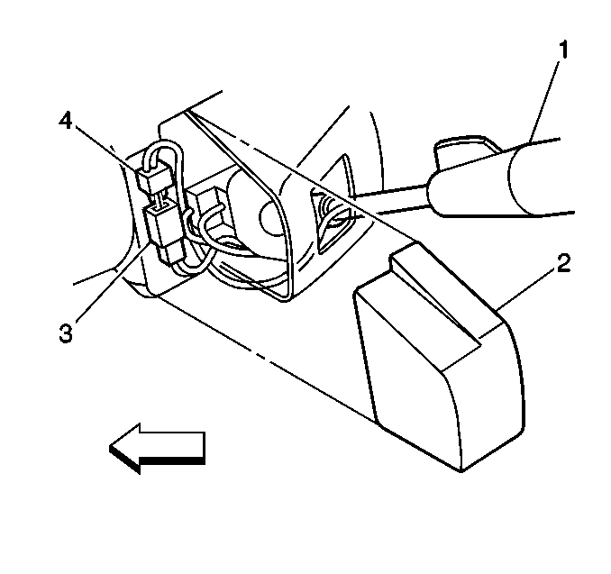
Removal Procedure


    Object Number: 215632  Size: SH
  1. Ensure that the lever (1) is in the OFF position.
  2. Unsnap the housing cover (2) from the steering column housing.
  3. Disconnect the cruise control wiring connector (4) from the connector that is installed in the column (3).
  4. Pull the lever straight out of the turn signal switch.

Installation Procedure


    Object Number: 215632  Size: SH
  1. Ensure that the lever is in the OFF position.
  2. Push the lever (1) into the turn signal switch.
  3. Connect the cruise control wiring connectors (3,4).
  4. Snap the housing cover cap (2) onto the steering column housing.