GM Service Manual Online
For 1990-2009 cars only
Makes
🢒
Chevrolet
🢒
1998
🢒
Chevy P42 Commercial Chassis
🢒 Cell 23: Power And Ground
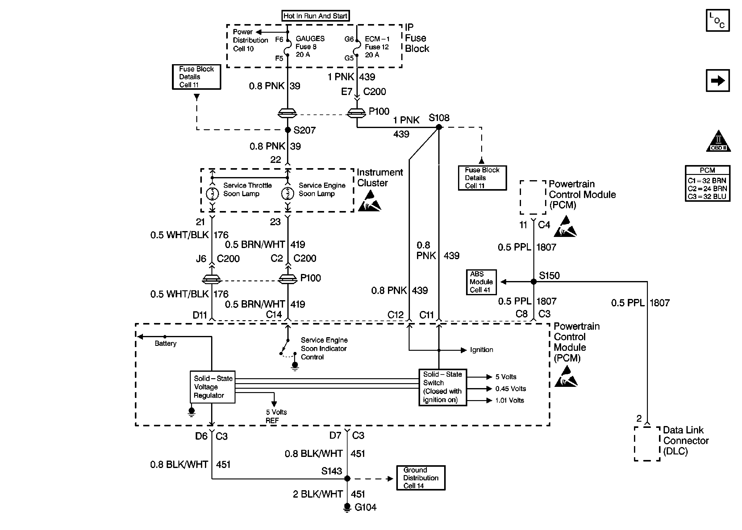
Cell 23: Power And Ground
Cell 23: Power And Ground
Engine Controls Components L57 MFI
Cell 23: Ignition
OBD II Symbol Description Notice