GM Service Manual Online
For 1990-2009 cars only
Makes
🢒
Chevrolet
🢒
1998
🢒
Chevy P42 Commercial Chassis
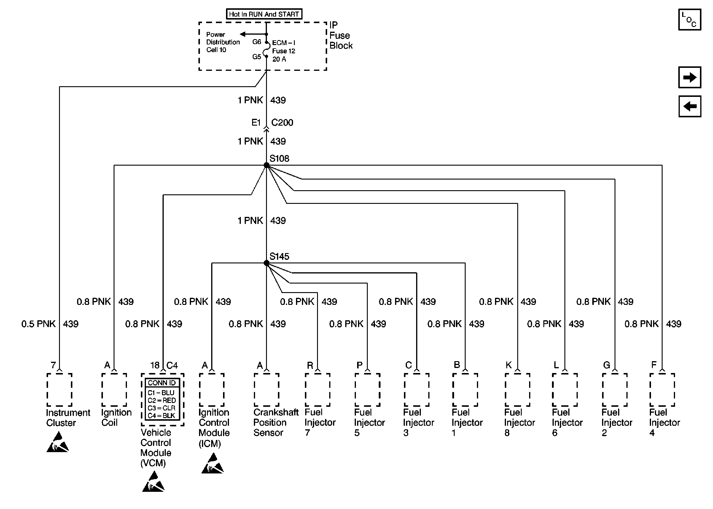
🢒 Cell 11: ECM-I fuse [L31]
Cell 11: ECM-I fuse [L31]
Cell 11: ECM-I fuse [L31]
Power and Grounding Components P42
Cell 11: ECM-I fuse [L57]
Cell 11: ECM-I fuse [L35]
Cell 10: Ignition Switch and Fuse Block
Handling ESD Sensitive Parts Notice
Handling ESD Sensitive Parts Notice
Handling ESD Sensitive Parts Notice