GM Service Manual Online
For 1990-2009 cars only
Makes
🢒
Chevrolet
🢒
1998
🢒
Chevy P42 Commercial Chassis
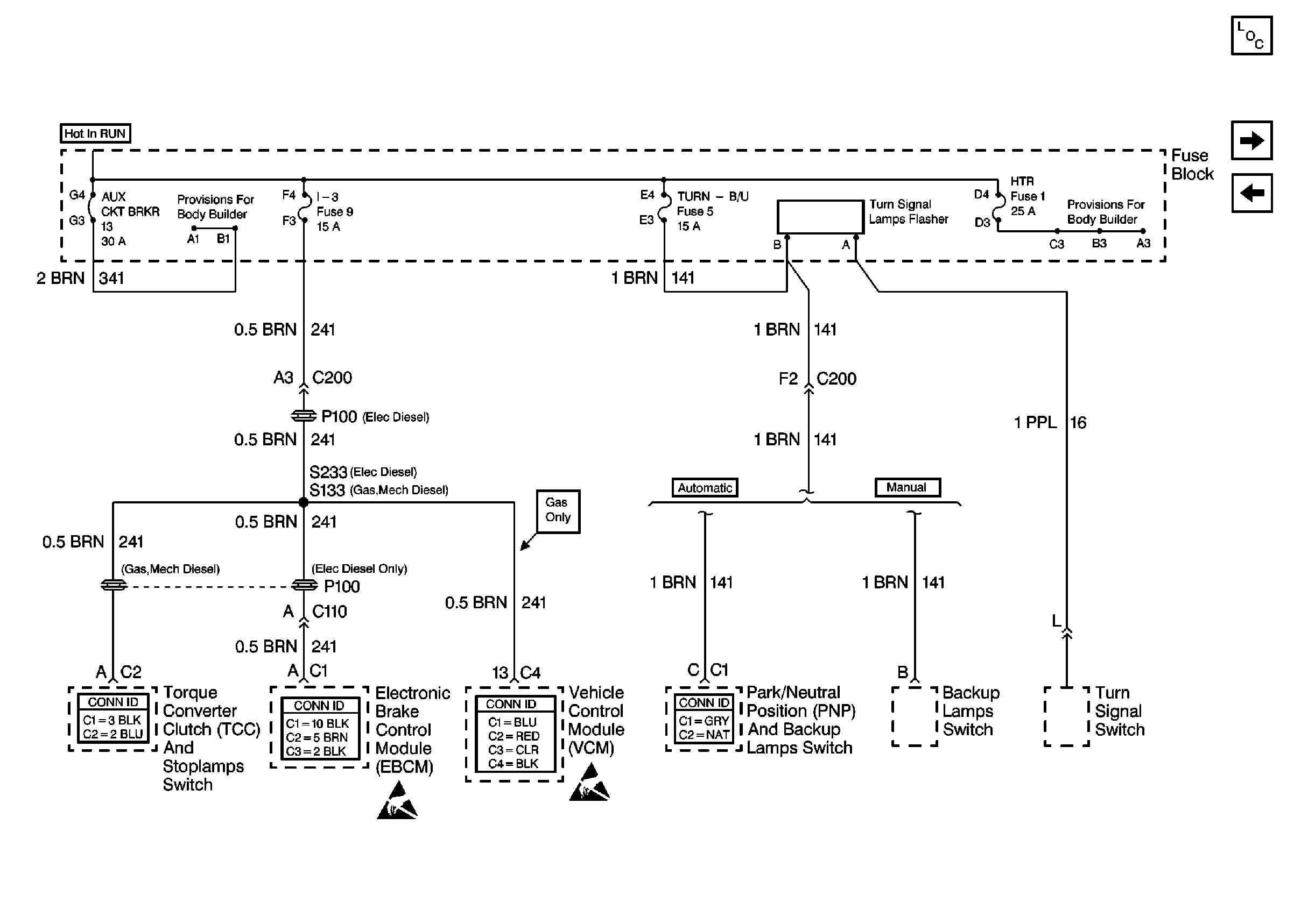
🢒 Cell 11: I-3, TURN-B/U, and HTR fuses, AUX CKT BRKR 13
Cell 11: I-3, TURN-B/U, and HTR fuses, AUX CKT BRKR 13
Cell 11: I-3, TURN-B/U, and HTR fuses, AUX CKT BRKR 13
Power and Grounding Components P42
Cell 11: Gauges fuse
Cell 11: Crank, Wiper, and Acc-Radio fuses
Handling ESD Sensitive Parts Notice
Handling ESD Sensitive Parts Notice