GM Service Manual Online
For 1990-2009 cars only
Makes
🢒
Chevrolet
🢒
1998
🢒
Chevy P42 Commercial Chassis
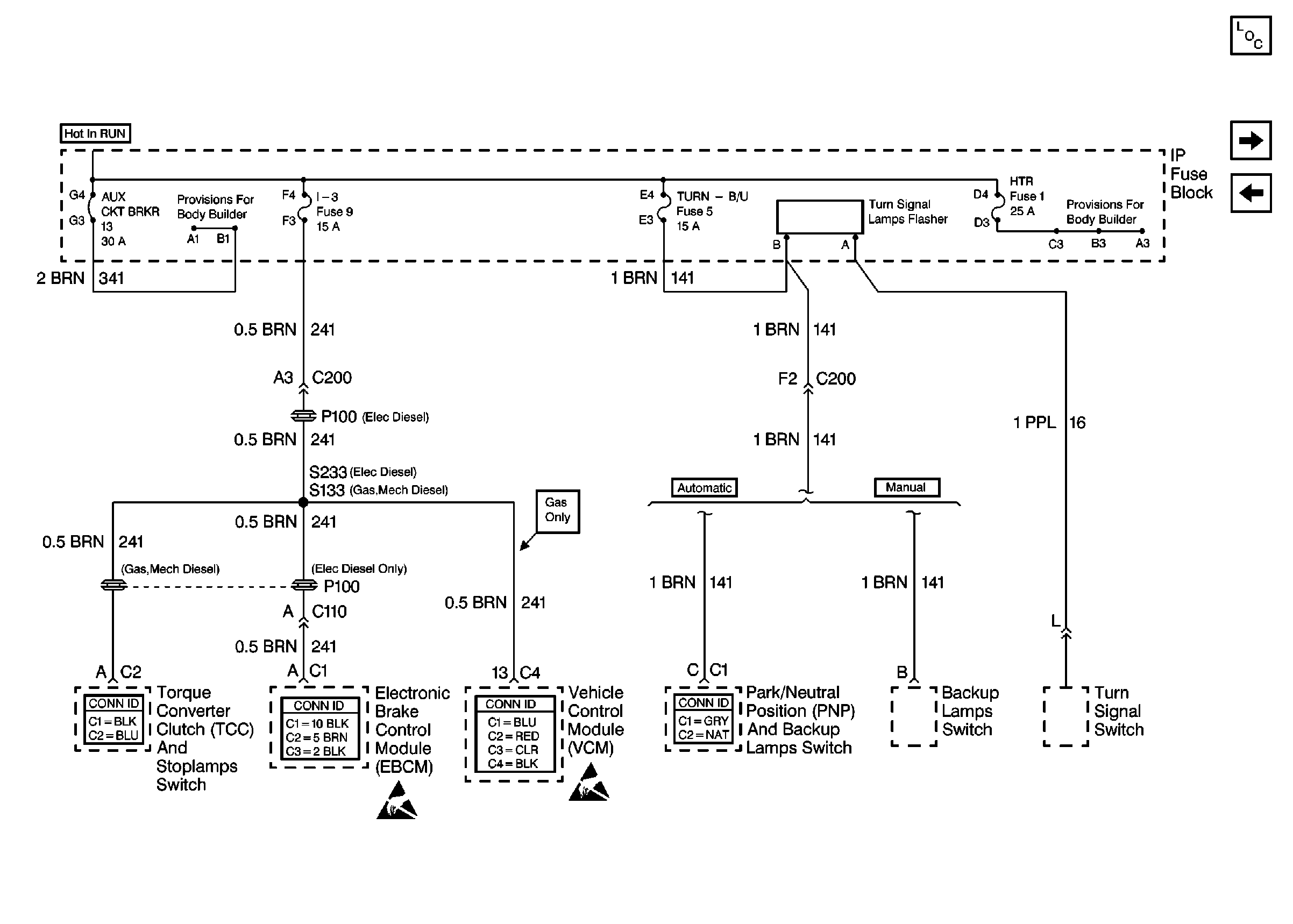
🢒 Cell 11: I-3, TURN-B/U, and HTR fuses, AUX CKT BRKR 13
Cell 11: I-3, TURN-B/U, and HTR fuses, AUX CKT BRKR 13
Cell 11: I-3, TURN-B/U, and HTR fuses, AUX CKT BRKR 13
Power and Grounding Components P42
Cell 14: G101, G102, and G107 [Single Headlamps]
Cell 11: CRANK, WIPER, and ACC-RADIO fuses
Handling ESD Sensitive Parts Notice
Handling ESD Sensitive Parts Notice