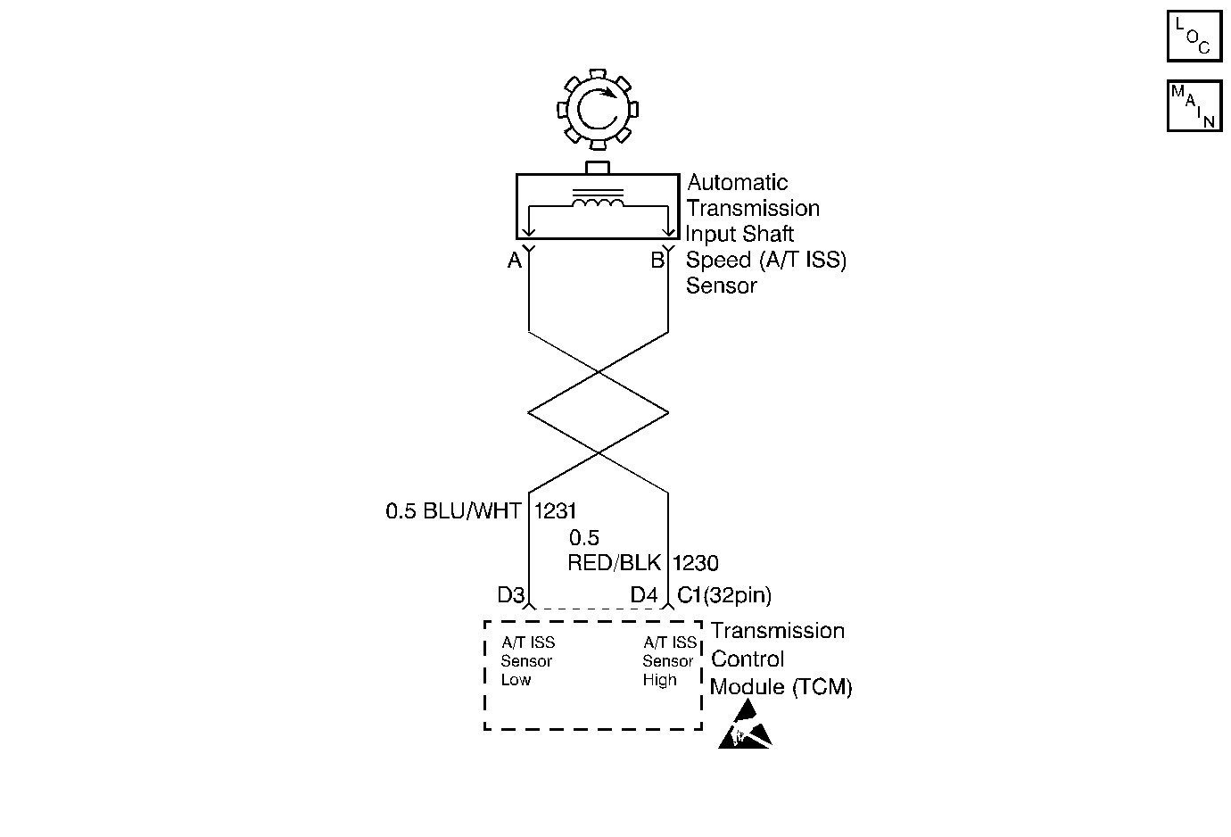
The Automatic Transmission Input (Shaft) Speed Sensor (A/T ISS) provides transmission input speed to the Transmission Control Module (TCM). The A/T ISS is a Permanent Magnet (PM) generator. The sensor mounts into the transmission case and maintains a slight air gap between the sensor and the Forward Clutch Housing. The PM generator produces an AC voltage as the Forward Clutch Housing rotor teeth pass through the sensor's magnetic field. The AC voltage level increases as the turbine shaft speed increases. The TCM converts the AC voltage into a digital signal. The TCM determines actual turbine speed using the digital signal. The TCM uses the input speed to calculate torque converter slip speed, and gear ratios.
When the (TCM) detects a low, or no input speed during high vehicle and high engine speeds, then DTC 74 sets.
| • | No OSS DTC 24. |
| • | No TFP Val. Position Sw. DTC 28. |
| • | No CMP sensor DTC 71. |
| • | The OSS is greater than 200 RPM. |
| • | The engine speed is greater than 300 RPM. |
| • | The A/T ISS is less than 50 RPM. |
| • | All the above conditions are met for 2 seconds. |
| • | The TCM does not illuminate the Malfunction Indicator Lamp (MIL). |
| • | The TCM inhibits TCC. |
| • | DTC 74 is stored in TCM history. |
| • | The TCM clears the DTC from Current to History when the fault condition(s) no longer exist and the ignition switch is cycled OFF and then ON. |
| • | A scan tool can clear the DTC from Current and History status. The TCM clears the DTC from the TCM history if the vehicle completes 40 ignition cycles without a failure reported. |
| • | The TCM cancels the DTC default actions when the fault no longer exists and the ignition is cycled OFF and then ON. |
| • | Inspect the wiring at the TCM, the Output Shaft Speed (OSS) Sensor connector and all other circuit connecting points for the following conditions: |
| - | A bent terminal |
| - | A backed out terminal |
| - | A damaged terminal |
| - | Poor terminal tension |
| - | A chafed wire |
| - | A broken wire inside the insulation |
| - | Moisture intrusion |
| - | Corrosion |
| - | The A/T ISS sensor harness being near the DIS components or the ignition wires. |
| • | When diagnosing for an intermittent short or open, massage the wiring harness while watching the test equipment for a change. |
| • | Inspect for any transmission DTCs that may have reset. |
The numbers below refer to the step numbers on the diagnostic table.
This step tests for proper circuit operation up to the TCM connections.
This step tests for proper operation of the Input Shaft Speed Sensor.
Step | Action | Value(s) | Yes | No | ||||
|---|---|---|---|---|---|---|---|---|
1 | Was the Powertrain On-Board Diagnostic (OBD) System Check performed? | -- | ||||||
2 |
Important:: Before clearing the DTC's, record the Current and History DTC's information for reference. The Clear Info function erases the stored Current and History DTC from the TCM. Is the Transmission ISS greater than 25 RPM? | -- | Go to Diagnostic Aids | |||||
Is the voltage above the specified value? | 0.5 volts AC | |||||||
4 |
Is the sensor's resistance within the specified value? | 1042-2088 | ||||||
Is the J 39200 DMM voltage greater than the specified value? | 0.5 volts AC | |||||||
6 |
Did you find the condition? | -- | ||||||
7 | Inspect circuit 1230 (RED/BLK) for an open or short to ground. Refer to General Electrical Diagnosis . Did you find a condition? | -- | ||||||
8 | Repair the open or short to ground in circuit 1230. Refer to Wiring Repairs . Did you correct the condition? | -- | -- | |||||
9 | Inspect circuit 1231 (BLU/WHT) for an open or short to ground. Refer to General Electrical Diagnosis . Did you find a condition? | -- | -- | |||||
10 | Repair the open or short to ground in circuit 1231. Refer to Wiring Repairs . Did you correct the condition? | -- | -- | |||||
11 | Replace the Input Shaft Speed Sensor. Refer to Vehicle Speed Sensor Replacement . Is the replacement complete? | -- | -- | |||||
12 |
Did you find the condition? | -- | ||||||
13 | Replace the TCM. Refer to DTC 51 PROM Error TCM/PROM Replacement. Is the replacement complete? | -- | -- | |||||
14 | In order to verify your repair, perform the following procedure:
Is the Scan Tool A/T ISS greater than the specified value? | 200 RPM | System OK | Begin the Diagnosis again. |