GM Service Manual Online
For 1990-2009 cars only

Brake Pedal Replacement Motorhome

Removal Procedure


    Object Number: 171994  Size: SH
  1. Remove the retainer.
  2. Remove the washer.
  3. Remove the pin and washer.
  4. Remove the brake rod.

  5. Object Number: 171999  Size: SH
  6. Remove the return spring.

  7. Object Number: 172030  Size: SH
  8. Remove the nut and bolt.

  9. Object Number: 172039  Size: SH
  10. Remove the brake pedal.
  11. Remove the bushings.
  12. Remove the spacer.

Installation Procedure


    Object Number: 172039  Size: SH
  1. Install the spacer.
  2. Install the bushings.
  3. Install the brake pedal.
  4. Notice: Use the correct fastener in the correct location. Replacement fasteners must be the correct part number for that application. Fasteners requiring replacement or fasteners requiring the use of thread locking compound or sealant are identified in the service procedure. Do not use paints, lubricants, or corrosion inhibitors on fasteners or fastener joint surfaces unless specified. These coatings affect fastener torque and joint clamping force and may damage the fastener. Use the correct tightening sequence and specifications when installing fasteners in order to avoid damage to parts and systems.


    Object Number: 172030  Size: SH
  5. Install the bolt and nut.
  6. Tighten
    Tighten the nut to 10 N·m (89 lb in).


    Object Number: 171999  Size: SH
  7. Install the return spring.

  8. Object Number: 171994  Size: SH
  9. Install the washer and pin.
  10. Install the brake rod.
  11. Install the washer and the retainer.
  12. Check the Stoplamp Switch Adjustment. Refer to Stop Lamp Switch Adjustment .

Brake Pedal Replacement Commercial

Removal Procedure


    Object Number: 172045  Size: SH
  1. Remove the pin.
  2. Remove the nut.
  3. Remove the bolt.
  4. Remove the pushrod.
  5. Remove the clutch attaching components, if equipped.
  6. Remove the clutch pedal, if equipped.
  7. Remove the return spring.

  8. Object Number: 172065  Size: SH
  9. Remove the nut and bolt.

  10. Object Number: 172084  Size: SH
  11. Remove the shaft.

  12. Object Number: 172097  Size: SH
  13. Remove the brake pedal.
  14. Remove the bushings.

Installation Procedure

  1. Lubricate the pivot points with Lubriplate GM P/N 1050109, or equivalent.

  2. Object Number: 172097  Size: SH
  3. Install the bushings.
  4. Install the brake pedal.

  5. Object Number: 172084  Size: SH
  6. Install the shaft.

  7. Object Number: 172065  Size: SH

    Notice: Use the correct fastener in the correct location. Replacement fasteners must be the correct part number for that application. Fasteners requiring replacement or fasteners requiring the use of thread locking compound or sealant are identified in the service procedure. Do not use paints, lubricants, or corrosion inhibitors on fasteners or fastener joint surfaces unless specified. These coatings affect fastener torque and joint clamping force and may damage the fastener. Use the correct tightening sequence and specifications when installing fasteners in order to avoid damage to parts and systems.

  8. Install the bolt and nut.
  9. Tighten
    Tighten the nut to 10 N·m (89 lb in).

  10. Install the clutch pedal, if equipped.

  11. Object Number: 172045  Size: SH
  12. Install the return spring.
  13. Install the clutch attaching components, if equipped.
  14. Install the pushrod.
  15. Install the bolt.
  16. Install the nut.
  17. Install a new pin.
  18. Check the stoplamp switch adjustment. Refer to Stop Lamp Switch Adjustment .

Brake Pedal Replacement Commercial Linkage

Removal Procedure

  1. Disconnect the rod from the brake pedal.

  2. Object Number: 172135  Size: SH
  3. Remove the bolt and nut.
  4. Remove the lever assembly. The rod will pull out of the booster.

  5. Object Number: 172139  Size: SH
  6. Remove the bushings and spacer.
  7. Remove the bolt, nut, and washer.
  8. Remove the retainer.

  9. Object Number: 172143  Size: SH
  10. Remove the retainers.

  11. Object Number: 172151  Size: SH
  12. Remove the washers.

  13. Object Number: 172156  Size: SH
  14. Remove the brake pedal rod and the booster rod.

  15. Object Number: 172158  Size: SH
  16. Remove the wave washers.

Installation Procedure

  1. Lubricate the pivot points with Lubriplate GM P/N 1050109 or equivalent.

  2. Object Number: 172158  Size: SH
  3. Install the wave washers.

  4. Object Number: 172156  Size: SH
  5. Install the brake pedal rod and the booster rod to the lever.

  6. Object Number: 172151  Size: SH
  7. Install the washers.

  8. Object Number: 172143  Size: SH
  9. Install the retainers.
  10. Install the retainer.
  11. Notice: Use the correct fastener in the correct location. Replacement fasteners must be the correct part number for that application. Fasteners requiring replacement or fasteners requiring the use of thread locking compound or sealant are identified in the service procedure. Do not use paints, lubricants, or corrosion inhibitors on fasteners or fastener joint surfaces unless specified. These coatings affect fastener torque and joint clamping force and may damage the fastener. Use the correct tightening sequence and specifications when installing fasteners in order to avoid damage to parts and systems.

  12. Install the bolt washer and nut.
  13. Tighten
    Tighten the nut to 34 N·m (25 lb ft).


    Object Number: 172139  Size: SH
  14. Install the spacer.
  15. Install the bushings.

  16. Object Number: 172135  Size: SH
  17. Install the lever assembly. Insert the rod into the booster. Push the rod until it seats.
  18. Install the bolt and nut.
  19. Tighten
    Tighten the nut to 55 N·m (41 lb ft).

  20. Connect the rod to the brake pedal.

Brake Pedal Replacement Motorhome Linkage

Removal Procedure


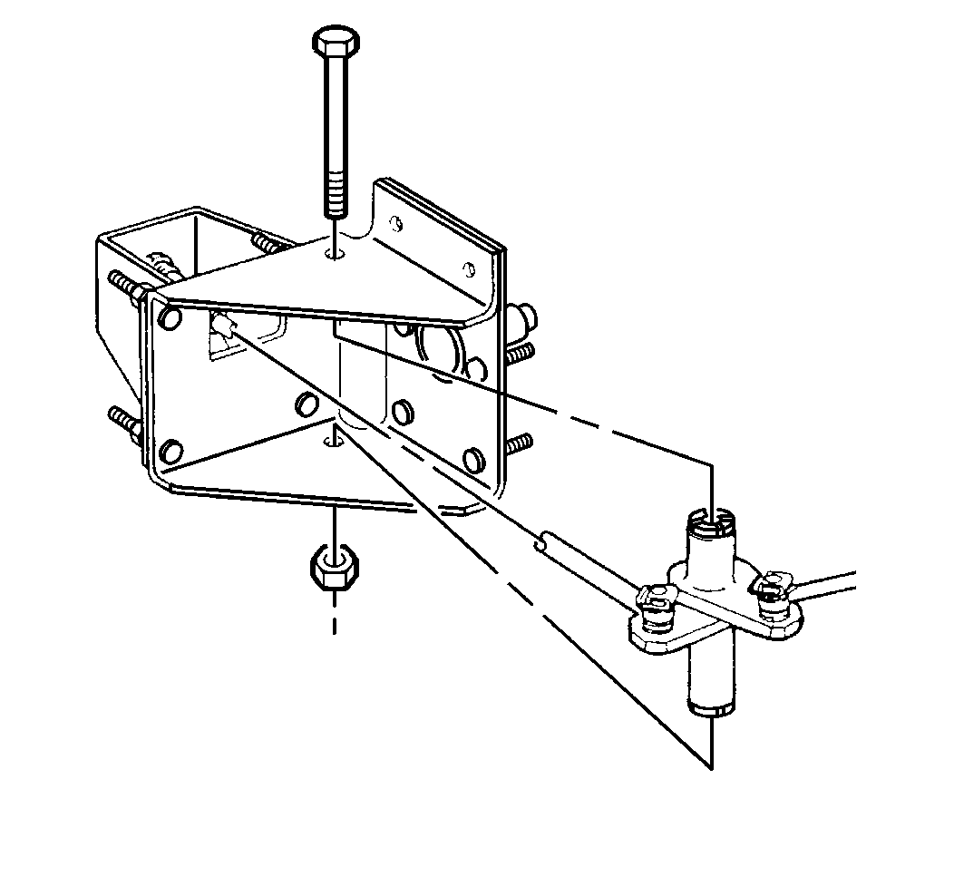
    Object Number: 172113  Size: SH
  1. Remove the retainer.
  2. Remove the nut.
  3. Remove the bolt and washers.

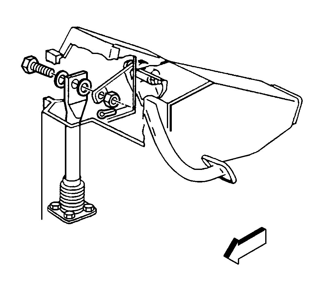
  4. Object Number: 172126  Size: SH
  5. Remove 4 screws.
  6. Raise the vehicle and support the vehicle with safety stands.

  7. Object Number: 172131  Size: SH
  8. Remove the retainer.
  9. Remove the nut.
  10. Remove the washer.
  11. Remove the brake rod.
  12. Remove the boot.

Installation Procedure

  1. Lubricate the pivot points with Lubriplate GM P/N 1050109 or equivalent.

  2. Object Number: 172131  Size: SH
  3. Install the boot.
  4. Install the brake rod.
  5. Install the washer.
  6. Notice: Use the correct fastener in the correct location. Replacement fasteners must be the correct part number for that application. Fasteners requiring replacement or fasteners requiring the use of thread locking compound or sealant are identified in the service procedure. Do not use paints, lubricants, or corrosion inhibitors on fasteners or fastener joint surfaces unless specified. These coatings affect fastener torque and joint clamping force and may damage the fastener. Use the correct tightening sequence and specifications when installing fasteners in order to avoid damage to parts and systems.

  7. Install the nut.
  8. Tighten
    Tighten the nut to 34 N·m (25 lb ft).

  9. Install the retainer.
  10. Lower the vehicle.

  11. Object Number: 172126  Size: SH
  12. Install 4 boot screws.
  13. Tighten
    Tighten the screws to 1.7 N·m (15 lb in).


    Object Number: 172113  Size: SH
  14. Install the bolt and washers.
  15. Install the nut.
  16. Tighten
    Tighten the nut to 34 N·m (25 lb ft).

  17. Install the retainer.