GM Service Manual Online
For 1990-2009 cars only

On-Board Diagnostic System Check L57 MFI


Object Number: 372618  Size: LF
Automatic Transmission Components Diesel
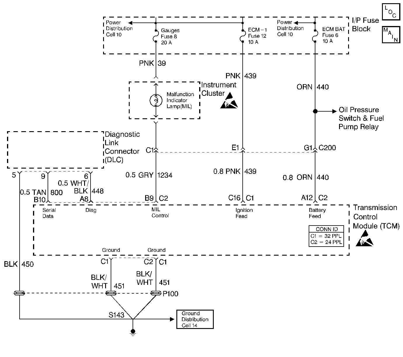
Automatic Transmission Controls Schematics TCM Control
Handling ESD Sensitive Parts Notice
Handling ESD Sensitive Parts Notice

Circuit Description

The On-Board Diagnostic System Check is an organized approach to identifying a condition created by a control module system malfunction. It must be the starting point for any driveability diagnosis. This directs the service technician to the next logical step in diagnosing the concern. Understanding the table, and using it properly, reduces diagnostic time, and prevents the unnecessary replacement of good parts.

Test Description

The numbers below refer to the step numbers on the diagnostic table.

  1. When the ignition switch is cycled to RUN, the malfunction indicator lamp (MIL) should turn ON briefly, then remain ON steady. This sequence determines the vehicle diagnostics are operational.

  2. This step isolates if the customer concern is a MIL or driveability condition.

  3. Although the control module is powered up, a symptom could exist because of a system fault.

  4. Use the Scan Tool to aid diagnosis, therefore, serial data must be available. If a PROM (MEM-CAL) error is present, the TCM may have been able to flash DTC 12/51, but not enable serial data.

  5. This step isolates if the customer concern is a MIL or driveability condition with no MIL. Refer to Diagnostic Trouble Code Identification in this section for a list of valid DTCs. An invalid DTC may be the result of a faulty scan tool, PROM or TCM.

ON-BOARD DIAGNOSTIC (OBD) SYSTEM CHECK/TCM

Step

Action

Value(s)

Yes

No

1

  1. Connect the Scan Tool .
  2. With the engine OFF, turn the ignition switch to the RUN position.

Is the MIL ON steady?

--

Go to Step 4

Go to Step 2

2

Is the MIL flashing?

--

Go to Step 3

Go to Malfunction Indicator Lamp (MIL) Inoperative

3

Check for a grounded diagnostic test circuit 448 (WHT/BLK) (DLC Pin 6).

Was a condition found?

--

Go to Step 1

--

4

Perform the Powertrain On Board Diagnostic (OBD) System Check , or jumper the diagnostic link connector (DLC) terminal 6 to a good ground.

Does the MIL flash?

--

Go to Step 5

Go to No Diagnostic Link Connector Data

5

Does the Scan Tool display data?

--

Go to Step 6

Go to No Diagnostic Link Connector Data

6

Are any DTCs displayed?

--

Go to Step 7

Go to Transmission Scan Tool Data Values

7

Refer to applicable DTC table.

Start with the lowest DTC.

Was the condition corrected?

--

System OK

Go to Step 1