GM Service Manual Online
For 1990-2009 cars only

Ignition Switch Assembly - Assemble - Off Vehicle Column Shift

Tools Required
J 41352 Modular Column Holding Fixture


    Object Number: 367831  Size: SH

    Notice: Use the correct fastener in the correct location. Replacement fasteners must be the correct part number for that application. Fasteners requiring replacement or fasteners requiring the use of thread locking compound or sealant are identified in the service procedure. Do not use paints, lubricants, or corrosion inhibitors on fasteners or fastener joint surfaces unless specified. These coatings affect fastener torque and joint clamping force and may damage the fastener. Use the correct tightening sequence and specifications when installing fasteners in order to avoid damage to parts and systems.

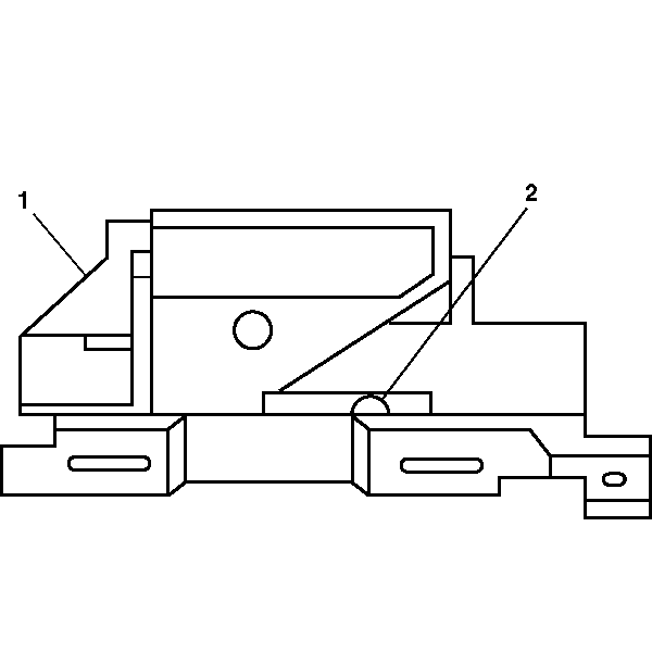
  1. Install the dimmer and ignition switch mounting stud (4).
  2. Tighten
    Tighten the dimmer and ignition switch mounting stud to 4 N·m (35 lb in).

  3. Install the ignition switch assembly (1) to the ignition switch actuator assembly.
  4. Install the ignition switch assembly (1) onto the dimmer and ignition switch mounting stud (4).
  5. Install the washer head screw (2) into the ignition switch assembly (1).
  6. Tighten the washer head screw (2) finger tight.
  7. Install the hexagon nut (3) onto the dimmer and ignition switch mounting stud (4)
  8. Tighten the hexagon nut (3) finger tight.

  9. Object Number: 358702  Size: SH
  10. Move the ignition switch assembly slider (2) to the far right position.
  11. Move the ignition switch assembly slider (2) detent to the left. This is the "OFF LOCK" position.
  12. Install a 3/32 inch drill bit into the hole on the ignition switch assembly (1) to limit travel.
  13. Push against the ignition switch actuator assembly to limit all the lash.

  14. Object Number: 367831  Size: SH
  15. Secure the washer head screw (2) into the ignition switch assembly (1).
  16. Tighten
    Tighten the washer head screw to 4 N·m (35 lb in).

  17. Secure the hexagon nut (3) onto the dimmer and ignition switch mounting stud (4).
  18. Tighten
    Tighten the hexagon nut to 4 N·m (35 lb in).

  19. Remove the 3/32 inch drill bit.

  20. Object Number: 344141  Size: SH
  21. Install the solenoid bracket (2).
  22. Install the 2 washer head screws (1).
  23. Tighten
    Tighten the screws to 4 N·m (35  lb  in).

  24. Install the interlock solenoid assembly (7).
  25. Install the hex washer head screw (6).
  26. Tighten
    Tighten the screw to 4 N·m (35  lb  in).

  27. Install the ball joint spring (5) to the interlock solenoid assembly (7).
  28. Install the cable mounting clip from solenoid bracket (2).
  29. Install the cable assembly with ignition switch actuator assembly (4).
  30. Remove the steering column and J 41352 from the vise.

Ignition Switch Assembly - Assemble - Off Vehicle Floor Shift

Tools Required
J 41352 Modular Column Holding Fixture


    Object Number: 367831  Size: SH

    Notice: Use the correct fastener in the correct location. Replacement fasteners must be the correct part number for that application. Fasteners requiring replacement or fasteners requiring the use of thread locking compound or sealant are identified in the service procedure. Do not use paints, lubricants, or corrosion inhibitors on fasteners or fastener joint surfaces unless specified. These coatings affect fastener torque and joint clamping force and may damage the fastener. Use the correct tightening sequence and specifications when installing fasteners in order to avoid damage to parts and systems.

  1. Install the dimmer and ignition switch mounting stud (4).
  2. Tighten
    Tighten the dimmer and ignition switch mounting stud to 4 N·m (35 lb in).

  3. Install the ignition switch assembly (1) to the ignition switch actuator assembly.
  4. Install the ignition switch assembly (1) onto the dimmer and ignition switch mounting stud (4).
  5. Install the washer head screw (2) into the ignition switch assembly (1).
  6. Tighten the washer head screw (2) finger tight.
  7. Install the hexagon nut (3) onto the dimmer and ignition switch mounting stud (4)
  8. Tighten the hexagon nut (3) finger tight.

  9. Object Number: 358702  Size: SH
  10. Move the ignition switch assembly slider (2) to the far right position.
  11. Move the ignition switch assembly slider (2) detent to the left. This is the "OFF LOCK" position.
  12. Install a 3/32 inch drill bit into the hole on the ignition switch assembly (1) to limit travel.
  13. Push against the ignition switch actuator assembly to limit all the lash.

  14. Object Number: 367831  Size: SH
  15. Secure the washer head screw (2) into the ignition switch assembly (1).
  16. Tighten
    Tighten the washer head screw to 4 N·m (35 lb in).

  17. Secure the hexagon nut (3) onto the dimmer and ignition switch mounting stud (4).
  18. Tighten
    Tighten the hexagon nut to 4 N·m (35 lb in).

  19. Remove the 3/32 inch drill bit.
  20. Remove the steering column and J 41352 from the vise.