GM Service Manual Online
For 1990-2009 cars only

Upfitter Provision Schematics P42

Figure 1:

Cell 18: Lamps


Object Number: 370247  Size: FS
Power and Grounding Components P42
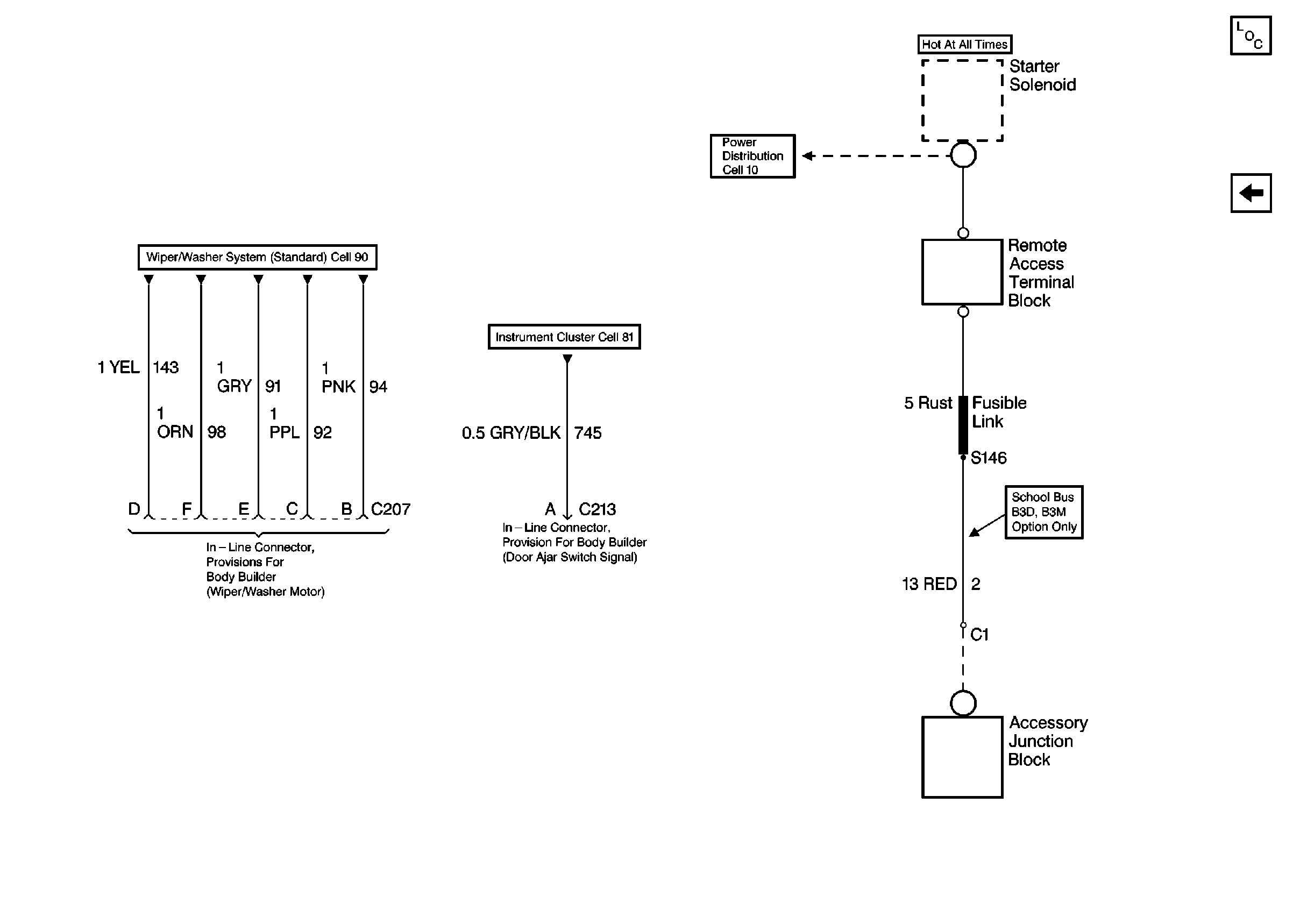
Cell 18: Wiper/Washer, Door Ajar and Accessory Junction Block
Cell 117
Cell 110: Turn Signal Switch
Cell 102: DRL Indicator
Cell 110: Headlamps Switch and Turn Signal Indicators
Figure 2:

Cell 18: Wiper/Washer, Door Ajar and Accessory Junction Block


Object Number: 370251  Size: FS
Power and Grounding Components P42
Cell 18: Lamps
Cell 10: Battery, Starter, and Junction Block
Cell 90
Cell 81: Indicators

Upfitter Provision Schematics P32

Figure 1:

Cell 18: Door Ajar Switch, Dome Lamp, Park Accessory, Low Current, and Horns


Object Number: 370233  Size: FS
Power and Grounding Components P32
Cell 18: Lamps
Cell 81: Indicators
Cell 117
Cell 117:[Export Only]
Cell 112
Cell 41: Brake Warning System - Canada
Cell 40
Figure 2:

Cell 18: Lamps


Object Number: 370235  Size: FS
Power and Grounding Components P32
Cell 18: Wiper/Washer Motor and Fog Lamp Relay
Cell 18: Door Ajar Switch, Dome Lamp, Park Accessory, Low Current, and Horns
Cell 110: Turn Signal Switch
Cell 110: Rear Lamps
Cell 110: Headlamps Switch and IP Cluster
Cell 110: License Lamps [Export Only]
Figure 3:

Cell 18: Wiper/Washer Motor and Fog Lamp Relay


Object Number: 370240  Size: FS
Power and Grounding Components P32
Cell 18: Lamps
Cell 91
Cell 102: Single Headlamps