GM Service Manual Online
For 1990-2009 cars only
Makes
🢒
Chevrolet
🢒
1999
🢒
Chevy P42 Commercial Chassis
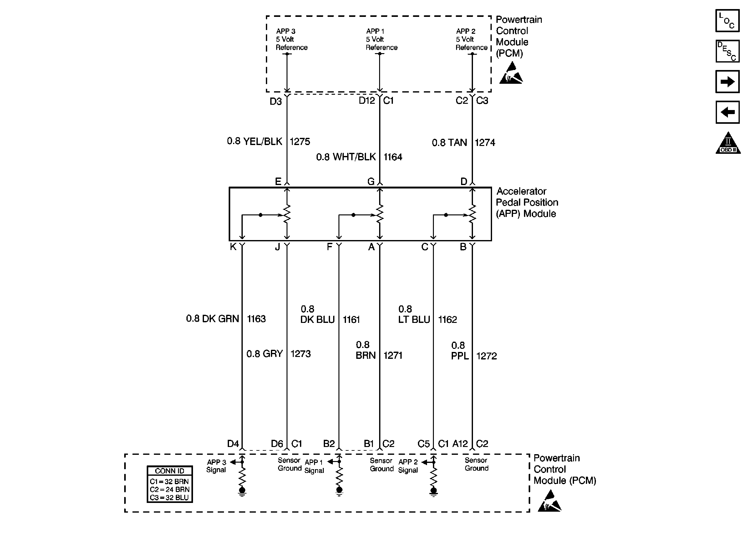
🢒 Cell 23: Accelerator Pedal Position Sensor
Cell 23: Accelerator Pedal Position Sensor
Cell 23: Accelerator Pedal Position Sensor
Engine Controls Components L57 EFI
Accelerator Pedal Position Module Description EFI
Cell 23: A/T Controls 1 - Stoplamp/TCC Switch, Internal Solenoids
Cell 23: Engine Data Sensors 2 - VSS/TOSS Circuit Complete
OBD II Symbol Description Notice
Handling ESD Sensitive Parts Notice
Handling ESD Sensitive Parts Notice