GM Service Manual Online
For 1990-2009 cars only

DTC 59 TFT Sensor Circuit High L57 MFI


Object Number: 372638  Size: MF
Automatic Transmission Components Diesel
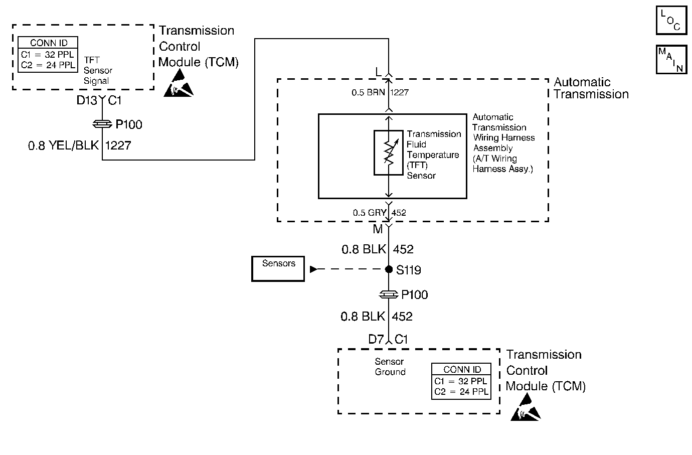
Automatic Transmission Controls Schematics TCM Control
Handling ESD Sensitive Parts Notice
Handling ESD Sensitive Parts Notice

Circuit Description

The automatic transmission fluid temperature (TFT) sensor is a thermistor that controls the signal voltage to the transmission control module (TCM). The TCM supplies a 5 volt reference signal to the sensor on circuit 1227. When the transmission fluid is cold, the sensor resistance is high and the controller senses high signal voltage.

As the transmission fluid temperature warms to normal transmission operating temperature, the sensor resistance becomes less and the voltage decreases. With a DTC 79 also set, check the transmission cooling system.

If the TCM detects a continuous short to ground in the TFT signal circuit, then DTC 59 sets.

Conditions for Running the DTC

    • The ignition is ON.
    • System voltage is 12.0-16.0 volts.

Conditions for Setting the DTC

    • Signal voltage indicates TFT less than -40°C (-40°F).
    • All conditions met for 1 second.

Action Taken When the DTC Sets

    • The TCM does not illuminate the malfunction indicator lamp MIL.
    • The TCM defaults to 140°C for a transmission fluid temperature (causing a hot mode shift pattern to occur).
    • The TCM stores DTC 59 in TCM history.

Conditions for Clearing the DTC

    • A scan tool clears the DTC from TCM history.
    • The TCM clears the DTC from TCM history if the vehicle completes 40 consecutive key cycles without a diagnostic fault occurring.
    • The TCM cancels the DTC default actions when the fault no longer exists and the ignition switch is OFF long enough in order to power down the TCM.

Diagnostic Aids

    • Inspect the wiring at the TCM, the transmission connector and all other circuit connecting points for the following conditions:
       - A backed out terminal
       - A damaged terminal
       - Reduced terminal tension
       - A chafed wire
       - A broken wire inside the insulation
       - Moisture intrusion
       - Corrosion
       - Higher than normal voltage in circuit 1227 may also damage the TFT Sensor.
    • When diagnosing for an intermittent short or open, massage the wiring harness while watching the test equipment for a change.
    • The scan tool displays the transmission fluid temperature in degrees. After the transmission operates, the temperature rises steadily. The temperature then stabilizes.
    • Test the TFT sensor at the various temperatures in order to evaluate the possibility of a skewed (mis-scaled) sensor. Refer to the Temperature vs Resistance table. A skewed sensor may cause firm shifts or TCC complaints, extended shift patterns, and early TCC applies to occur.
    • First, diagnose and clear any engine DTCs that are present. Then inspect for any transmission DTCs that may have reset.

Test Description

The numbers below refer to the step numbers on the diagnostic table.

  1. This step tests for higher than normal circuit voltage, which may also damage the TFT sensor.

  2. This step simulates a TFT sensor DTC 58. If the TCM recognizes the low signal voltage (high temperature), and the Scan Tool displays 146°C (295°F) or greater, the TCM and the wiring are OK.

  3. This step verifies a condition in the TFT sensor circuit.

  4. This step inspects the TFT sensor and the A/T wiring harness assembly.

DTC 59

Step

Action

Value(s)

Yes

No

1

Was the Powertrain On-Board Diagnostic (OBD) System Check performed?

--

Go to Step 2

Go to Powertrain On Board Diagnostic (OBD) System Check

2

Perform the Transmission Fluid Checking Procedure.

Refer to Transmission Fluid Check .

Was the Transmission Fluid Checking Procedure performed?

--

Go to Step 3

Go to Transmission Fluid Check

3

  1. Install the Scan Tool .
  2. With the engine OFF, turn the ignition switch to the RUN position.
  3. Important:: Before clearing the DTCs, use the scan tool in order to record the Failure Records. Using the Clear Info function erases the Failure Records from the TCM.

  4. Record the Failure Records.
  5. Clear the DTC.

Does the Scan Tool display a transmission fluid temperature less than the specified value?

-30°C (-22°F)

Go to Step 4

Go to Diagnostic Aids

4

  1. Turn the ignition switch OFF.
  2. Disconnect the transmission 20-way connector.
  3. Install the J 39775 jumper harness on the engine side of the 20-way connector.
  4. Using the J 39200 digital multimeter (DMM) and the J 35616-A connector test adapter kit, measure the voltage between jumper harness terminal L and a good ground.
  5. Turn the ignition switch to the RUN position.

Is the voltage within the specified value?

4.9-5.0 volts

Go to Step 6

Go to Step 5

5

Is the J 39200 DMM voltage greater than the specified value?

5.1 volts

Go to Step 11

Go to Step 10

6

  1. Turn the engine OFF.
  2. Install a fused jumper wire from terminal L to terminal M on the transmission 20-way connector.
  3. Turn the ignition switch to the RUN position.

Is the transmission fluid temperature greater than the specified value?

140°C (284°F)

Go to Step 7

Go to Step 12

7

  1. Turn the ignition switch OFF.
  2. Install the J 39775 to the transmission side of the 20-way connector.
  3. Using the J 39200 DMM, measure the resistance between terminal L and terminal M. Refer to Electronic Component Description .

Is the resistance within the specified values?

16 kohms at 10°C (50°F) to 133 kohms at 110°C (230°F)

Go to Diagnostic Aids

Go to Step 8

8

  1. Remove the transmission oil pan.
  2. Refer to Automatic Transmission Fluid and Filter Replacement .

  3. Inspect the automatic transmission (A/T) wiring harness assembly for an open in circuits 1227 (YEL/BLK) and 452 (BLK).

Was a condition found?

--

Go to Step 9

Go to Diagnostic Aids

9

Replace the A/T wiring harness assembly.

Refer to A/T Wiring Harness Assembly Replacement.

Is the replacement complete?

--

Go to Step 15

 

10

Inspect the engine harness circuit 1227 (YEL/BLK) for high resistance or an open.

Refer to General Electrical Diagnosis in Wiring Systems.

Was a condition found?

--

Go to Step 13

Go to Step 13

11

Inspect engine harness circuit 1227 (YEL/BLK) for a short to voltage B+.

Refer to General Electrical Diagnosis in Wiring Systems.

Was a condition found?

--

Go to Step 13

Go to Step 14

12

Inspect engine harness circuit 452 (BLK) for an open.

Refer to General Electrical Diagnosis in Wiring Systems.

Was a condition found?

--

Go to Step 13

Go to Step 14

13

Repair the wiring as necessary.

Refer to Wiring Repairs in Wiring Systems.

Is the repair complete?

--

Go to Step 15

--

14

Replace the TCM.

Refer to Powertrain Control Module Replacement/Programming in Engine Controls.

Is the replacement complete?

--

Go to Step 15

--

15

Perform the following procedure in order to verify the repair:

  1. Select DTC.
  2. Select Clear Info.
  3. Operate the vehicle.

Is the transmission fluid temperature greater than -40°C (-40°F).

--

System OK

Go to Step 1