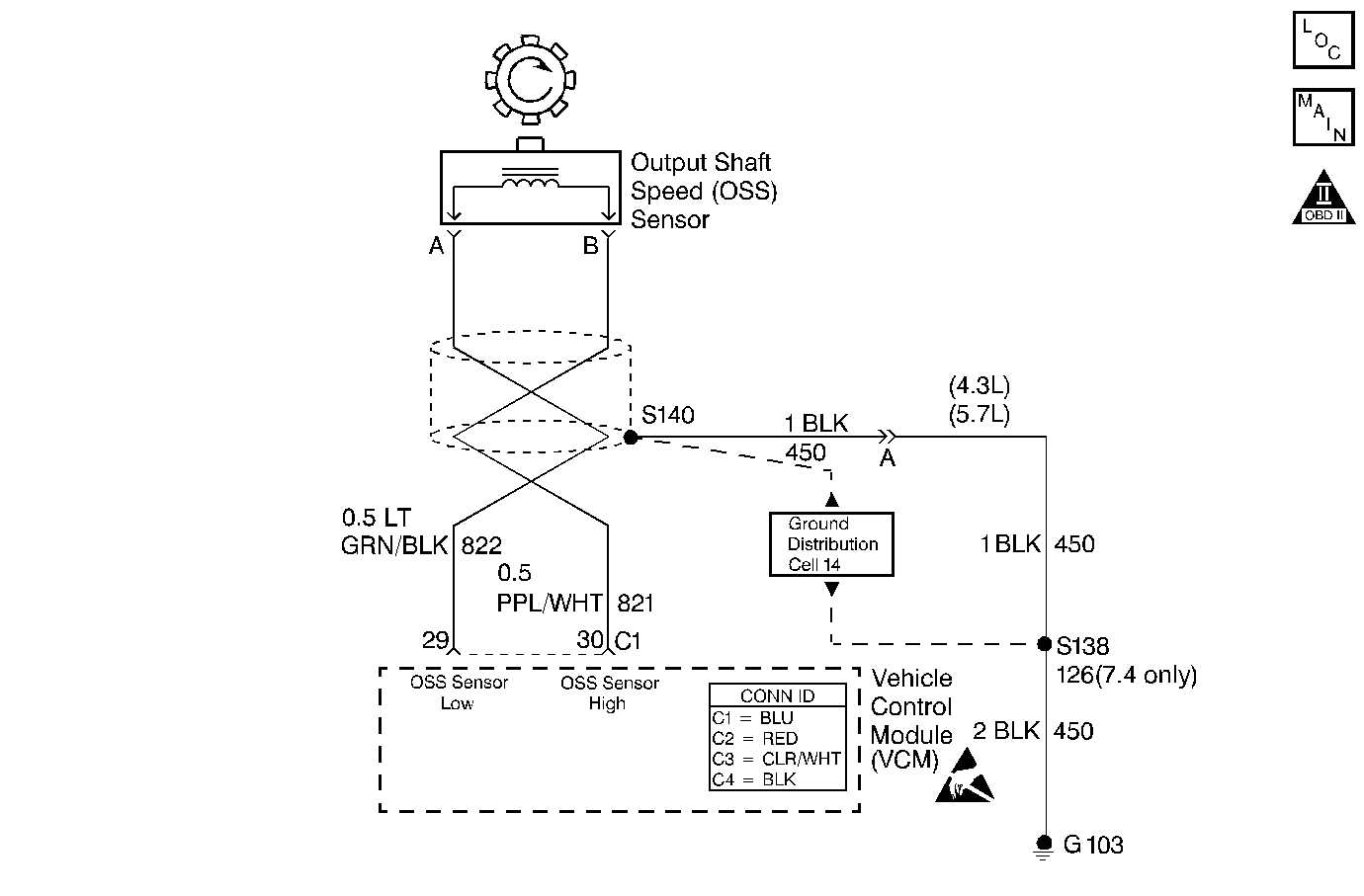
The output shaft speed sensor (OSS sensor), which is a permanent magnet (PM) generator, provides the vehicle speed information to the vehicle control module (VCM). The PM generator produces a pulsing AC voltage as the transmission speed sensors rotor teeth pass through the sensor's magnetic field. The AC voltage level and the number of pulses increase as the speed of the vehicle increases. The VCM then converts the pulsing voltage to a digital signal for vehicle speed. The vehicle speed is used for engine and transmission calculations.
If the VCM detects a low vehicle speed and there is a high engine speed in a drive gear range, DTC P0503 sets. DTC P0503 is a type D DTC. For California emissions, DTC P0503 is a type B DTC.
| • | No TFP manual valve position switch DTC P1810. |
| • | No TFP manual valve position switch changes in less than 10 seconds. |
| • | The A/T ISS is greater than 1500 RPM. |
| • | The engine is running more than 475 RPM for more than 7 seconds. |
| • | No VSS increase greater than 250 RPM within 2 seconds. |
| • | The OSS RPM has dropped more than 1000 RPM for at least 4 seconds |
| • | The gear range is not PARK or NEUTRAL. |
| • | For California emissions, the VCM illuminates the malfunction indicator lamp (MIL). |
| • | The VCM commands maximum line pressure. |
| • | The VCM freezes the shift adapts. |
| • | The VCM defaults a calculated output speed value by using the ISS values. |
| • | The VCM stores DTC P0503 in VCM history. |
| • | For California emissions, the VCM turns OFF the MIL during the third consecutive trip in which the diagnostic test runs and passes. |
| • | A scan tool clears the DTC from VCM history. |
| • | For California emissions, the VCM clears the DTC from VCM history if the vehicle completes 40 consecutive warm-up cycles without an emission related diagnostic fault occurring. |
| • | For Federal emissions, the VCM clears the DTC from VCM history if the vehicle completes 40 consecutive warm-up cycles without a non-emission related diagnostic fault occurring. |
| • | The VCM cancels the DTC default actions when the fault no longer exists and the ignition switch is OFF long enough in order to power down the VCM. |
| • | DTC P0503 sets when the VCM detects an OSS loss. |
| • | Inspect the wiring at the VCM, the OSS sensor connector and all other circuit connecting points for the following conditions: |
| - | A backed out terminal |
| - | A damaged terminal |
| - | Reduced terminal tension |
| - | A chafed wire |
| - | A broken wire inside the insulation. |
| - | Moisture intrusion |
| - | Corrosion |
| • | When diagnosing for an intermittent short or open, massage the wiring harness while watching the test equipment for a change. |
| • | The vehicle may need to be driven to duplicate the intermittent condition. |
| • | First diagnose and clear any engine DTCs or TP sensor codes. Then inspect for any transmission DTCs that may have reset. |
The numbers below refer to the step numbers on the diagnostic table.
This step tests the integrity of the OSS sensor.
This step tests for voltage in the 822 low circuit.
This step tests the 5-volt and ground circuit of the OSS sensor circuit.
This step tests the OSS sensor and the circuit.
Step | Action | Value(s) | Yes | No |
|---|---|---|---|---|
1 | Was the Powertrain On-Board Diagnostic (OBD) System Check performed? | -- | Go to Powertrain On Board Diagnostic (OBD) System Check (4.3L) or Powertrain On Board Diagnostic (OBD) System Check (5.7L) or Powertrain On Board Diagnostic (OBD) System Check (7.4L) | |
2 |
Important: Before clearing the DTCs, use the scan tool in order to record the Freeze Frame and Failure Records. Using the Clear Info function erases the Freeze Frame and Failure records from the VCM. Does the Transmission OSS drop or fluctuate more than the specified value? | 1000 RPM | Go to Diagnostic Aids | |
Does the DMM voltage drop or fluctuate at 2000 RPM? | -- | |||
4 |
Is the voltage within the specified value and steady? | 4.0-5.1 volts DC | ||
With the ignition switch in the RUN position, measure the voltage at cavity B of the OSS sensor connector. Is the voltage less than the specified value? | 0.2 volts | |||
6 | Is the voltage reading in Step 4 greater than the specified value? | 5.1 volts | ||
Is the voltage within the specified value and steady? | 4.0-5.1 volts DC | |||
8 |
Refer to General Electrical Diagnosis in Wiring Systems. Refer to Wiring Repairs in Wiring Systems. Was the condition found? | -- | ||
9 |
Refer to General Electrical Diagnosis in Wiring Systems. Refer to Wiring Repairs in Wiring Systems. Was the condition found? | -- | -- | |
10 |
Refer to General Electrical Diagnosis in Wiring Systems. Refer to Wiring Repairs in Wiring Systems. Was the condition found? | -- | ||
11 | Using the J 39200 DMM, measure the resistance between terminals A and B of the OSS sensor. Is the resistance within the specified value? | 1042-2088ohms | ||
12 |
Refer to General Electrical Diagnosis in Wiring Systems. Refer to Wiring Repairs in Wiring Systems. Was a shorted condition found? | -- | ||
Is the voltage greater than the specified value? | 0.5 volts AC | -- | ||
14 |
Was a condition found? | -- | ||
15 |
Refer to Vehicle Speed Sensor Replacement . Refer to Unit Repair. Was the condition found? | -- | ||
16 | Replace the VCM. Refer to VCM Replacement/Programming (4.3L) or VCM Replacement/Programming (5.7L) or VCM Replacement/Programming (7.4L) in Engine Controls. Is the replacement complete? | -- | -- | |
17 | Replace the OSS sensor. Refer to Vehicle Speed Sensor Replacement . Is the replacement complete? | -- | -- | |
18 | Perform the following procedure in order to verify the repair:
Has the test run and passed? | -- | System OK |