GM Service Manual Online
For 1990-2009 cars only

DTC P0717 Input Speed Sensor Circuit Low Input L29/L31/L35


Object Number: 369881  Size: MF
Automatic Transmission Components Gasoline
Automatic Transmission Controls Schematics VCM Control
OBD II Symbol Description Notice
Handling ESD Sensitive Parts Notice

Circuit Description

The automatic transmission input (shaft) speed (A/T ISS) sensor provides transmission input speed to the vehicle control module (VCM). The A/T ISS sensor is a permanent magnet (PM) generator. The sensor mounts into the transmission case and maintains a slight air gap between the sensor and the forward clutch housing. The PM generator produces an AC voltage as the forward clutch housing rotor teeth pass through the sensor's magnetic field. The AC voltage level increases as the turbine shaft speed increases. The VCM converts the AC voltage into a digital signal. The VCM determines actual turbine speed using the digital signal. The VCM uses the input speed to calculate torque converter slip speed, and gear ratios.

When the VCM detects a low or no input speed during high vehicle and high engine speeds, then DTC P0717 sets. DTC P0717 is a type D DTC. For California emissions vehicles, DTC P0717 is a type B DTC.

Conditions for Running the DTC

    • No OSS DTC P0502 or P0503.
    • No TFP manual valve position switch DTC P1810.
    • TFP manual valve position switch is not PARK or NEUTRAL.
    • The vehicle speed is greater than 12 mph.
    • The engine runs greater than 475 RPM for at least 7 seconds, and not in fuel cutoff.

Conditions for Setting the DTC

The measured input speed is less than 25 RPM for at least 5.0 seconds.

Action Taken When the DTC Sets

    •  For California emissions only, the VCM illuminates the malfunction indicator lamp (MIL).
    • The VCM defaults the transmission to maximum line pressure.
    • The VCM freezes shift adapts.
    • The VCM stores DTC P0717 in VCM history.

Conditions for Clearing the MIL/DTC

    • For California emissions, the VCM turns OFF the MIL during the third consecutive trip in which the diagnostic test runs and passes.
    • A scan tool clears the DTC from VCM history.
    • For California emissions, the VCM clears the DTC from VCM history if the vehicle completes 40 consecutive warm-up cycles without an emission related diagnostic fault occurring.
    • For Federal emissions, the VCM clears the DTC from VCM history if the vehicle completes 40 consecutive warm-up cycles without a non-emission related diagnostic fault occurring.
    • The VCM cancels the DTC default actions when the fault no longer exists and the ignition switch is OFF long enough in order to power down the VCM.

Diagnostic Aids

    • Inspect the wiring at the VCM, the OSS connector and all other circuit connecting points for the following:
       - A backed out terminal
       - A damaged terminal
       - Reduced terminal tension
       - A chafed wire
       - A broken wire inside the insulation
       - Moisture intrusion
       - Corrosion
       - The A/T ISS sensor harness being near the DIS components or the ignition wires.
    • When diagnosing for an intermittent short or open, massage the wiring harness while watching the test equipment for a change.
    • First diagnose and clear any engine DTCs or TP sensor codes that are present. Then inspect for any transmission DTCs that may have reset.

Test Description

The numbers below refer to the step numbers on the diagnostic table.

  1. This step tests for proper operation to the A/T ISS Sensor.

  2. This step tests for proper A/T ISS circuit operation up to the VCM connections. Remove the fuel pump relay in order to eliminate a flooding condition during this step.

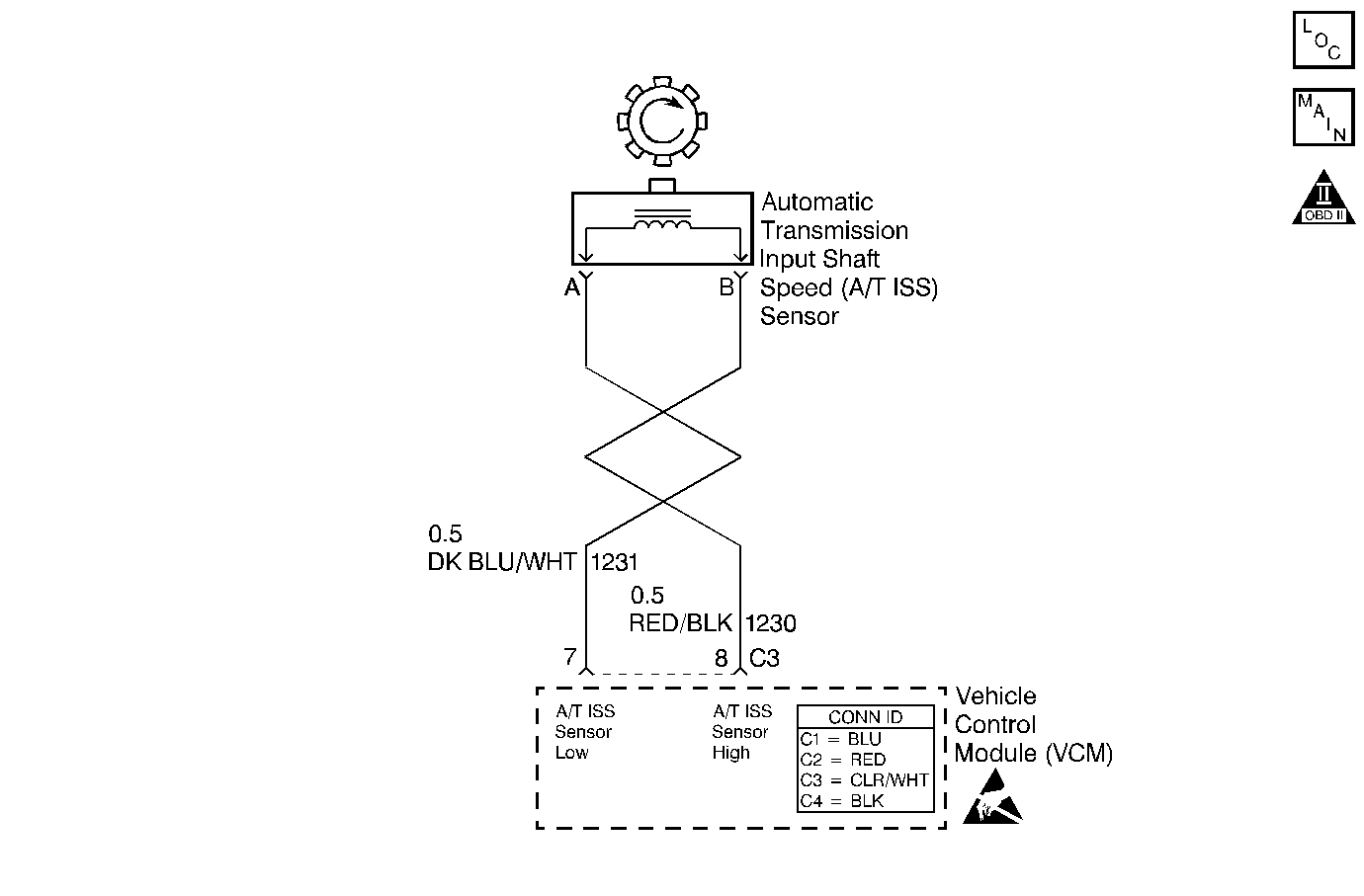
DTC P0717 Input Speed Sensor Circuit Low Input (1999 P32/42)

Step

Action

Value(s)

Yes

No

1

Did you perform the Powertrain Diagnostic System Check?

--

Go to Step 2

Go to Powertrain On Board Diagnostic (OBD) System Check (4.3 L) or Powertrain On Board Diagnostic (OBD) System Check (5.7 L) or Powertrain On Board Diagnostic (OBD) System Check (7.4 L) Section 6E3

2

  1. Install a Scan Tool .
  2. Turn ON the ignition, with the engine OFF.
  3. Important: Before clearing the DTC, use the Scan Tool in order to record the Freeze Frame and Failure Records for reference. The Clear Info function will erase the data.

  4. Record the DTC Freeze Frame and Failure Records.
  5. Clear the DTC.
  6. Raise and support the rear axle assembly.
  7. Start the engine.
  8. Place the transmission in any drive range.

With the drive wheels rotating, does the Scan Tool Transmission ISS increase with the drive wheel speed?

--

Go to Intermittent Conditions (4.3 L) or Intermittent Conditions (5.7 L) or Intermittent Conditions (7.4 L) in Engine Controls

Go to Step 3

3

  1. Turn OFF the ignition.
  2. Disconnect the VCM connector C3.
  3. Using the J 39200 digital multimeter (DMM) and the J 35616 connector test adapter kit, measure the resistance between harness connector terminals C3-8 and C3-7.

Does the resistance measure within the specified range?

1377-3355 ohms

Go to Step 4

Go to Step 7

4

Measure the resistance from terminal C3-7 to ground.

Does the resistance measure greater than the specified value?

50 K ohms

Go to Step 5

Go to Step 8

5

  1. Reconnect the VCM connector C3.
  2. Disconnect the engine wiring harness from the ISS assembly.
  3. Turn ON the ignition, with the engine OFF.
  4. Test the high circuit (CKT 1230) of the ISS assembly for a short to power.
  5. Test the low circuit (CKT 1231) of the ISS assembly for a short to power.
  6. Refer to General Electrical Diagnosis in Wiring Systems.

Did you find and correct the condition?

--

Go to Step 13

Go to Step 12

6

  1. Disconnect the engine wiring harness from the ISS assembly.
  2. Measure the resistance of the ISS assembly.

Does the resistance measure within the specified range?

1377-3355 ohms

Go to Step 7

Go to Step 11

7

Was the resistance measured in Step 3 greater than the specified value?

3355 ohms

Go to Step 9

Go to Step 10

8

  1. Test the high circuit (CKT 1230) of the ISS assembly for a short to ground.
  2. Test the low circuit (CKT 1231) of the ISS assembly for a short to ground.
  3. Refer to General Electrical Diagnosis in Wiring Systems.

Did you find and correct the condition?

--

Go to Step 13

--

9

  1. Test the high circuit (CKT 1230) of the ISS assembly for an open.
  2. Test the low circuit (CKT 1231) of the ISS assembly for an open.
  3. Refer to General Electrical Diagnosis in Wiring Systems.

Did you find and correct the condition?

--

Go to Step 13

--

10

Test the high circuit (CKT 1230) and the low circuit (CKT 1231) of the ISS assembly for a short together.

Refer to General Electrical Diagnosis in Wiring Systems.

Did you find and correct the condition?

--

Go to Step 13

--

11

Replace the ISS assembly.

Refer to Vehicle Speed Sensor Replacement .

Did you complete the replacement?

--

Go to Step 13

--

12

Replace the VCM.

Refer to VCM Replacement/Programming (4.3 L) or VCM Replacement/Programming (5.7 L) or VCM Replacement/Programming (7.4 L) in Engine Controls.

Did you complete the replacement?

--

Go to Step 13

--

13

Perform the following procedure in order to verify the repair:

  1. Select DTC.
  2. Select Clear Info.
  3. Operate the vehicle under the following conditions:
  4. • The transmission output speed is greater than 500 RPM.
    • All conditions met for 1 second.
  5. Select Specific DTC.
  6. Enter DTC P0717.

Has the test run and passed?

--

System OK

Go to Step 1

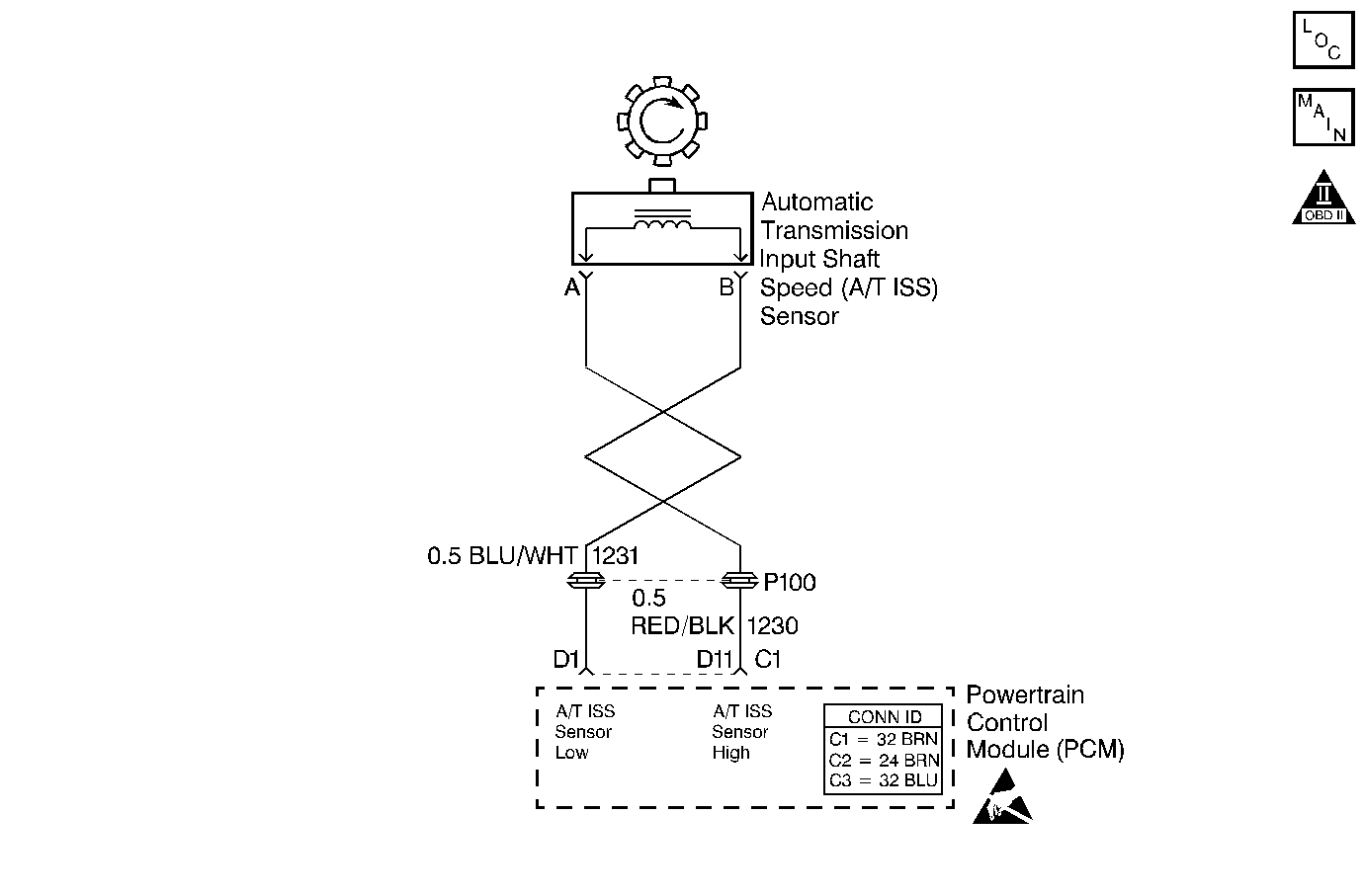
DTC P0717 Input Speed Sensor Circuit Low Input L57/L65 EFI


Object Number: 370937  Size: MF
Automatic Transmission Components Diesel
Automatic Transmission Controls Schematics PCM Control
OBD II Symbol Description Notice
Handling ESD Sensitive Parts Notice

Circuit Description

The automatic transmission input (shaft) speed (A/T ISS) sensor provides transmission input speed to the powertrain control module (PCM). The A/T ISS sensor is a permanent magnet (PM) generator. The sensor mounts into the transmission case and maintains a slight air gap between the sensor and the forward clutch housing. The PM generator produces an AC voltage as the forward clutch housing rotor teeth pass through the sensor's magnetic field. The AC voltage level increases as the turbine shaft speed increases. The PCM converts the AC voltage into a digital signal. The PCM determines actual turbine speed using the digital signal. The PCM uses the input speed to calculate torque converter slip speed, and gear ratios.

When the PCM detects a low or no input speed during high vehicle and high engine speeds, then DTC P0717 sets. DTC P0717 is a type B DTC.

Conditions for Running the DTC

    • No OSS sensor DTCs P0722 or P0723.
    • No TFP manual valve position switch DTC P1810.
    • TFP manual valve position switch is not in PARK or NEUTRAL.
    • The vehicle speed is greater than 32 Km/h (20 mph).
    • System voltage is 7.5-18.0 volts.
    • The engine runs greater than 475 RPM 7 seconds.

Conditions for Setting the DTC

The A/T ISS is less than 50 RPM for at least 5 seconds.

Action Taken When the DTC Sets

    • The PCM illuminates the malfunction indicator lamp (MIL).
    • The PCM defaults the transmission to maximum line pressure.
    • The PCM freezes shift adapts.
    • The PCM stores DTC P0717 in PCM history.

Conditions for Clearing the MIL/DTC

    • For Federal and California emissions, the PCM turns OFF the MIL during the third consecutive trip in which the diagnostic test runs and passes.
    • A scan tool clears the DTC from PCM history.
    • For Federal and California emissions, the PCM clears the DTC from PCM history if the vehicle completes 40 consecutive warm-up cycles without an emission related diagnostic fault occurring.
    • For vehicles equal to or greater than 15,000 lbs GVW, the PCM clears the DTC from PCM history if the vehicle completes 40 consecutive warm-up cycles without a non-emission related diagnostic fault occurring.
    • The PCM cancels the DTC default actions when the fault no longer exists and the ignition switch is OFF long enough in order to power down the PCM.

Diagnostic Aids

    • Inspect the wiring at the PCM, the transmission connector and all other circuit connecting points for the following conditions:
       - A backed out terminal
       - A damaged terminal
       - Reduced terminal tension
       - A chafed wire
       - A broken wire inside the insulation
       - Moisture intrusion
       - Corrosion
    • When diagnosing for an intermittent short or open, massage the wiring harness while watching the test equipment for a change.
    • First diagnose and clear any engine DTCs that are present. Then inspect for any transmission DTCs that may have reset. If a DTC P0717 and a DTC P0730 are both present, diagnose DTC P0717 first.

Test Description

The numbers below refer to the step numbers on the diagnostic table.

  1. This step tests for proper operation of the A/T ISS sensor.

  2. This step tests for proper A/T ISS sensor and circuit operation. Remove the fuel solenoid fuse in order to eliminate a flooding condition.

DTC P0717

Step

Action

Value(s)

Yes

No

1

Was the Powertrain On-Board Diagnostic (OBD) System Check performed?

--

Go to Step 2

Go to Powertrain On Board Diagnostic (OBD) System Check

2

  1. Install the Scan Tool .
  2. With the engine OFF, turn the ignition switch to the RUN position.
  3. Important: Before clearing the DTCs, use the scan tool in order to record the Freeze Frame and Failure Records. Using the Clear Info function erases the Freeze Frame and Failure Records from the PCM.

  4. Record the Freeze Frame and Failure Records.
  5. Clear the DTC.
  6. Important: If a DTC P0730 is also present, refer to the Diagnostic Aids.

  7. Disconnect the wiring harness at the input shaft speed sensor.
  8. Using the J 39200 digital multimeter (DMM) and the J 35616 connector test adapter kit, connect the test leads to the A/T ISS sensor terminals. Set the J 39200 DMM selector on OHMS.
  9. Measure the resistance of the A/T ISS sensor.

Is the resistance within the specified value?

1042-2088 ohms

Go to Step 3

Go to Step 9

3

  1. With the leads on the A/T ISS sensor, select AC volts on the J 39200 DMM.
  2. With the selector in PARK position, start the engine and idle above 700 RPM.

Is the DMM voltage greater than the specified value?

3.0 volts  AC

Go to Step 4

Go to Step 9

4

  1. Reconnect the A/T ISS harness to the sensor.
  2. With the ignition in the OFF position, disconnect the PCM connector C1.
  3. Probe across terminals D11 and D1 at the PCM connector C1 with the J 39200 DMM on AC voltage.
  4. Remove the fuel solenoid fuse located in the Fuse/Relay Center.
  5. Refer to Automatic Transmission Components .

  6. With the vehicle in PARK, turn the ignition to the switch to the START position in order to crank the engine.

Is the voltage greater than the specified value?

0.4 volts AC

Go to Step 10

Go to Step 5

5

Inspect circuit 1230 (RED/BLK) for an open, a short to B+ or a short to ground.

Refer to General Electrical Diagnosis in Wiring Systems.

Was the condition found?

--

Go to Step 7

Go to Step 6

6

Inspect circuit 1231 (BLU/WHT) for a short to B+ or an open.

Refer to General Electrical Diagnosis in Wiring Systems.

Was the condition found?

--

Go to Step 8

Go to Diagnostic Aids

7

Repair the condition in circuit 1230 (RED/BLK) .

Refer to Wiring Repairs in Wiring Systems.

Was the condition corrected?

--

Go to Step 12

--

8

Repair the condition in circuit 1231 (BLU/WHT).

Refer to Wiring Repairs in Wiring Systems.

Was the condition corrected?

--

Go to Step 12

--

9

Replace the input shaft speed sensor.

Refer to Vehicle Speed Sensor Replacement .

Is the replacement complete?

--

Go to Step 12

--

10

Inspect the PCM connector C1 pins and the terminals.

Was the condition found?

--

Go to Step 12

Go to Step 11

11

Replace the PCM.

Refer to Powertrain Control Module Replacement/Programming in Engine Controls.

Is the replacement complete?

--

Go to Step 12

--

12

Perform the following procedure in order to verify the repair:

  1. Select DTC.
  2. Important: Failure to clear codes before continuing may cause poor engine performance and high idle at start up.

  3. Select Clear Info.
  4. Operate the vehicle under the following conditions:
  5. • Start and run the engine above 500 RPM .
    • Drive the vehicle greater than 12 mph.
    •  The PCM must see a Transmission ISS greater than 500 RPM for 1 second.
  6. Select Specific DTC.
  7. Enter DTC P0717.

Has the test run and passed?

--

System OK

Go to Step 1