Removal Procedure
- Raise the front of the vehicle. Support the vehicle with suitable safety stands.
- Remove the tires and wheels. Refer to Wheel Removal and Tire Mounting
and Dismounting in Tires and Wheels.
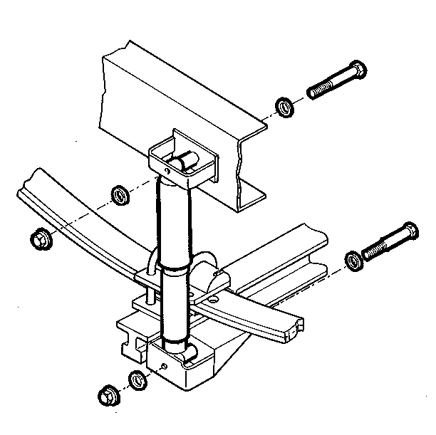
- Remove the lower shock mounting bolt, the washer and the nut.
- Remove the shock absorber from the lower shock mount.
- Remove the upper shock mounting bolt, the washer and the nut.
- Remove the shock absorber from the upper mount.
Inspection Procedure
- Inspect the shock absorbers for damage and leakage.
- Test the shock absorbers. Refer to
Struts or Shock Absorbers Bench Test
.
Installation Procedure
- Install the shock absorber to the upper shock mount with the bolt, the washer
and the nut.
- Install the shock absorber to the lower shock mount with the bolt,
the washer and the nut.
Tighten
Tighten the nut to 140 N·m (103 lb ft).
Notice: Use the correct fastener in the correct location. Replacement fasteners
must be the correct part number for that application. Fasteners requiring
replacement or fasteners requiring the use of thread locking compound or sealant
are identified in the service procedure. Do not use paints, lubricants, or
corrosion inhibitors on fasteners or fastener joint surfaces unless specified.
These coatings affect fastener torque and joint clamping force and may damage
the fastener. Use the correct tightening sequence and specifications when
installing fasteners in order to avoid damage to parts and systems.
- Install the tires and the wheels. Refer to Wheel Removal and Tire
Mounting and Dismounting in Tires and Wheels.