GM Service Manual Online
For 1990-2009 cars only

Removal Procedure

Tools Required

Refer to J 36608 Fuel Sender Tool

  1. Drain the fuel tank. Refer to Fuel Tank Draining Procedure .
  2. Raise the vehicle on a suitable hoist.
  3. Important: Clean all the fuel pipe and hose connections as well as the surrounding areas before disconnecting the fuel pipes and hoses.

  4. Disconnect the vent hose at the fuel tank.
  5. Disconnect the filler tube at the fuel tank.

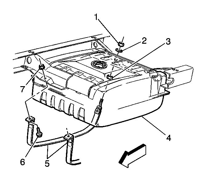
  6. Object Number: 223030  Size: SH
  7. Support the fuel tank (4).
  8. With the aid of an assistant, remove the fuel tank strap attaching bolts (6), nuts (1) and the fuel tank straps (5) and shield.
  9. Lower the fuel tank enough to disconnect the fuel sender electrical connector and the retaining clips.
  10. Disconnect the hoses from the fuel sender assembly.
  11. Remove the fuel tank from the vehicle and place the tank in a suitable work area.
  12. Remove the fuel sender assembly from the fuel tank using the fuel sender toolJ 36608 . Refer to Fuel Sender Assembly Replacement .

Installation Procedure

  1. Install the fuel sender assembly with new O-rings on the fuel pipes. Refer to Fuel Sender Assembly Replacement .

  2. Object Number: 223030  Size: SH
  3. Position and support the fuel tank (4).
  4. Position the fuel tank straps (5) and connect the fuel feed and return hoses to the fuel sender fittings.
  5. Tighten
    Tighten the fuel feed and return hoses to 22 N·m (16 lb ft).

  6. Connect the electrical connector to the fuel sender assembly.
  7. Install the retaining clips.
  8. Install the fuel filler vent hose to the vent pipe.
  9. Install the fuel filler neck connecting tube to the fuel tank.
  10. Install the fuel tank strap bolts (6) and nuts(1).
  11. Tighten
    Tighten the fuel tank strap bolts and nuts to 13 N·m (115 lb in).

  12. Bleed any air from the fuel system. Refer to Fuel Feed and Fuel Return Pipe Purge Procedure .
  13. Start the engine and check for leaks.