GM Service Manual Online
For 1990-2009 cars only

SMU - SECTION 3A - DTC 45 RICH EXHAUST WILL SET

REVISED: 10/10/94

THIS BULLETIN IS BEING REVISED TO CHANGE THE TEXT FORMAT.

SUBJECT: SERVICE MANUAL UPDATE - SECTION 3A - DTC 45 RICH EXHAUST - WILL SET WHEN (VALUE CHANGE)

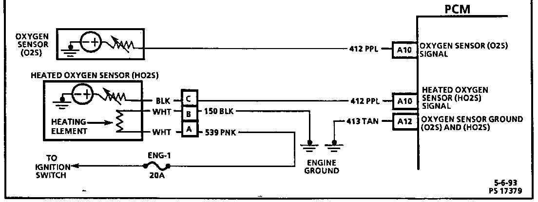
MODELS: 1994-1995 CHEVROLET AND GMC TRUCK C/K, P TRUCK AND G VAN WITH 5.0L ENGINE (VIN H - RPO L03) 5.7L ENGINE (VIN K - RPO L05) - FOR 1994 UNDER 8500 GVW 7.4L ENGINE (VIN N - RPO L19)

THIS BULLETIN CONTAINS REVISIONS TO DTC 45 CHART PAGES IN THE 1994-1995 G, C/K, P TRUCK "DRIVEABILITY, EMISSIONS AND ELECTRICAL DIAGNOSIS" MANUAL AS FOLLOWS:

1994-1995 C/K TRUCK 3A-72 1994 "G" VAN 3A-70 1995 "G" VAN 3A-72 1994 "P" TRUCK 3A-66 1995 "P" TRUCK 3A-68

CHANGE THESE STEPS ON FACING PAGE: "DTC 45 WILL SET WHEN:" 1. *REMAINS ABOVE 750 MV FOR 61-71 SECONDS AND IN "CLOSE LOOP". 3. *THROTTLE ANGLE IS GREATER THAN 5% (PERCENT).

FIGURES: 00 ATTACHMENTS: 06


Object Number: 81101  Size: FS


Object Number: 81100  Size: FS


Object Number: 81099  Size: FS


Object Number: 81098  Size: FS


Object Number: 84029  Size: FS


Object Number: 79884  Size: FS

GENERAL MOTORS BULLETINS ARE INTENDED FOR USE BY PROFESSIONAL TECHNICIANS, NOT A "DO-IT-YOURSELFER". THEY ARE WRITTEN TO INFORM THOSE TECHNICIANS OF CONDITIONS THAT MAY OCCUR ON SOME VEHICLES, OR TO PROVIDE INFORMATION THAT COULD ASSIST IN THE PROPER SERVICE OF A VEHICLE. PROPERLY TRAINED TECHNICIANS HAVE THE EQUIPMENT, TOOLS, SAFETY INSTRUCTIONS AND KNOW-HOW TO DO A JOB PROPERLY AND SAFELY. IF A CONDITION IS DESCRIBED, DO NOT ASSUME THAT THE BULLETIN APPLIES TO YOUR VEHICLE, OR THAT YOUR VEHICLE WILL HAVE THAT CONDITION. SEE A GENERAL MOTORS DEALER SERVICING YOUR BRAND OF GENERAL MOTORS VEHICLE FOR INFORMATION ON WHETHER YOUR VEHICLE MAY BENEFIT FROM THE INFORMATION.

COPYRIGHT 1994 GENERAL MOTORS CORPORATION. ALL RIGHTS RESERVED.