GM Service Manual Online
For 1990-2009 cars only
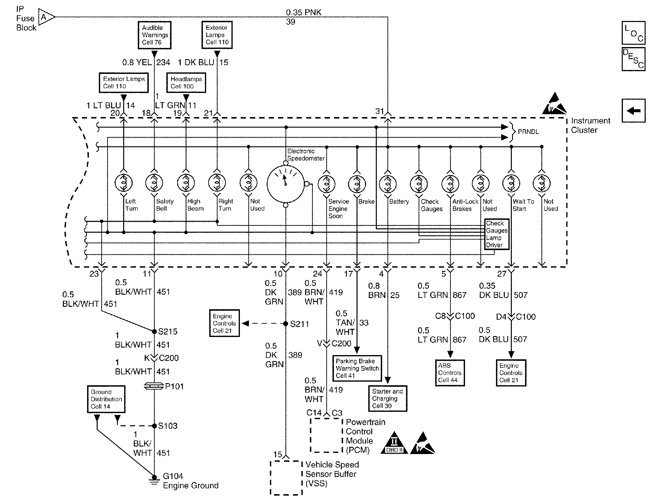
Figure 1:

Cell 81: Electronic PRNDL Schematics Continued


Object Number: 290883  Size: FS
Instrument Cluster Components
Instrument Panel Description
Cell 81: Electronic PRNDL Schematics
Handling ESD Sensitive Parts Notice
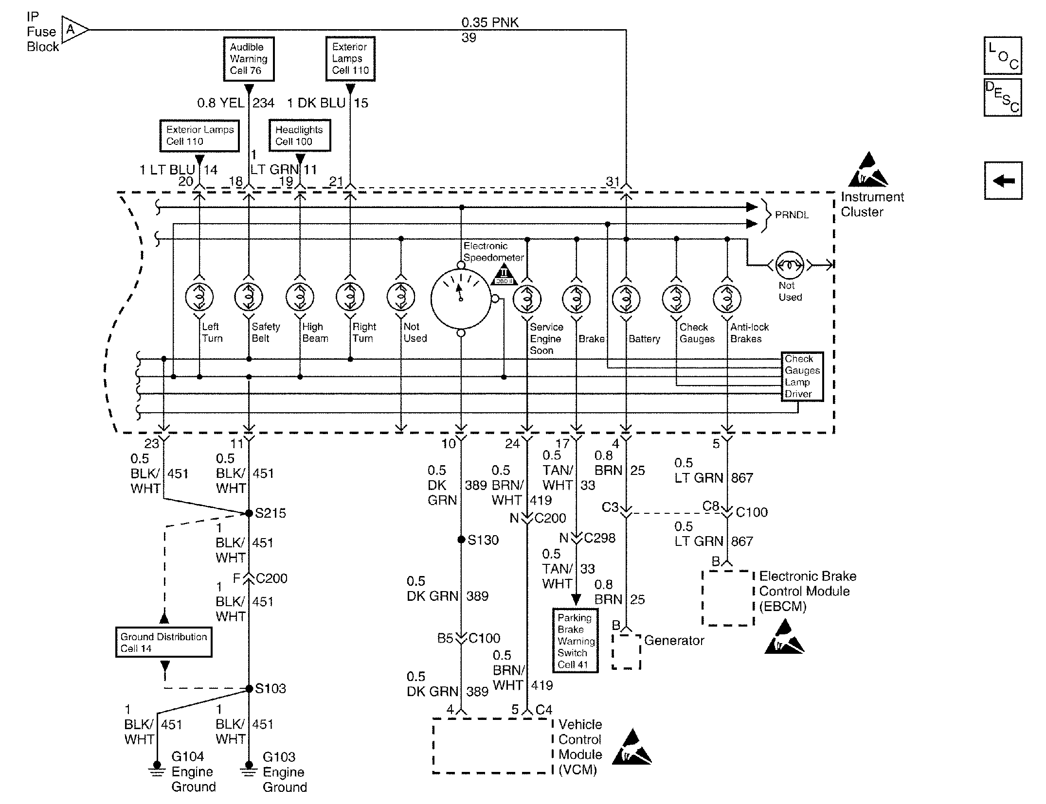
Figure 2:

Cell 81: Electronic PRNDL Schematics


Object Number: 294007  Size: FS
Instrument Cluster Components
Instrument Panel Description
Cell 81: Electronic PRNDL Schematics Continued
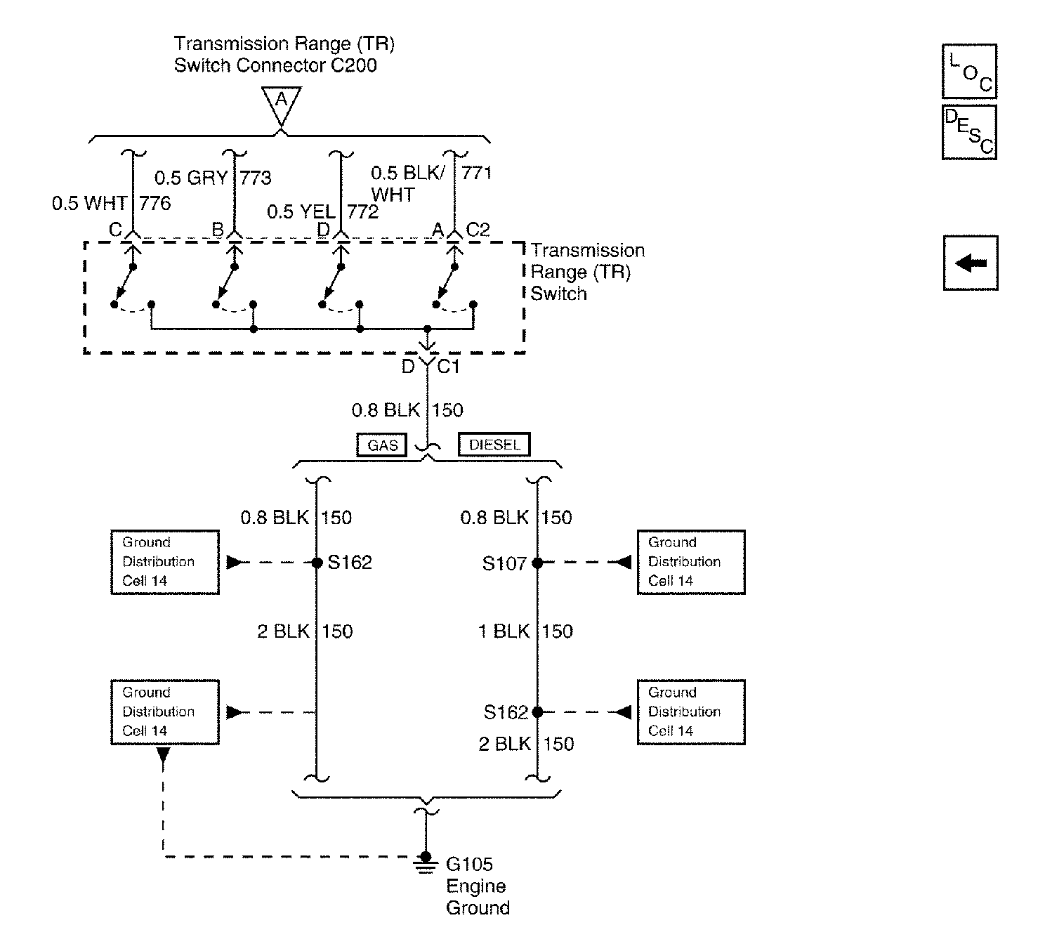
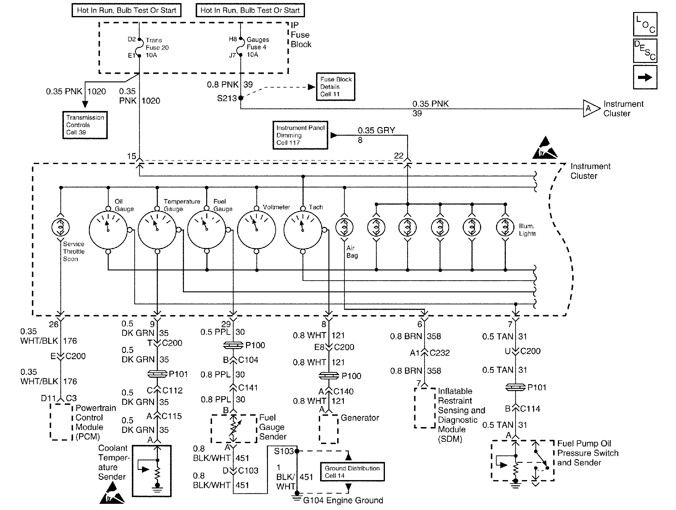
Figure 3:

Cell 82: Diesel Engine


Object Number: 290884  Size: FS
Instrument Cluster Components
Instrument Panel Description
Cell 81: Diesel Engine
Handling ESD Sensitive Parts Notice
Handling ESD Sensitive Parts Notice
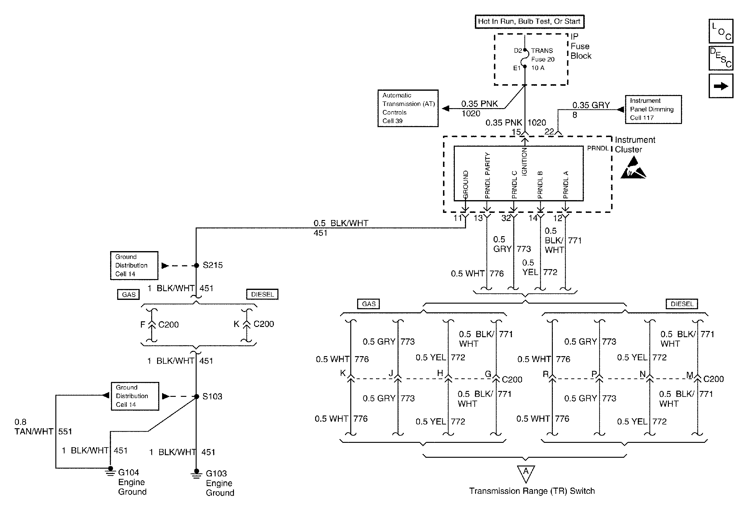
Figure 4:

Cell 81: Diesel Engine


Object Number: 293522  Size: FS
Instrument Cluster Components
Instrument Panel Description
Cell 82: Diesel Engine
Handling ESD Sensitive Parts Notice
Handling ESD Sensitive Parts Notice
OBD II Symbol Description Notice
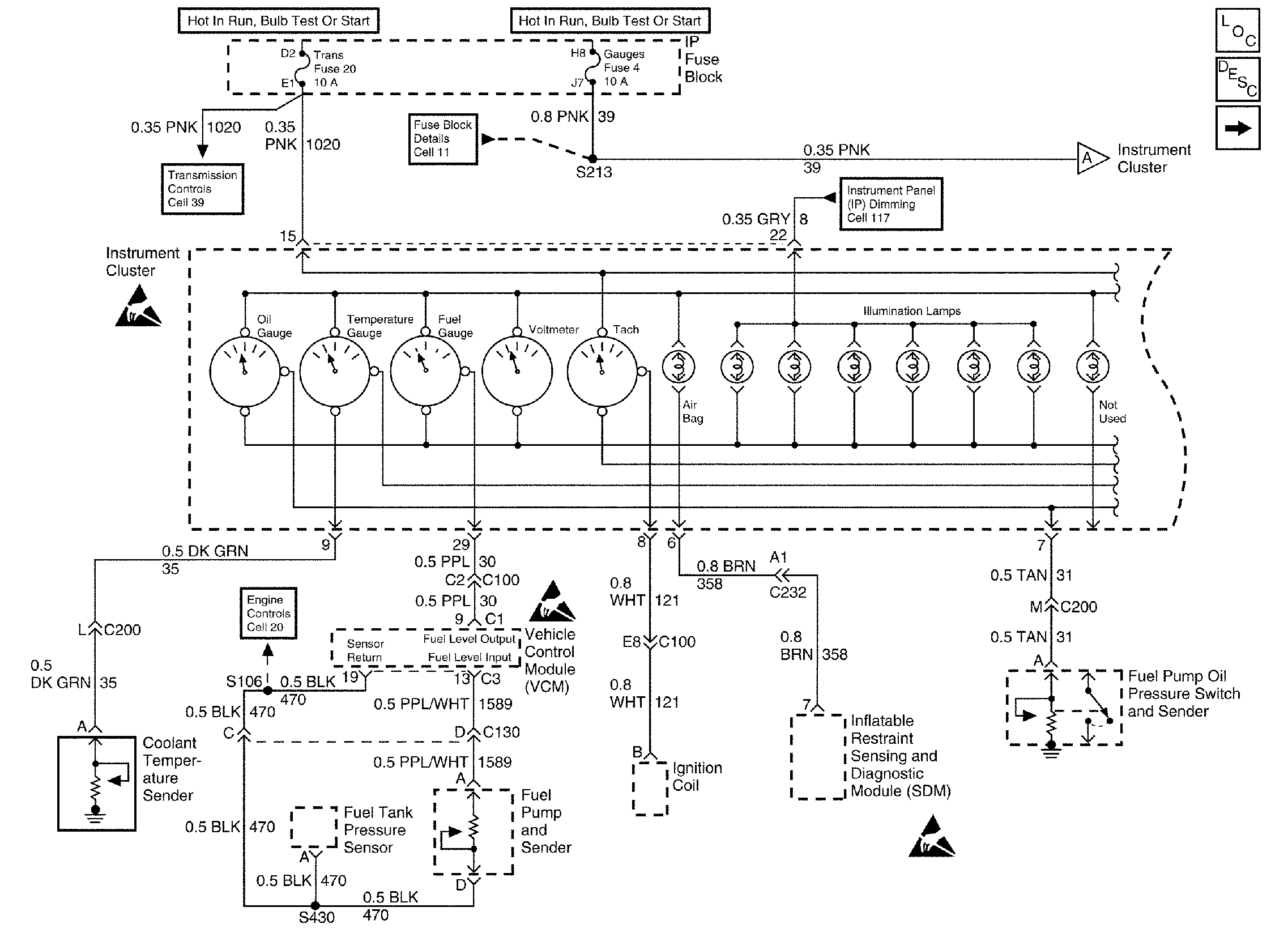
Figure 5:

Cell 82: Gasoline Engines


Object Number: 290871  Size: FS
Instrument Cluster Components
Instrument Panel Description
Cell 81: Gasoline Engine
Handling ESD Sensitive Parts Notice
SIR Handling Caution
Handling ESD Sensitive Parts Notice
Handling ESD Sensitive Parts Notice
Figure 6:

Cell 81: Gasoline Engine


Object Number: 293519  Size: FS
Instrument Cluster Components
Instrument Panel Description
Cell 82: Gasoline Engines
Handling ESD Sensitive Parts Notice
Handling ESD Sensitive Parts Notice
Handling ESD Sensitive Parts Notice