GM Service Manual Online
For 1990-2009 cars only

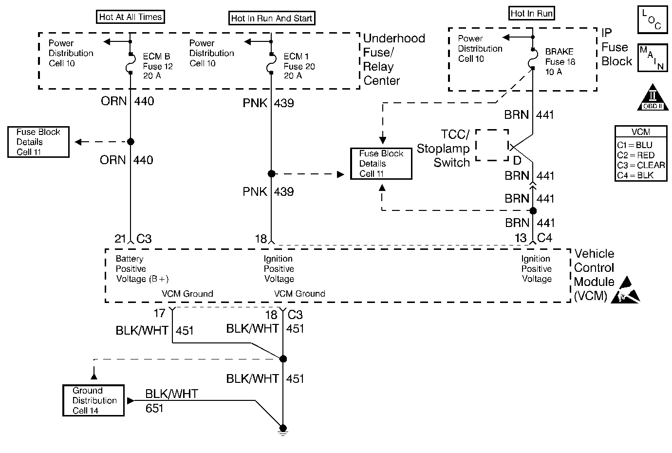
Object Number: 196928  Size: MF
VCM and EBCM - Figure
Engine Controls Schematics
OBD II Symbol Description Notice
Handling ESD Sensitive Parts Notice

Circuit Description

If a control module is installed without being programmed, DTC P0602 will be set. During reprogramming and immediately after completion, DTC P0602 will also be set. This DTC should be successfully cleared after following the reprogramming procedures.

Conditions for Running the DTC

The ignition switch is in the RUN position.

Conditions for Setting the DTC

No software data is present in the VCM.

Action Taken When the DTC Sets

    • The control module illuminates the malfunction indicator lamp (MIL) the first time the diagnostic runs and fails.
    • The control module will set the DTC and records the operating conditions at the time the diagnostic fails. The control module stores the failure information in the scan tools Freeze Frame/Failure Records.

Conditions for Clearing the MIL or DTC

    • The control module turns OFF the MIL after 3 consecutive drive trips when the test has run and passed.
    • A history DTC will clear if no fault conditions have been detected for 40 warm-up cycles. A warm-up cycle occurs when the coolant temperature has risen 22°C (40°F) from the startup coolant temperature and the engine coolant reaches a temperature that is more than 70°C (158°F) during the same ignition cycle.
    • Use a scan tool in order to clear the DTCs.

Test Description

The numbers below refer to the step numbers on the diagnostic table.

  1. If the flashing procedure fails, verify that the equipment being used is functioning properly and that all cable connections are clean and tight. Also, make sure that the software you download is correct for the VCM being flashed. If everything checks out OK, and a second attempt fails, the VCM is faulty.

Step

Action

Value(s)

Yes

No

1

Important: Before clearing the DTCs, use the scan tool in order to record the Freeze Frame and the Failure Records for reference. This information will be lost when the Clear DTC Information function is used.

Was the Powertrain On-Board Diagnostic (OBD) System Check performed?

--

Go to Step 2

Go to Powertrain On Board Diagnostic (OBD) System Check

2

Flash the VCM with the correct software. Refer to VCM Replacement/Programming .

Does DTC P0602 reset?

--

Go to Step 3

Go to Step 5

3

  1. Verify that the equipment being used is functioning properly and that all the cable connections are clean and tight.
  2. Attempt to flash the VCM again.

Does DTC P0602 reset?

--

Go to Step 4

Go to Step 5

4

  1. Replace the VCM.
  2. Program the VCM. Refer to VCM Replacement/Programming .
  3. Perform the Crankshaft Variation Learn Procedure. Refer to Crankshaft Position System Variation Learn .

Is the action complete?

--

Go to Step 5

--

5

  1. Use the scan tool in order to select the DTC and the Clear DTC Information functions.
  2. Start the engine.
  3. Allow the engine to idle until normal operating temperature is reached.
  4. Select the DTC and the Clear DTC functions.
  5. Enter the DTC number which was set.
  6. Operate the vehicle within the conditions for setting this DTC as specified in the supporting text.

Does the scan tool indicate that this diagnostic ran and passed?

--

Go to Step 6

Go to Step 2

6

Use the scan tool in order to display the Capture Info and the Review Capture Info functions.

Are there any DTCs displayed that have not been diagnosed?

--

Go to the applicable DTC table

System OK