GM Service Manual Online
For 1990-2009 cars only

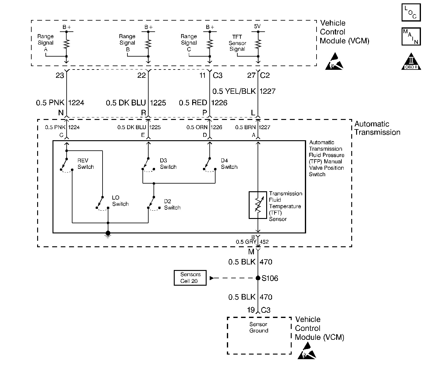
Object Number: 42266  Size: LF
Automatic Transmission Components In Transmission Components
Automatic Transmission Controls Schematics Thumbnails
OBD II Symbol Description Notice
Handling ESD Sensitive Parts Notice
Handling ESD Sensitive Parts Notice

Circuit Description

The Automatic Transmission Fluid Temperature (TFT) sensor is a thermistor within the Automatic Transmission Fluid Pressure Manual Valve Position Switch (TFP Val. Position Sw). The TFT sensor controls the signal voltage to the VCM. The VCM supplies a 5-volt reference signal to the sensor on circuit 1227. When the transmission fluid is cold, the sensor resistance is high. The VCM detects high signal voltage. As the transmission fluid temperature increases to a normal transmission operating temperature, the sensor resistance becomes less and the signal voltage decreases.

When the VCM detects a high transmission temperature for a long period of time, then DTC P0218 sets. DTC P0218 is a type D DTC.

Conditions for Setting the DTC

    • No TFT sensor DTCs P0712 or P0713
    • The TFT is greater than 135°C (275°F).
    • All conditions met for 409 seconds (6.8 minutes)

Action Taken When the DTC Sets

    • The VCM freezes shift adapts from being updated.
    • The VCM does not illuminate the Malfunction Indicator Lamp (MIL).

Conditions for Clearing the DTC

    • A scan tool can clear the DTC from the VCM history. The VCM clears the DTC from the VCM history if the vehicle completes 40 warm-up cycles without a failure reported.
    • The VCM cancels the DTC default actions when the fault no longer exists and the ignition is OFF long enough in order to power down the VCM.

Diagnostic Aids

    • Inspect the wiring for poor electrical connections at the VCM. Inspect the wiring for poor electrical connections at the transmission 20-way connector. Look for the following conditions:
       - A bent terminal
       - A backed out terminal
       - A damaged terminal
       - Poor terminal tension
       - A chafed wire
       - A broken wire inside the insulation
    • When diagnosing for an intermittent short or open condition, massage the wiring harness while watching the test equipment for a change.
    • The TFT sensor temperature displayed on the scan tool should rise steadily to a normal operating temperature, then stabilize.
    • Inspect the torque converter stator for a possible problem.
    • Ask about the customer's driving habits, trailer towing, etc. . .

Test Description

The numbers below refer to the step numbers on the diagnostic chart.

  1. This step tests for a skewed (mis-scaled) sensor or shorted circuit.

  2. This step simulates a TFT sensor DTC P0713.

DTC P0218 Transmission Fluid Overtemperature

Step

Action

Value(s)

Yes

No

1

Was the Powertrain On-Board Diagnostic (OBD) System Check performed?

--

Go to Step 2

Go to OBD System Check

2

Perform the following inspections:

    • Inspect for possible transmission or engine cooling system problems.
    • Transmission fluid checking procedure.
    • Refer to 4L60-E Transmission Fluid Checking Procedure.

Did you perform the inspections?

--

Go to Step 3

--

3

  1. Install the scan tool.
  2. With the engine OFF, turn the ignition switch to the RUN position.
  3. Important: Before clearing the DTCs, use the scan tool in order to record the Failure Records for reference. The Clear Info function will erase the data.

  4. Record the DTC Failure Records.

Is the TFT Sensor signal voltage less than the specified value?

0.33 volt

Go to Step 4

Go to Diagnostic Aids

4

  1. Turn the ignition OFF.
  2. Disconnect the transmission 20-way connector (additional DTCs may set).
  3. With the engine OFF, turn the ignition switch to the RUN position.

Is the TFT Sensor signal voltage greater than the specified value?

4.92 volts

Go to Automatic Transmission Wiring Harness Assembly Check

Go to Step 5

5

Inspect circuit 1227 for a short to ground. Repair the circuit if necessary.

Refer to Electrical Diagnosis, Section 8A.

Did you find a problem?

--

Go to Step 7

Go to Step 6

6

Replace the VCM.

Refer to VCM Replacement, Section 6.

Is the replacement complete?

--

Go to Step 7

--

7

In order to verify your repair, perform the following procedure:

  1. Select DTC.
  2. Select Clear Info.
  3. Ensure that the following conditions are met:
  4. • With the engine OFF, the ignition switch is in the RUN position.
    • The scan tool indicates a TFT less than 130°C (266°F) for at least 5 seconds.
  5. Select Specific DTC. Enter DTC P0218.

Has the test run and passed?

--

System OK

Begin the diagnosis again. Go to Step 1