GM Service Manual Online
For 1990-2009 cars only
Makes
🢒
Chevrolet
🢒
2001
🢒
Chevy Suburban - 2WD
🢒
Suspension
🢒
Selectable Ride
🢒 Electronic Suspension Switch Replacement
Removal Procedure
Remove the instrument panel trim bezel. Refer to
Instrument Panel Cluster Trim Plate Bezel Replacement
in Instrument Panel, Gages and Console.
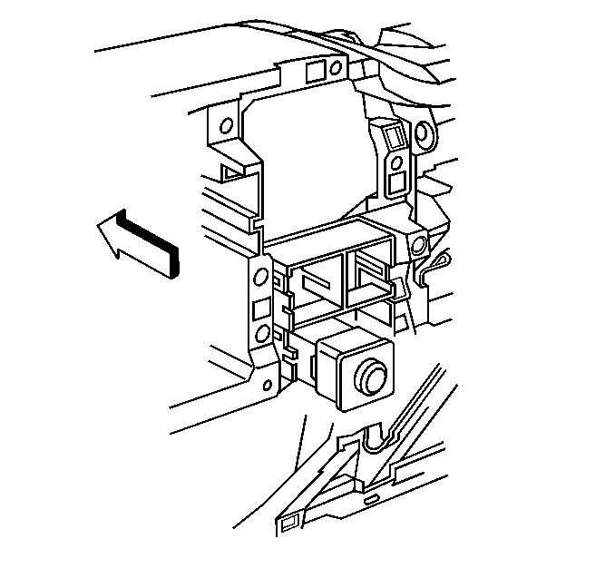
Remove the switch from the lower opening of the switch plate panel.
Disconnect the electrical connector.
Installation Procedure
Connect the electrical connector.
Install the switch into the lower opening of the switch plate panel.
Install the instrument panel trim bezel. Refer to
Instrument Panel Cluster Trim Plate Bezel Replacement
in Instrument Panel, Gages and Console.