GM Service Manual Online
For 1990-2009 cars only

Removal Procedure

Important: Do not raise the engine by the crankshaft balancer to perform this service procedure. Damage to the crankshaft balancer or the crankshaft may occur.


    Object Number: 309158  Size: SH
  1. Remove the front differential, if equipped with four wheel drive (4WD). Refer to Differential Carrier Assembly Replacement in Front Drive Axle.
  2. Remove the starter motor. Refer to Starter Motor Replacement in Engine Electrical.
  3. Remove the oil pan skid plate bolts.
  4. Remove the oil pan skid plate.

  5. Object Number: 487521  Size: SH
  6. If equipped with 4WD, remove the crossbar bolts.
  7. Remove the crossbar.

  8. Object Number: 328107  Size: SH
  9. If equipped with two wheel drive (2WD), remove the crossbar bolts.
  10. Remove the crossbar.

  11. Object Number: 750961  Size: SH
  12. Drain the engine oil. Refer to Engine Oil and Oil Filter Replacement .
  13. Remove the oil level indicator tube. Refer to Oil Level Indicator and Tube Replacement .
  14. Disconnect the oil level sensor electrical connector (2).
  15. Remove the harness clip from the positive cable clip.

  16. Object Number: 750962  Size: SH
  17. Remove the oil level sensor.

  18. Object Number: 750904  Size: SH
  19. Remove the battery cable channel bolt.
  20. Remove and reposition the battery cable channel.

  21. Object Number: 843895  Size: SH
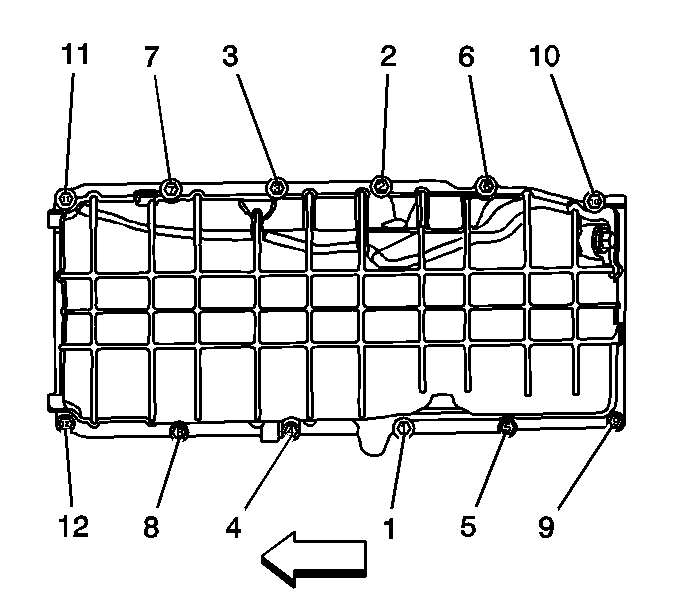
  22. Remove the oil pan bolts.

  23. Object Number: 843898  Size: SH

    Important: The oil pan gasket is reusable if not cut or damaged.

  24. Remove the oil pan and gasket.

Installation Procedure

Important: The oil pan must be installed within 5 minutes of the sealer being applied or the sealer will begin to cure, causing an inadequate seal.


    Object Number: 843899  Size: SH
  1. Apply sealant GM P/N 12346286 (Canadian P/N 10953472), or equivalent to the sides of the front (2) and rear (1) crankshaft bearing caps, on both the left and right sides (4 locations total).

  2. Object Number: 843898  Size: SH
  3. Install a NEW oil pan gasket into the oil pan groove, if required.
  4. Install the oil pan.

  5. Object Number: 843895  Size: SH
  6. Install the oil pan bolts until snug.

  7. Object Number: 843901  Size: SH

    Notice: Use the correct fastener in the correct location. Replacement fasteners must be the correct part number for that application. Fasteners requiring replacement or fasteners requiring the use of thread locking compound or sealant are identified in the service procedure. Do not use paints, lubricants, or corrosion inhibitors on fasteners or fastener joint surfaces unless specified. These coatings affect fastener torque and joint clamping force and may damage the fastener. Use the correct tightening sequence and specifications when installing fasteners in order to avoid damage to parts and systems.

  8. Tighten the oil pan bolts.
  9. Tighten

    1. Tighten the bolts in sequence a first pass to 10 N·m (89 lb in).
    2. Tighten the bolts in sequence a final pass to 25 N·m (18 lb ft).

    Object Number: 750904  Size: SH
  10. Position the battery cable channel into place.
  11. Install the battery cable channel bolt.
  12. Tighten
    Tighten the bolt to 9 N·m (80 lb in).


    Object Number: 750962  Size: SH
  13. Install the oil level sensor.
  14. Tighten
    Tighten the sensor to 20 N·m (15 lb ft).


    Object Number: 750961  Size: SH
  15. Install the harness clip to the positive cable clip.
  16. Connect the oil level sensor electrical connector (2).
  17. Install the oil level indicator tube. Refer to Oil Level Indicator and Tube Replacement .
  18. Fill the engine with oil. Refer to Engine Oil and Oil Filter Replacement .

  19. Object Number: 328107  Size: SH
  20. If equipped with 2WD, install the crossbar.
  21. Install the crossbar bolts.
  22. Tighten
    Tighten the bolts to 100 N·m (74 lb ft).


    Object Number: 487521  Size: SH
  23. If equipped with 4WD, install the crossbar.
  24. Install the crossbar bolts.
  25. Tighten
    Tighten the bolts to 100 N·m (74 lb ft).


    Object Number: 309158  Size: SH
  26. Install the oil pan skid plate.
  27. Install the oil pan skid plate bolts.
  28. Tighten
    Tighten the bolts to 20 N·m (15 lb ft).

  29. Install the starter motor. Refer to Starter Motor Replacement in Engine Electrical.
  30. Install the front differential, if equipped with 4WD. Refer to Differential Carrier Assembly Replacement in Front Drive Axle.