GM Service Manual Online
For 1990-2009 cars only
       • 
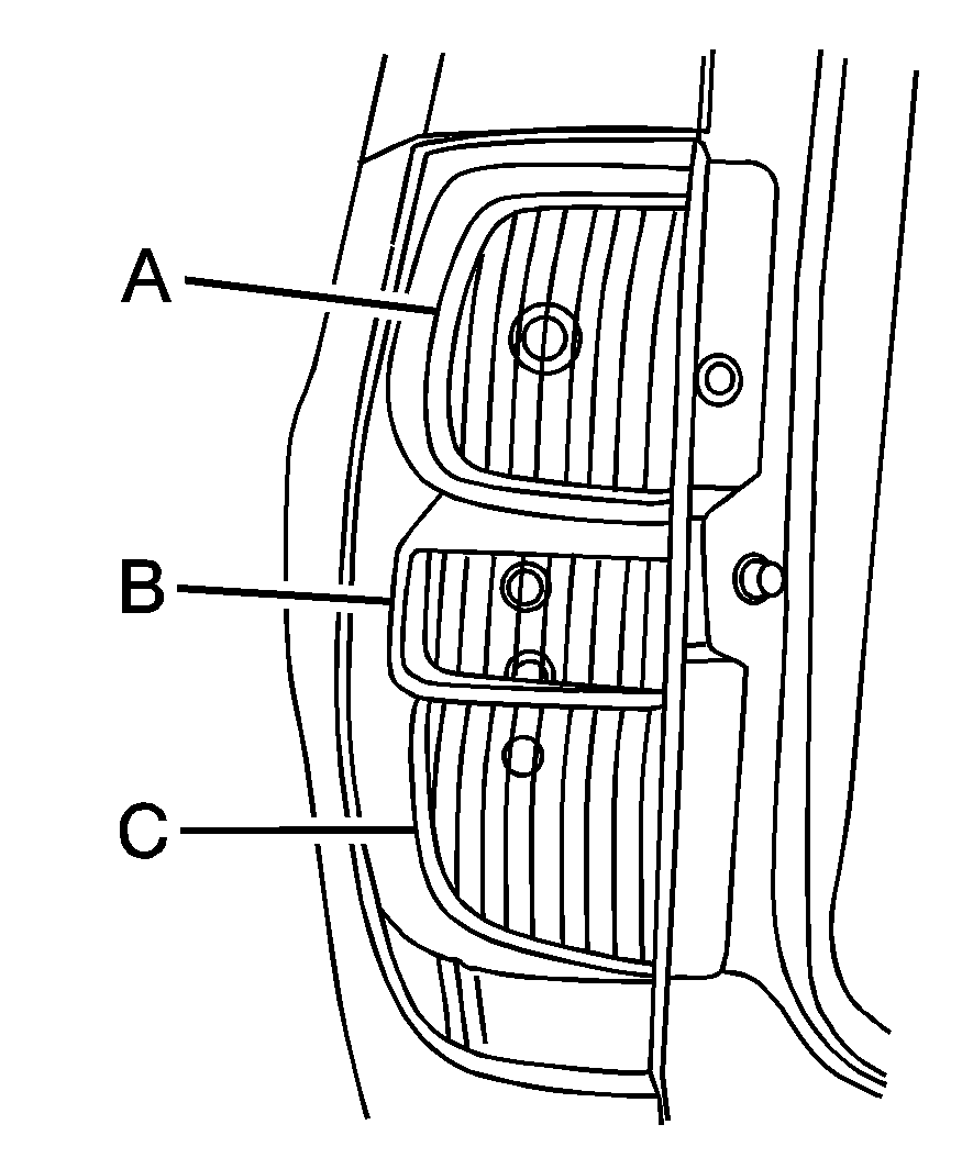
    Object Number: 1655135  Size: A3
  1. Taillamp/Stoplamp
  2.    • 
  3. Back-up Lamp
  4.    • 
  5. Turn Signal Lamp/Taillamp

To replace one of these bulbs:

  1. Open the liftgate. See Power Liftgate for more information.

  2. Object Number: 1655125  Size: A3
  3. Remove the two screws from the taillamp assembly.
  4. Pull the taillamp assembly rearward until the inner pins on the taillamp assembly are disengaged from the vehicle.
  5. Press the release tab, if bulb socket has one, and turn the bulb socket counterclockwise to remove it from the taillamp assembly.
  6. Pull the old bulb straight out from the bulb socket.
  7. Press a new bulb into the bulb socket and insert it into the taillamp assembly. Turn the bulb socket clockwise into the taillamp assembly until it clicks.
  8. Reinstall the taillamp assembly. When reinstalling, make sure to line up the pins on the taillamp assembly with the vehicle. If this is not done the taillamp assembly cannot be correctly installed.