GM Service Manual Online
For 1990-2009 cars only
Makes
🢒
Chevrolet
🢒
2000
🢒
Chevy Suburban - 4WD
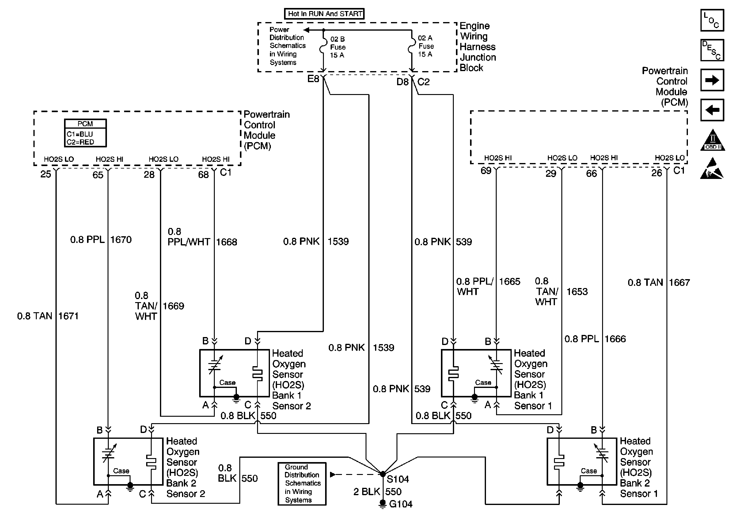
🢒 G104, H2O Sensors, O2 A B Fuses
G104, H2O Sensors, O2 A B Fuses
G104, H2O Sensors, O2 A B Fuses
Engine Controls Components
Evaporative Emission Control System Operation Description
EGR Valve, ENG 1 Fuse, EVAP Purge Valve, Vent Solenoid
AIR Fuse, AIR Pump, AIR Relay, AIR Valve
OBD II Symbol Description Notice
Handling ESD Sensitive Parts Notice
Power Distribution Schematics
Ground Distribution Schematics