GM Service Manual Online
For 1990-2009 cars only

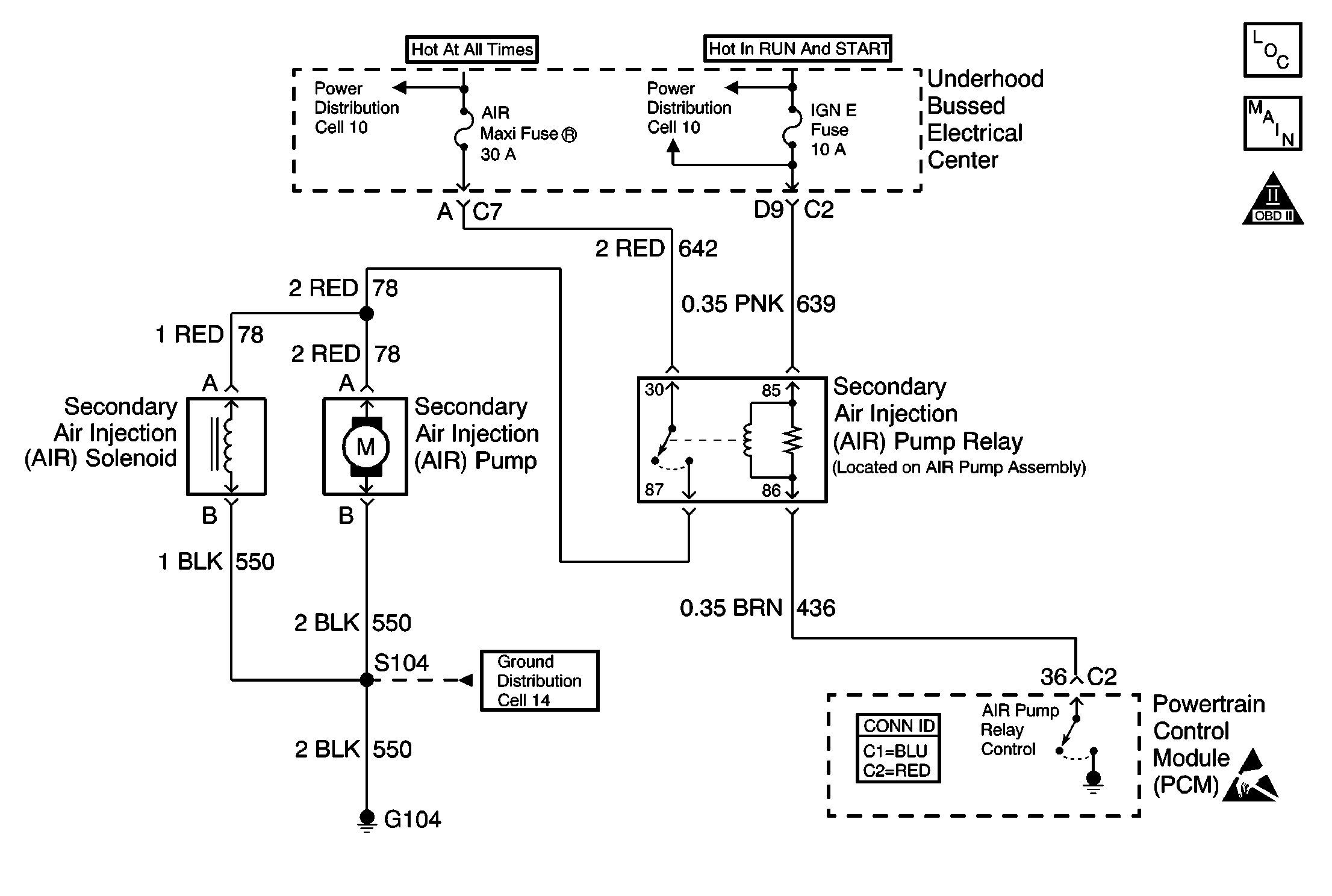
Object Number: 597750  Size: MF
Engine Controls Components
AIR Fuse, AIR Pump, AIR Relay, AIR Valve
OBD II Symbol Description Notice
Handling ESD Sensitive Parts Notice

Circuit Description

The powertrain control module (PCM) controls the relay by grounding the control circuit via an internal switch called a driver. The primary function of the driver is to supply the ground for the controlled component. Each driver has a fault line which the PCM monitors. When the PCM commands a component ON, the voltage of the control circuit should be low, near 0 volts. When the PCM commands the control circuit to a component OFF, the voltage potential of the circuit should be high, near the battery voltage. If the fault detection circuit senses a voltage other than what the PCM expects, the fault line status changes causing the DTC to set.

The relay controls the high current flow to the secondary air injection (AIR) pump and the AIR solenoid. This allows the PCM driver to only have to control the relatively low current used by the relay.

Conditions for Running the DTC

    • The engine speed is more than 400 RPM.
    • The ignition voltage is between 6 volts and 18 volts.

Conditions for Setting the DTC

    • The PCM detects that the commanded state of the driver and the actual state of the control circuit do not match.
    • All of the above conditions are present for a minimum of 5 seconds.

Action Taken When the DTC Sets

    • The PCM illuminates the malfunction indicator lamp (MIL) on the second consecutive ignition cycle that the diagnostic runs and fails.
    • The PCM records the operating conditions at the time the diagnostic fails. The first time the diagnostic fails, the PCM stores this information in the Failure Records. If the diagnostic reports a failure on the second consecutive ignition cycle, the PCM records the operating conditions at the time of the failure. The PCM writes the conditions to the Freeze Frame and updates the Failure Records.

Conditions for Clearing the MIL/DTC

    • A last test failed, or the current DTC, clears when the diagnostic runs and does not fail.
    • A history DTC clears after 40 consecutive warm-up cycles, if failures are not reported by this or any other emission related diagnostic.
    • Use a scan tool in order to clear the MIL/DTC.

Diagnostic Aids

Important: Remove any debris from the PCM connector surfaces before servicing the PCM. Inspect the PCM connector gaskets when diagnosing or replacing the PCM. Ensure that the gaskets are installed correctly. The gaskets prevent water intrusion into the PCM.

Using Freeze Frame and Failure Records data may aid in locating an intermittent condition. If you cannot duplicate the DTC, the information included in the Freeze Frame and Failure Records data can aid in determining how many miles since the DTC set. The Fail Counter and Pass Counter can also aid in determining how many ignition cycles the diagnostic reported a pass or a fail. Operate the vehicle within the same Freeze Frame conditions, such as RPM, load, vehicle speed, temperature etc., that you observed. This will isolate when the DTC failed.

For an intermittent, refer to Symptoms .

Test Description

The numbers below refer to the step numbers on the diagnostic table.

  1. Listen for an audible click when the relay operates. Command both the ON and OFF states. Repeat the commands as necessary.

  2. This test can detect a partially shorted coil which would cause an excessive current flow. Leaving the circuit energized for 2 minutes allows the coil to warm up. When warm the coil may open, and the current drops to 0, or the coil may short, and the current goes above 0.75 amp.

  3. The AIR pump relay is located on the AIR pump assembly.

  4. Identify and test the relay coil terminals in order to avoid improper diagnosis.

  5. If no trouble is found in the control circuit or the connection at the PCM, the PCM may be faulty. However, this is an extremely unlikely failure.

  6. The repair is not complete if the scan tool indicates that the diagnostic ran and failed.

Step

Action

Value(s)

Yes

No

1

Did you perform the Powertrain On-Board Diagnostic (OBD) System Check?

--

Go to Step 2

Go to Powertrain On Board Diagnostic (OBD) System Check

2

  1. Turn ON the ignition, with the engine OFF.
  2. Command the relay ON and OFF using a scan tool.

Does the relay turn ON and OFF when commanded?

--

Go to Step 3

Go to Step 5

3

  1. Turn OFF the ignition.
  2. Disconnect the PCM connector C2 located on the opposite side of the manufacturers logo. Refer to Powertrain Control Module Replacement .
  3. Install 5 amp fused jumper wire to the control circuit at the PCM harness connector.
  4. Turn ON the ignition, with the engine OFF.
  5. Important: Replace the relay if the DMM goes to 0 during the current draw test.

  6. Measure the current from the relay control circuit in the PCM harness connector to ground for 2 minutes using the DMM on 40 amp scale.

Does the current draw measure less than the specified value shown?

0.75 A

Go to Diagnostic Aids

Go to Step 4

4

  1. Turn OFF the ignition.
  2. Disconnect the AIR pump relay.
  3. Measure resistance from the relay control circuit in the PCM harness connector to ground using the DMM .

Does the DMM display infinite resistance or OL?

--

Go to Step 12

Go to Step 10

5

  1. Turn OFF the ignition.
  2. Disconnect the relay.
  3. Connect the test lamp between the AIR pump relay control circuit and the AIR pump relay ignition feed circuit, on the coil side of the relay, at the AIR pump relay harness connector.
  4. Turn ON the ignition, with the engine OFF.
  5. Command the relay ON and OFF using a scan tool.

Does the test lamp turn ON and OFF when commanded?

--

Go to Step 8

Go to Step 6

6

Probe the ignition feed circuit, on the coil side of the relay, at the AIR pump relay harness connector with the test lamp connected to ground.

Is the test lamp illuminated?

--

Go to Step 7

Go to Step 11

7

  1. Turn OFF the ignition.
  2. Reconnect the relay.
  3. Disconnect the PCM connector C2 located on the opposite side of the manufacturers logo. Refer to Powertrain Control Module Replacement .
  4. Turn ON the ignition, with the engine OFF.
  5. Momentarily probe the relay control circuit in the PCM harness connector with a fused jumper wire connected to ground. Refer to Using Fused Jumper Wires in Wiring Systems.

Does the relay turn ON when the circuit is grounded and OFF when the circuit is opened?

--

Go to Step 9

Go to Step 10

8

  1. Inspect the connections at the relay. Refer to Testing for Intermittent Conditions and Poor Connections in Wiring Systems.
  2. If you find a poor connection, repair the terminal as necessary. Refer to Connector Repairs in Wiring Systems.

Did you find and correct the condition?

--

Go to Step 14

Go to Step 12

9

  1. Inspect the connections at the PCM. Refer to Testing for Intermittent Conditions and Poor Connections in Wiring Systems.
  2. If you find a poor connection, repair the terminal as necessary. Refer to Connector Repairs in Wiring Systems.

Did you find and correct the condition?

--

Go to Step 14

Go to Step 13

10

Repair the faulty relay control circuit. Refer to Wiring Repairs in Wiring Systems.

Is the action complete?

--

Go to Step 14

--

11

Repair the faulty relay ignition feed circuit. Refer to Wiring Repairs in Wiring Systems.

Is the action complete?

--

Go to Step 14

--

12

Replace the relay. Refer to Secondary Air Injection Pump Relay Replacement .

Is the action complete?

--

Go to Step 14

--

13

Important: The replacement PCM must be programmed.

Replace the PCM. Refer to Powertrain Control Module Replacement .

Is the action complete?

--

Go to Step 14

--

14

  1. Select the Diagnostic Trouble Code (DTC) option and the Clear DTC option using the scan tool.
  2. Start the engine and idle at normal operating temperature.
  3. Select the Diagnostic Trouble Code (DTC) option and the Specific DTC option, then enter the DTC number using the scan tool.
  4. Operate the vehicle within the Conditions for Running the DTC as specified in the supporting text, if applicable.

Does the scan tool indicate that this test passed?

--

Go to Step 15

Go to Step 2

15

Select the Capture Info option and the Review Info option using the scan tool.

Does the scan tool display any DTCs that you have not diagnosed?

--

Go to the applicable DTC table

System OK