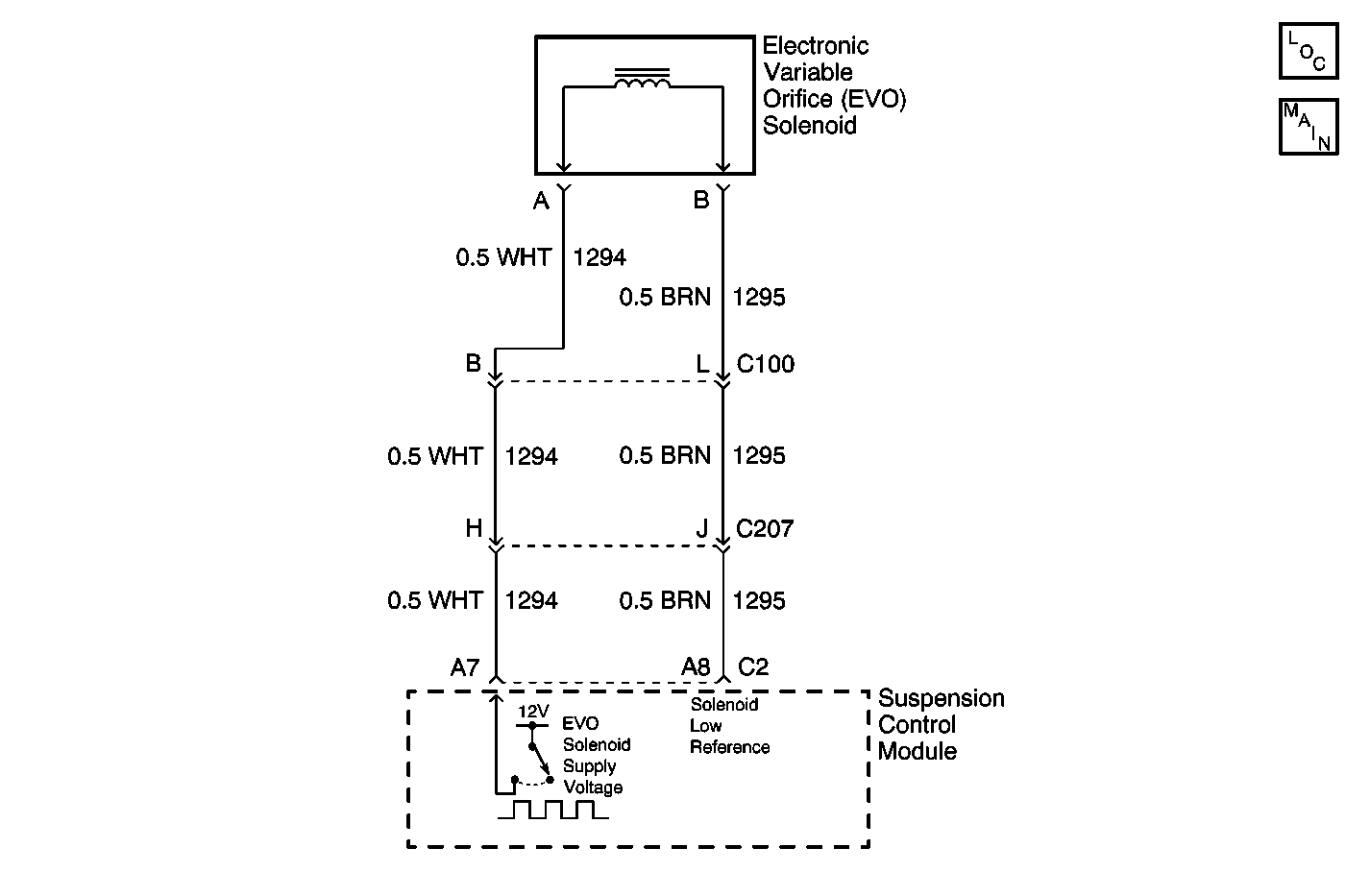
The suspension control module supplies a PWM (pulse width modulated) voltage to the Electronic Variable Orifice (EVO) solenoid as well as a low reference path. The PWM voltage is used to control the current into the solenoid which controls the size of the output orifice of the pressure output of the power steering pump. This results in a increase or decrease in steering wheel turning effort.
The suspension control module is constantly adjusting the PWM voltage and monitoring the current flow to achieve the desired PWM. The system uses inputs from VSS and the steering wheel position/speed sensor for the desired PWM output. This provides the vehicle speed related steering assist.
Vehicle speed greater than 5 MPH.
EVO solenoid command greater than 5% PWM duty cycle.
| • | Vehicle speed greater than 5 MPH. |
| • | EVO output PWM greater than 5% duty cycle and EVO feed back voltage less than battery voltage minus 4.0 volts. |
| • | DTC C0501 will be stored in memory. |
| • | The suspension control module will turn off both EVO solenoid outputs for the remainder of the ignition cycle. |
| • | A history DTC will clear after not seeing the malfunction for 100 consecutive ignition cycles. |
| • | Using a scan tool to clear the DTC. |
| • | A internal short of the electronic variable orifice (EVO) solenoid can cause this DTC to set. |
| • | Normal resistance of the EVO solenoid is from 11 to 13 ohms. |
The number(s) below refer to the step number(s) on the diagnostic table.
Command both the ON and OFF states. Repeat the commands as necessary.
Tests for short to voltage on the solenoid low reference circuit
Verifies that the suspension control module is providing ground to the electronic variable orifice solenoid.
Test for an open or short circuit.
Tests resistance of the electronic variable orifice solenoid.
Re-program the suspension control module when replacement is necessary.
Step | Action | Value(s) | Yes | No |
|---|---|---|---|---|
1 | Did you perform the RTD Diagnostic System Check? | -- | Go to Step 2 | Go to Diagnostic System Check |
Does the electronic variable orifice (EVO) solenoid turn ON and OFF with each command? | -- | Go to Diagnostic Aids | Go to Step 3 | |
Does the test lamp illuminate? | -- | Go to Step 5 | Go to Step 4 | |
Probe the solenoid low reference circuit of the electronic variable orifice (EVO) solenoid, harness side, with a test lamp that is connected to a battery positive voltage circuit. Does the test lamp illuminate? | -- | Go to Step 6 | Go to Step 5 | |
Test the solenoid low reference for an open and a short to voltage. Refer to Circuit Testing and Testing for a Short to Voltage in wiring systems. Did you find and correct the condition? | -- | Go to Step 11 | Go to Step 10 | |
Measure the resistance of the EVO solenoid. Does the resistance measure within the specified value? | 11 to 13 ohms | Go to Step 7 | Go to Step 9 | |
7 | Inspect for poor connections at the electronic variable orifice (EVO) solenoid. Refer to Testing for Intermittent Conditions and Poor Connections and Connector Repairs in Wiring Systems. Did you find and correct the condition? | -- | Go to Step 11 | Go to Step 8 |
8 | Inspect for poor connections at the harness connector of the suspension control module. Refer to Testing for Intermittent Conditions and Poor Connections and Connector Repairs in Wiring Systems. Did you find and correct the condition? | -- | Go to Step 11 | Go to Step 10 |
9 | Replace the electronic variable orifice (EVO) solenoid. Did you complete the replacement? | -- | Go to Step 11 | -- |
|
Important: Perform the set up procedure for the suspension control module when replacement is necessary. Replace the suspension control module. Refer to Electronic Suspension Control Module Replacement . Did you complete the replacement? | -- | Go to Step 11 | -- | |
11 |
Does the DTC reset? | -- | Go to Step 2 | System OK |