GM Service Manual Online
For 1990-2009 cars only

DTC P0719 Brake Switch Circuit Low Input Gas LQ4


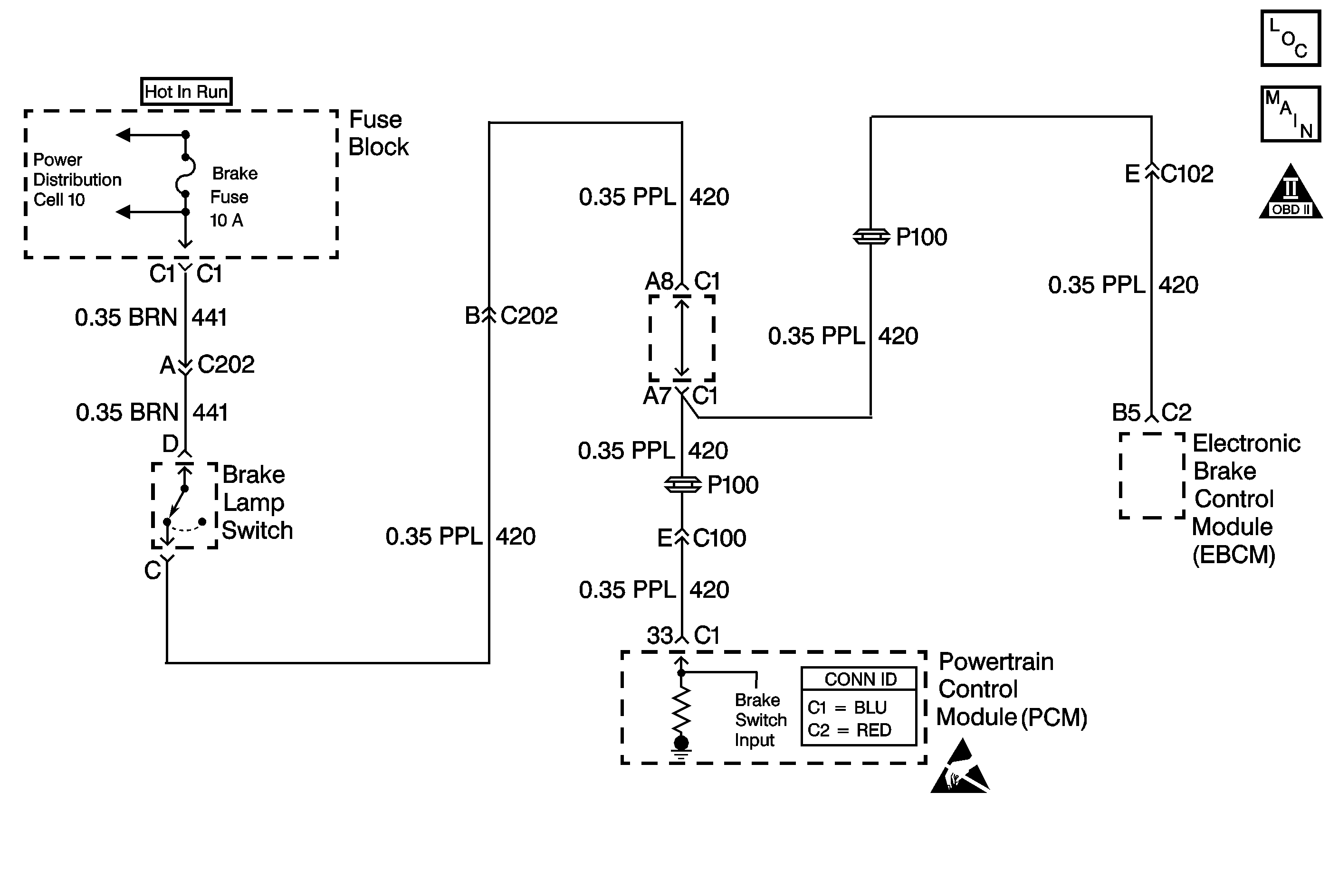
Object Number: 508744  Size: MF
Automatic Transmission Components
Automatic Transmission Controls Schematics
OBD II Symbol Description Notice
Handling ESD Sensitive Parts Notice

Circuit Description

The TCC/Stoplamp switch indicates the brake pedal status. The normally-closed TCC/Stoplamp switch supplies a B+ signal on circuit 420 to the powertrain control module (PCM). The signal voltage circuit opens when the brakes are applied.

If the PCM detects an open TCC/Stoplamp switch circuit during accelerations, then DTC P0719 sets. DTC P0719 is a type C DTC.

Conditions for Running the DTC

    • No OSS DTC P0502 or DTC P0503.
    • The following sequence of events occurs:
        1. The vehicle speed is less than 8 km/h (5 mph).
        2. Then the vehicle speed is 8-40 km/h (5-25 mph) for 3.2 seconds.
        3. Then the vehicle speed is greater than 40 km/h (25 mph) for 7 seconds.

Conditions for Setting the DTC

    • All conditions are met for 8 occurrences.
    • The PCM detects an open TCC/Stoplamp switch/circuit (0 volts) for 15 minutes.

Action Taken When the DTC Sets

    • The PCM does not illuminate the malfunction indicator lamp (MIL).
    • For TCC scheduling, the PCM disregards the brake switch state if the TP sensor is greater than 1.5% and the vehicle speed is greater than 20 MPH.
    • The PCM records the operating conditions when the Conditions for Setting the DTC are met. The PCM stores this information as Failure Records.
    • The PCM stores DTC P0719 in PCM history.

Conditions for Clearing the DTC

    • A scan tool clears the DTC from PCM history.
    • The PCM clears the DTC from PCM history if the vehicle completes 40 consecutive warm-up cycles without a non-emission-related diagnostic fault occurring.
    • The PCM cancels the DTC default actions when the fault no longer exists and the ignition switch is OFF long enough in order to power down the PCM.

Diagnostic Aids

    • First diagnose and clear any engine DTCs or TP sensor codes that are present. Then inspect for any transmission DTCs that may have reset.
    • Inspect the connectors at the PCM, the TCC Stoplamp switch and all other circuit connecting points for an intermittent condition. Refer to Testing for Intermittent Conditions and Poor Connections in Wiring Systems.
    • Inspect the circuit wiring for an intermittent condition. Refer to Testing for Electrical Intermittents in Wiring Systems.
    • Ask about the customer's driving habits and any unusual driving conditions he or she might have, such as stop and go traffic or expressway driving.
    • Inspect the brake switch for proper mounting and adjustment.
    • Inspect for the most current calibration ID and the latest bulletins.

Test Description

The numbers below refer to the step numbers on the diagnostic table.

  1. This step tests for TCC/Stoplamp switch voltage to the PCM connector.

  2. This step isolates the TCC/Stoplamp switch as a source for setting the DTC.

  3. This step tests for a short to ground in the power feed circuit (CKT 441) (ignition voltage) to the TCC/Stoplamp switch.

  4. This step tests for a short to ground in the input circuit (CKT 420), from the TCC/Stoplamp switch to the PCM.

  5. This step isolates the PCM as a source for causing the fuse to open.

DTC P0719

Step

Action

Value(s)

Yes

No

1

Did you perform the Powertrain Diagnostic System Check?

--

Go to Step 2

Go to Powertrain On Board Diagnostic (OBD) System Check

2

  1. Install a Scan Tool .
  2. Turn ON the ignition, with the engine OFF.
  3. Important: Before clearing the DTCs, use the scan tool in order to record the Failure Records. Using the Clear Info function erases the Failure Records from the PCM.

  4. Record the Failure Records.
  5. Clear the DTCs.
  6. Select the TCC Brake Switch on the Scan Tool .
  7. Do not apply the brake pedal.

Does the Scan Tool TCC/Stoplamp Switch indicate CLOSED, when the brake pedal is not applied?

--

Go to Diagnostic Aids

Go to Step 3

3

  1. Remove the brake fuse.
  2. Inspect the brake fuse for an open.
  3. Refer to General Electrical Diagnosis in Wiring Systems.

Is the fuse open?

--

Go to Step 10

Go to Step 4

4

  1. Turn OFF the ignition.
  2. Disconnect the PCM connector C1 from the PCM.
  3. Connect a 12-volt test lamp to a good ground.
  4. Using the J 35616-A connector test adapter kit and the 12-volt test lamp, probe terminal C1-33.
  5. Re-install the fuse.
  6. Turn ON the ignition, with the engine OFF.
  7. Do not apply the brake pedal.

Does the test lamp illuminate?

--

Go to Step 15

Go to Step 5

5

  1. Turn OFF the ignition.
  2. Remove the connector from the TCC/Stoplamp switch.
  3. Use the J 39200 digital multimeter (DMM) to measure B+ voltage at terminal D of the brake switch connector.
  4. Turn ON the ignition, with the engine OFF.

Does the voltage measure within the specified value?

10-13 volts

Go to Step 7

Go to Step 6

6

Important: The condition that affects this circuit may exist in other connecting branches of the circuit. Refer to Power Distribution Schematics in Wiring Systems for complete circuit distribution.

Test the power feed circuit (CKT 441) for an open.

Did you find and correct the condition?

--

Go to Step 16

--

7

  1. Turn ON the ignition, with the engine OFF.
  2. Install a fused jumper wire from terminal C to terminal D of the TCC/Stoplamp switch connector.
  3. Probe the PCM connector terminal C1-33 with the test lamp.

Does the test lamp illuminate?

--

Go to Step 9

Go to Step 8

8

Important: The condition that affects this circuit may exist in other connecting branches of the circuit. Refer to Power Distribution Schematics in Wiring Systems for complete circuit distribution.

Test the input circuit (CKT 420) for an open.

Did you find and correct the condition?

--

Go to Step 16

--

9

Replace the TCC/Stoplamp switch.

Refer to Stop Lamp Switch Replacement in Hydraulic Brakes.

Did you complete the replacement?

--

Go to Step 16

--

10

  1. Turn ON the ignition, with the engine OFF.
  2. Apply and hold the brake pedal.
  3. Install a new fuse while keeping the brake pedal applied.

Does the fuse open with the brake pedal applied?

--

Go to Step 11

Go to Step 12

11

Important: The condition that affects this circuit may exist in other connecting branches of the circuit. Refer to Power Distribution Schematics in Wiring Systems for complete circuit distribution.

Test the power feed circuit (CKT 441) for a short to ground.

Did you find and correct the condition?

--

Go to Step 16

--

12

With the key in the RUN position, release the brake pedal.

Does the fuse open when the brake pedal is released?

--

Go to Step 13

Go to Diagnostic Aids

13

  1. Disconnect the PCM connector C1 from the PCM (additional DTCs may set).
  2. Turn ON the ignition, with the engine OFF.
  3. Install a new fuse.
  4. Do not apply the brake pedal.

Does the fuse open?

--

Go to Step 14

Go to Step 15

14

Important: The condition that affects this circuit may exist in other connecting branches of the circuit. Refer to Power Distribution Schematics in Wiring Systems for complete circuit distribution.

Test the input circuit (CKT 420) for a short to ground.

Did you find and correct the condition?

--

Go to Step 16

--

15

Replace the PCM.

Refer to Powertrain Control Module Replacement in Engine Controls.

Did you complete the replacement?

--

Go to Step 16

--

16

Perform the following procedure in order to verify the repair:

  1. Select DTC.
  2. Select Clear Info.
  3. Operate the vehicle under the following conditions:
  4. • Turn ON the ignition, with the engine OFF.
    • The brake pedal is not applied.
    • Select TCC Brake Switch on the Scan Tool .

Does the TCC Brake Switch indicate CLOSED when the brake pedal is not applied, then indicate OPEN when the brake pedal is applied?

--

System OK

Go to Step 1